RS-1_RS-1-XL_RS-1R-Rev16 - 第144页
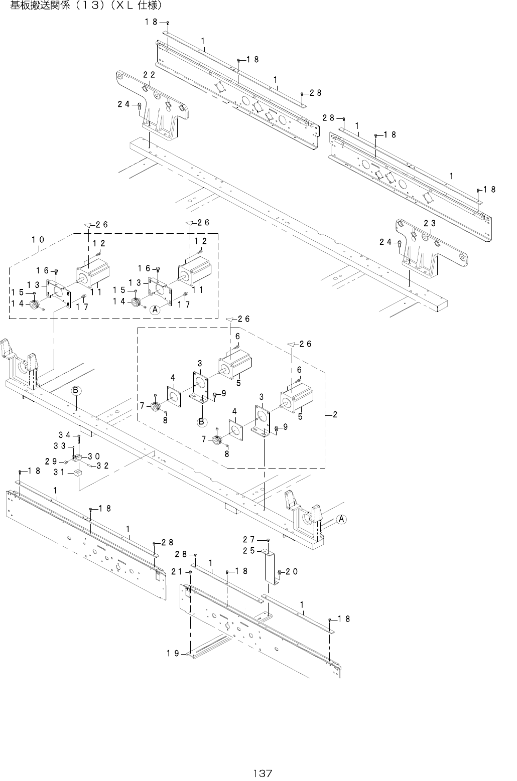
- - 69. PWBCONVE YORCOMPONENTS(13 )(TYPEXL)

- -
REF.NO NOTE PARTNO DESCRIPTION Qty
1 402-15464 SCREW_SHAFT_ASM_XL 1
2 402-15090 TIMING_BELT_XL (1)
3 SB-1080002-00 SIDEBEARING (4)
4 400-97730 SCREW_SHAFT_XL (2)
5 SM-8040602-TP SCREWM4X0.7L=6 (4)
6 WP-0330516-SC WASHER3.3X8X0.5 (4)
7 SM-6030602-TN SCREWM3X6 (4)
8 E2141-721-000 STOPPERCOLLAR (2)
9 SM-8040402-TP SCREWM4X0.7L=4 (4)
10 E4085-725-000 PULLEYA(E) (2)
11 WP-0320500-SF WASHER3.2X7X0.5 (8)
12 SL-6041692-TN SCREWM4L=16 (8)
13 402-15465 DRIVESHAFTASM_XL 1
14 401-07806 WA_DRIVE_BELT (2)
15 400-98132 DRIVE_SHAFT_C_XL (4)
16 WP-0320500-SF WASHER3.2X7X0.5 (16)
17 WP-0330516-SC WASHER3.3X8X0.5 (8)
18 SM-6030602-TN SCREWM3X6 (8)
19 E2141-721-000 STOPPERCOLLAR (4)
20 400-46033 DRIVEBELTS(6) (2)
21 400-00849 DRIVEPULLEYFASM (4)
22 SL-6031642-TN SCREW (3)
23 400-00850 DRIVEPULLEYF (1)
24 SM-8040602-TP SCREWM4X0.7L=6 (2)
25 400-00851 MOTORPULLEYB (1)
26 SB-1080002-00 SIDEBEARING (8)
27 SM-8040402-TP SCREWM4X0.7L=4 (8)

- -
69.PWBCONVEYORCOMPONENTS(13)(TYPEXL)

- -
REF.NO NOTE PARTNO DESCRIPTION Qty
1 402-15079 PWB_GUIDE_U_XL 8
2 401-83561 CONVEYOR_MOTOR_C_ASM 1
3 400-01009 MOTORBRAKETC(L) (2)
4 400-00869 MOTORADJUSTPLATE (2)
5 401-58136 2PHASESTEPPINGMOTOR (2)
6 SL-6041642-TN SCREW (8)
7 400-00870 MOTORPULLEYC (2)
8 SM-8030602-TP SCREWM3X0.5L=6 (4)
9 SL-6051292-TN SCREWM5L=12 (4)
10 401-83562 CONVEYOR_MOTOR_LR_ASM 1
11 401-58136 2PHASESTEPPINGMOTOR (2)
12 SL-6041242-TN BOLT (8)
13 400-46034 MOTORBRACKETS(6) (2)
14 400-00870 MOTORPULLEYC (2)
15 SM-8030602-TP SCREWM3X0.5L=6 (4)
16 SL-6051492-TN SCREWM5L=14 (2)
17 SL-6051092-TN SCREWM5L=10 (8)
18 SL-6031092-TN SCREWM3L=10 20
19
#01
401-83037 STOPPER_BASE 1
20
#01
SL-6051092-TN SCREWM5L=10 2
21
#01
SL-6040892-TN SCREWM4L=8 2
22 402-15071 RAIL_STAND_RL_XL_PROCESSING 1
23 402-15072 RAIL_STAND_RR_XL_PROCESSING 1
24 SL-6052092-TN SCREWM5L=20 4
25
#01
402-15080 STOPPER_BASE_SUPPORT_XL 1
26 CM-3003000-02 LABEL2(25) 4
27
#01
SL-4040891-SC SCREWM4X8 2
28 SL-4031091-SC SCREWM3L=10 4
29 401-86607 UPPER_EDGE_SUPPORT_ROLLER 1
30 401-86608 ROLLER_BASE 1
31 401-86609 SPACER_F 1
32 401-93605 PARALLEL_PIN_D4X16 1
33 SM-8030302-TP SCREWM3X0.5L=3 2
34 SM-6043002-TN SCREW 2