RS-1_RS-1-XL_RS-1R-Rev16 - 第33页
- - REF.NO NOTE PARTNO DESCR IPTION Qty 1 402-18339 DUCT_ASSY 1 2 400-32368 DUCT40_60_125 (1 ) 3 SL-4040891-SC SCREWM4X8 (2) 4 SL-4040891-SC SCREWM4X8 (26) 5 400-94479 DUCT30_60_200 (13 ) 6 401-835…

- -
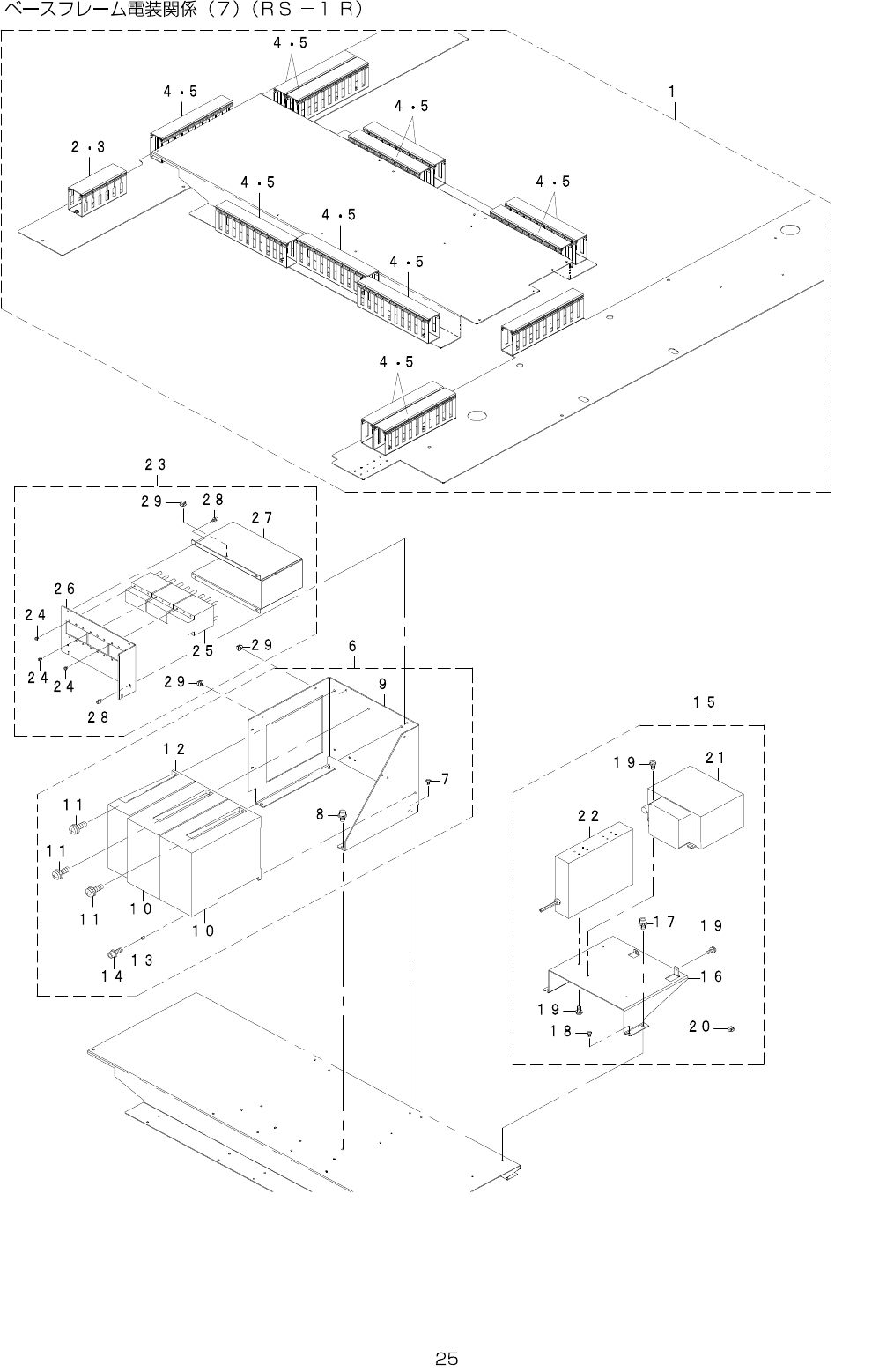
13.BASEFRAMEELECTRICAPPARATUSCOMPONENTS(7)(RS-1R)

- -
REF.NO NOTE PARTNO DESCRIPTION Qty
1 402-18339 DUCT_ASSY 1
2 400-32368 DUCT40_60_125 (1)
3 SL-4040891-SC SCREWM4X8 (2)
4 SL-4040891-SC SCREWM4X8 (26)
5 400-94479 DUCT30_60_200 (13)
6 401-83542 XY_DRIVER_UNIT 1
7 SD-0640246-SP SHOULDERSCREWD=6.35H=2.4 (2)
8 SL-6040892-TN SCREWM4L=8 (2)
9 401-83491 DRIVER_BR (1)
10 401-29654 YAXISDRIVER (2)
11 SL-4051691-SC SCREWM5L=16 (3)
12 401-29652 XAXISDRIVER (1)
13 401-83517 DRIVER_COLLAR (6)
14 SL-6041292-TN SCREWM4L=12 (6)
15 401-83541 ATX_UNIT 1
16 401-95246 ATX_BRACKET (1)
17 SL-6040892-TN SCREWM4L=8 (2)
18 E1038-871-000 PLATENLOCKCAMSCREW (2)
19 SL-4030891-SC SCREWM3L=8 (6)
20 HX-0070600-0A MOUNTBASE (2)
21 EZ-1468979-11 POWER(ENSP-300P-S20-11S) (1)
22 EZ-1756647-11 BATTERYPACK(BS06A-H24/2.5L) (1)
23
#01
401-87821 XY_CP_UNIT_EN 1
24 SL-4030691-SC SCREWM3L=6 (18)
25 401-88160 CNA5-X/YL/YRCNP1CABLEASM (1)
26 401-87799 XY_CP_BRACKET_EN (1)
27 401-82988 XY_CP_COVER_EN (1)
28 SL-6040892-TN SCREWM4L=8 (7)
29 HX-0070600-0A MOUNTBASE (3)

- -
14.BASEFRAMEELECTRICAPPARATUSCOMPONENTS(8)(RS-1R)