部品手册1N7203A389B - 第11页
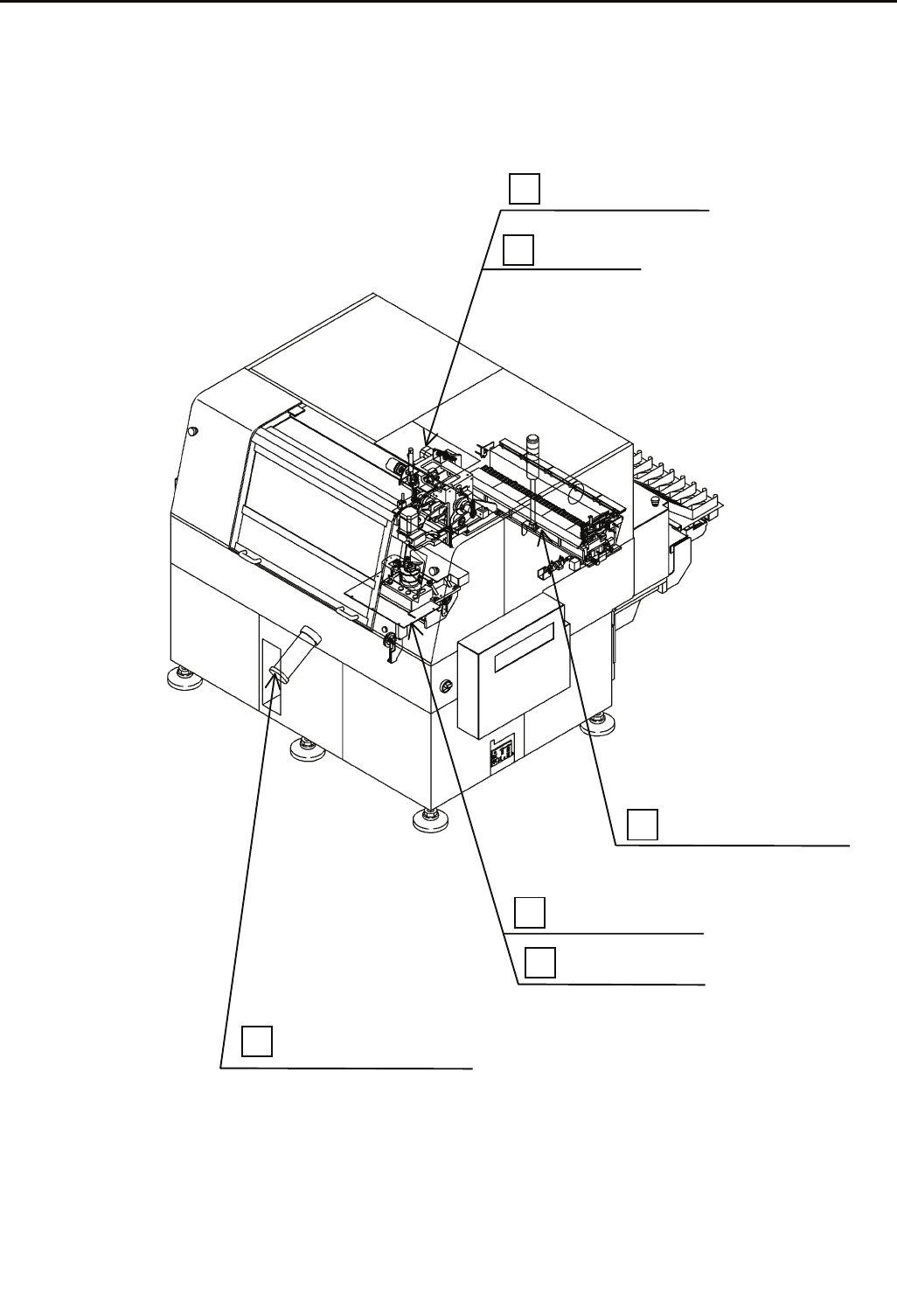
RL132( NM - EJR5A / EJR6A ) 全 体 図 U N I T L A Y O U T [ 標準仕様 STANDARD EQ UIPMENT ] FZN7203A389B00-1 部品ボックス部 PARTS BO X SECT. 18 ローダ・アンローダ部 LOADER & UNLO ADER SEC T. 5 X-Yテーブル部 X -Y T ABLE SECT . 4 プリント基板ポジショ ナ部 P.C.B…

RL132(
NM
-
EJR5A
/
EJR6A
) 全体図 UNIT LAYOUT
[
標準仕様
STANDARD EQUIPMENT
]
FZN7203A389B00-1
部品ボックス部
PARTS BOX SECT.
18
ローダ・アンローダ部
LOADER & UNLOADER SECT.
5
X-Yテーブル部
X
-Y TABLE SECT.
4
プリント基板ポジショナ部
P.C.B. POSITIONER SECT.
15
プリント基板搬送部
P.C.B. TRANSFER SECT.
14
本体部
MAIN BODY SECT.
1
シャッタカバー部
SHUTTER COVER SECT.
13
表示ラベル部
INDICATION LABEL SECT.
22
部品搬送部
PARTS TRANSFER SECT.
19
天板部
UPPER PLATE SECT.
16

RL132(
NM
-
EJR5A
/
EJR6A
) 全体図 UNIT LAYOUT
[
標準仕様
STANDARD EQUIPMENT
]
挿入部
INSERT SECT.
8
アンビル上部
UPPER ANVIL SECT.
11
部品供給部
FEEDER CARRIAGE SECT.
17
挿入ヘッド部
INSERTION HEAD SECT.
7
空圧制御部
PNEUMATIC SYSTEM SECT.
1
下部アンビル部
LOWER ANVIL SECT.
10
FZN7203A389B00-2