部品手册1N7203A389B - 第137页

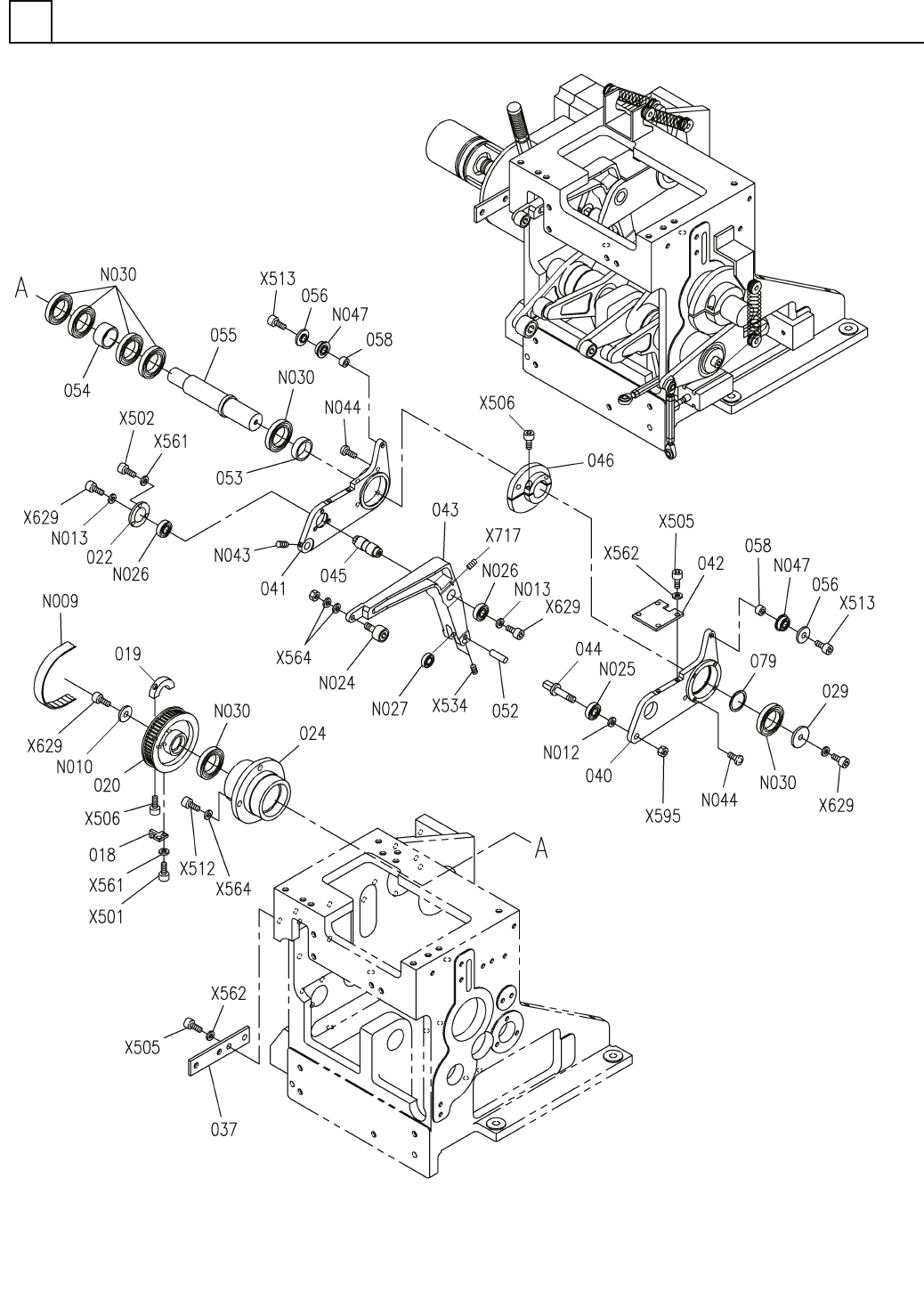
PART No. イラスト No. REF No. PAR T NAME REMARKS Q'TY 7 挿入ヘット ゙部(挿入 動力部2) INSERTION H EAD SECT. (INSERTION P OWER SECT. -2) 部 品 名 品 番 個数 備 考 R 1 R 2 1 018 X02G45107 PLATE フ ゚レート 1 019 X02G45109 NUT ナット 1 020 X02G45110 P…

100%1 / 566
挿入ヘッド部(挿入動力部2)
INSERTION HEAD SECT.(INSERTION POWER SECT.-2)
7
FN610129985AA_05-2
M105
PART No.
イラスト
No.
REF
No.
   
          PART NAME
    REMARKS 
Q'TY
7
挿入ヘッド部(挿入動力部2)
INSERTION HEAD SECT.(INSERTION POWER SECT.-2)
部 品 品  番 個数
備 考
R
1
R
2
1018 X02G45107
PLATE
゚レート
1
019 X02G45109
NUT ナット
1
020 X02G45110
PULLEY(TIMING) プーリー(タイミング)
1022 X02G45116
PLATE
゙アリングオサエ
1024 N210158955AA
FLANGE フランシ
1
029 X02G45126
WASHER ワッシャ
1
037 X02G45138
PLATE プレート
1040 N210157145AA
LEVER レハ
゙ー
1041 N210157146AA
LEVER レハ
゙ー
1
042 X01L45001
PLATE プレート
1043 N210084985AA
LEVER レバー
1044 X01L4500501
PIN
゚ン
1
045 X01L45006
SHAFT シャフト
1
046 N210157198AA
CAM カム
1052 X01A45037
PIN ピン
1053 N210157197AA
COLLAR カラー
1
054 N210158956AA
COLLAR カラー
1
055 X01A45043
PIN シテンピン
2056 N210048696AA
WASHER ワッシャ
2058 N210084980AA
COLLAR カラ
-
1
079 N210157196AA
COLLAR カラー
360-EV5GT-15
1
N009
N510027682AA
BELT(TIMING) ベルト(タイミング)
87WASMH25-6
1
N010
N510034997AA
WASHER ワッシャ
87FWSSM-D16.0-V8.0-T2
1
N012
N510033690AA
WASHER ワッシャ
87FWSSM-D14.0-V6.0-T3
2
N013
N510035006AA
WASHER ワッシャ
CFN6R-A
1
N024
N531CFN6RA
CAM FOLLOWER カムフォロア
NART8R-940061
1
N025
N531NART-019
ROLLER FOLLOWER ローラフォロア
6901ZZ
2
N026
KXF00MLAA00
BEARING ベアリング
NART6R-040025
1
N027
N531NART-033
CAM FOLLOWER カムフォロア
6005ZZ
6
N030
KXF00K8AA00
BEARING ベアリング
M4X5-45H A2J (Trivale
1
N043
N510018372AA
HEX. SOCKET SET SCREW ロッカクアナツキトメネシ
M4X6-10.9 A2J (Trival
8
N044
N510017534AA
HEX. SOCKET BUTTON HEAD BOL ロッカクアナツキボタンボルト
F696ZZIMC3PS2S
2
N047
N510020363AA
BEARING ベアリング
M3X5-10.9 A2J (Trival
2
X501
N510017333AA
HEX. SOCKET HEAD CAP BOLT ロッカクアナツキボルト
M3X8-10.9 A2J (Trival
3
X502
N510017341AA
HEX. SOCKET HEAD CAP BOLT ロッカクアナツキホ
゙ルト
M4X10-10.9 A2J (Triva
6
X505
N510017344AA
HEX. SOCKET HEAD CAP BOLT ロッカクアナツキボルト
M4X16-10.9 A2J (Triva
4
X506
N510017351AA
HEX. SOCKET HEAD CAP BOLT ロッカクアナツキボルト
M6X16-10.9 A2J (Triva
4
X512
N510017433AA
HEX. SOCKET HEAD CAP BOLT ロッカクアナツキホ
゙ルト
M6X20-10.9 A2J (Triva
2
X513
N510017435AA
HEX. SOCKET HEAD CAP BOLT ロッカクアナツキホ
゙ルト
M4X8-45H A2J (Trivale
2
X534
N510018375AA
HEX. SOCKET SET SCREW ロッカクアナツキトメネジ
3 10H A2J (Trivalent)
5
X561
N510018494AA
ROUND PLAIN WASHER ミガキマルヒラザガネ
4 10H A2J (Trivalent)
6
X562
N510018497AA
ROUND PLAIN WASHER ミガ
キマルヒラザガネ
6 10H A2J (Trivalent)
6
X564
N510018501AA
ROUND PLAIN WASHER ミガキマルヒラザガネ
M8-6H-4T A2J (Trivale
1
X595
N510017877AA
HEXAGON NUT ロッカクナット
M6X12-10.9 A2J (Triva
4
X629
N510017428AA
HEX. SOCKET HEAD CAP BOLT ロッカクアナツキボルト
M5X8-45H A2J (Trivale
1
X717
N510018384AA
HEX. SOCKET SET SCREW ロッカクアナツキトメネシ
M106
FN610129985AA_05-2
挿入ヘッド部(挿入動力部3)
INSERTION HEAD SECT.(INSERTION POWER SECT.-3)
7
FN610129985AA_05-3
M107