部品手册1N7203A389B - 第138页
挿入ヘット ゙部(挿入 動力部3) INSERTION H EAD SECT. (INSERTION P OWER SECT. -3) 7 FN610129985AA_05-3 M107

PART No.
イラスト
No.
REF
No.
PART NAME
REMARKS
Q'TY
7
挿入ヘッド部(挿入動力部2)
INSERTION HEAD SECT.(INSERTION POWER SECT.-2)
部 品 名 品 番 個数
備 考
R
1
R
2
1018 X02G45107
PLATE フ
゚レート
1
019 X02G45109
NUT ナット
1
020 X02G45110
PULLEY(TIMING) プーリー(タイミング)
1022 X02G45116
PLATE ヘ
゙アリングオサエ
1024 N210158955AA
FLANGE フランシ
゙
1
029 X02G45126
WASHER ワッシャ
1
037 X02G45138
PLATE プレート
1040 N210157145AA
LEVER レハ
゙ー
1041 N210157146AA
LEVER レハ
゙ー
1
042 X01L45001
PLATE プレート
1043 N210084985AA
LEVER レバー
1044 X01L4500501
PIN ヒ
゚ン
1
045 X01L45006
SHAFT シャフト
1
046 N210157198AA
CAM カム
1052 X01A45037
PIN ピン
1053 N210157197AA
COLLAR カラー
1
054 N210158956AA
COLLAR カラー
1
055 X01A45043
PIN シテンピン
2056 N210048696AA
WASHER ワッシャ
2058 N210084980AA
COLLAR カラ
-
1
079 N210157196AA
COLLAR カラー
360-EV5GT-15
1
N009
N510027682AA
BELT(TIMING) ベルト(タイミング)
87WASMH25-6
1
N010
N510034997AA
WASHER ワッシャ
87FWSSM-D16.0-V8.0-T2
1
N012
N510033690AA
WASHER ワッシャ
87FWSSM-D14.0-V6.0-T3
2
N013
N510035006AA
WASHER ワッシャ
CFN6R-A
1
N024
N531CFN6RA
CAM FOLLOWER カムフォロア
NART8R-940061
1
N025
N531NART-019
ROLLER FOLLOWER ローラフォロア
6901ZZ
2
N026
KXF00MLAA00
BEARING ベアリング
NART6R-040025
1
N027
N531NART-033
CAM FOLLOWER カムフォロア
6005ZZ
6
N030
KXF00K8AA00
BEARING ベアリング
M4X5-45H A2J (Trivale
1
N043
N510018372AA
HEX. SOCKET SET SCREW ロッカクアナツキトメネシ
゙
M4X6-10.9 A2J (Trival
8
N044
N510017534AA
HEX. SOCKET BUTTON HEAD BOL ロッカクアナツキボタンボルト
F696ZZIMC3PS2S
2
N047
N510020363AA
BEARING ベアリング
M3X5-10.9 A2J (Trival
2
X501
N510017333AA
HEX. SOCKET HEAD CAP BOLT ロッカクアナツキボルト
M3X8-10.9 A2J (Trival
3
X502
N510017341AA
HEX. SOCKET HEAD CAP BOLT ロッカクアナツキホ
゙ルト
M4X10-10.9 A2J (Triva
6
X505
N510017344AA
HEX. SOCKET HEAD CAP BOLT ロッカクアナツキボルト
M4X16-10.9 A2J (Triva
4
X506
N510017351AA
HEX. SOCKET HEAD CAP BOLT ロッカクアナツキボルト
M6X16-10.9 A2J (Triva
4
X512
N510017433AA
HEX. SOCKET HEAD CAP BOLT ロッカクアナツキホ
゙ルト
M6X20-10.9 A2J (Triva
2
X513
N510017435AA
HEX. SOCKET HEAD CAP BOLT ロッカクアナツキホ
゙ルト
M4X8-45H A2J (Trivale
2
X534
N510018375AA
HEX. SOCKET SET SCREW ロッカクアナツキトメネジ
3 10H A2J (Trivalent)
5
X561
N510018494AA
ROUND PLAIN WASHER ミガキマルヒラザガネ
4 10H A2J (Trivalent)
6
X562
N510018497AA
ROUND PLAIN WASHER ミガ
キマルヒラザガネ
6 10H A2J (Trivalent)
6
X564
N510018501AA
ROUND PLAIN WASHER ミガキマルヒラザガネ
M8-6H-4T A2J (Trivale
1
X595
N510017877AA
HEXAGON NUT ロッカクナット
M6X12-10.9 A2J (Triva
4
X629
N510017428AA
HEX. SOCKET HEAD CAP BOLT ロッカクアナツキボルト
M5X8-45H A2J (Trivale
1
X717
N510018384AA
HEX. SOCKET SET SCREW ロッカクアナツキトメネシ
゙
M106
FN610129985AA_05-2

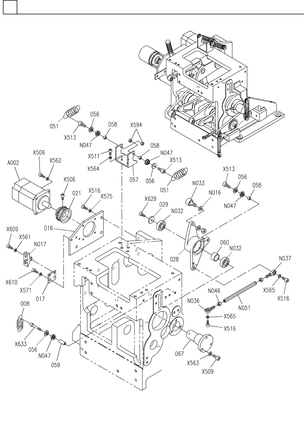
挿入ヘッド部(挿入動力部3)
INSERTION HEAD SECT.(INSERTION POWER SECT.-3)
7
FN610129985AA_05-3
M107

PART No.
イラスト
No.
REF
No.
PART NAME
REMARKS
Q'TY
7
挿入ヘッド部(挿入動力部3)
INSERTION HEAD SECT.(INSERTION POWER SECT.-3)
部 品 名 品 番 個数
備 考
R
1
R
2
MSMD042PJA S
1
A002
N610074303AA
MOTOR モータ
1
008 N210145709AA
SPRING バネ
1
016 N210084989AB
PLATE プレート
1017 X02G45106
BRACKET(SENSOR) ブ
ラケット(センサ)
1021 X02G45111
PULLEY(TIMING) プーリー(
タイミング)
1
028 N210092175AC
LEVER レバー
1
029 X02G45126
WASHER ワッシャ
2051 N210092183AA
SPRING スフ
゚リング
4056 N210048696AA
WASHER ワッシャ
1
057 N210092184AA
BRACKET ブラケット
3058 N210084980AA
COLLAR カラ-
1059 N210084981AA
COLLAR カラー
1
060 X01A45069
COLLAR カラー
1
067 X01A45090
PIN シテンピン
87FWSSM-D15.0-V8.0-T3
1
N016
N510038169AA
WASHER ワッシャ
EE-SX672
1
N017
KXF01YHAA00
SENSOR センサ
6905ZZ
2
N032
KXF06P1AA00
BEARING ベアリング
CFN8R-A
1
N033
N531CFN8RA
CAM FOLLOWER カムフォロア
P0S8L
1
N036
N534P0S8L
ROD END ロッドエンド
POS8
1
N037
N534P0S8
ROD END ロット
゙エンド
M8,1-TYPE,STEEL,Z.C.T
1
N046
N510018953AA
HEXAGON NUT ロッカクナット
F696ZZIMC3PS2S
4
N047
N510020363AA
BEARING ベアリング
87LBMFN8-130
1
N051
N510038167AA
ROD ロット
゙
M4X16-10.9 A2J (Triva
6
X506
N510017351AA
HEX. SOCKET HEAD CAP BOLT ロッカクアナツキホ
゙ルト
M5X16-10.9 A2J (Triva
3
X509
N510017395AA
HEX. SOCKET HEAD CAP BOLT ロッカクアナツキボルト
M6X10-10.9 A2J (Triva
3
X511
N510017424AA
HEX. SOCKET HEAD CAP BOLT ロッカクアナツキボルト
M6X20-10.9 A2J (Triva
3
X513
N510017435AA
HEX. SOCKET HEAD CAP BOLT ロッカクアナツキホ
゙ルト
M8X20-10.9 A2J (Triva
5
X516
N510017472AA
HEX. SOCKET HEAD CAP BOLT ロッカクアナツキボルト
3 10H A2J (Trivalent)
2
X561
N510018494AA
ROUND PLAIN WASHER ミガキマルヒラザガネ
4 10H A2J (Trivalent)
4
X562
N510018497AA
ROUND PLAIN WASHER ミガキマルヒラザガネ
5 10H A2J (Trivalent)
3
X563
N510018499AA
ROUND PLAIN WASHER ミガ
キマルヒラザガネ
6 10H A2J (Trivalent)
3
X564
N510018501AA
ROUND PLAIN WASHER ミガキマルヒラザガネ
8 10H A2J (Trivalent)
8
X565
N510018503AA
WASHER ヒラザガネ
M3
2
X571
N510020098AA
WASHER ザガネ
Thick washer for M8
3
X575
N510020102AA
WASHER ザ
ガネ
M6-6H-4T A2J (Trivale
2
X594
N510017867AA
HEXAGON NUT ロッカクナット
M3X6-10.9 A2J (Trival
2
X609
N510017337AA
HEX. SOCKET HEAD CAP BOLT ロッカクアナツキボルト
M3X10-10.9 A2J (Triva
2
X610
N510017305AA
HEX. SOCKET HEAD CAP BOLT ロッカクアナツキホ
゙ルト
M6X12-10.9 A2J (Triva
1
X629
N510017428AA
HEX. SOCKET HEAD CAP BOLT ロッカクアナツキホ
゙ルト
M6X45-10.9 A2J (Triva
1
X633
N510017444AA
HEX. SOCKET HEAD CAP BOLT ロッカクアナツキボルト
M108
FN610129985AA_05-3