部品手册1N7203A389B - 第141页
PART No. イラスト No. REF No. PAR T NAME REMARKS Q'TY 7 挿入ヘット ゙部(挿入 動力部4) INSERTION H EAD SECT. (INSERTION P OWER SECT. -4) 部 品 名 品 番 個数 備 考 R 1 R 2 1 049 N210092181AA SPRING スフ ゚リング 1 056 N210048696AA WASHER ワッシャ 1 05…

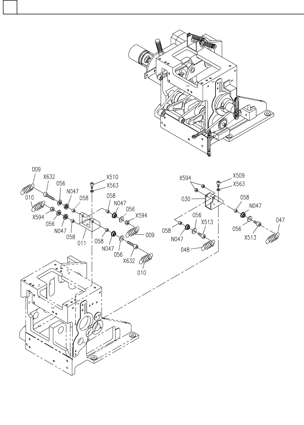
挿入ヘッド部(挿入動力部4)
INSERTION HEAD SECT.(INSERTION POWER SECT.-4)
7
FN610129985AA_05-4
M109

PART No.
イラスト
No.
REF
No.
PART NAME
REMARKS
Q'TY
7
挿入ヘッド部(挿入動力部4)
INSERTION HEAD SECT.(INSERTION POWER SECT.-4)
部 品 名 品 番 個数
備 考
R
1
R
2
1049 N210092181AA
SPRING スフ
゚リング
1
056 N210048696AA
WASHER ワッシャ
1
058 N210084980AA
COLLAR カラ-
1068 X01A45104
BRACKET カナク
゙
1069 X01A45105
BRACKET(CYLINDER) ブラケット
(シリンダ)
1
072 X01A45113
BRACKET カナグ
1
073 N210092186AA
BRACKET ブラケット
CDG1BN25-25-H7A1S
1
N035
N401CDG1-C49
CYLINDER シリンタ
゙
CDU20-40D
1
N038
N401CDU2040D
CYLINDER シリンタ
゙
F696ZZIMC3PS2S
1
N047
N510020363AA
BEARING ベアリング
AS1201F-M5-06
2
N057
KXF00YNAA00
SPEED CONTROLLER スピードコントローラ
AS2201F-01-06S
2
N058
KXF00ZCAA00
SPEED CONTROLLER スピ
ードコントローラ
M5X12-10.9 A2J (Triva
2
X508
N510017390AA
HEX. SOCKET HEAD CAP BOLT ロッカクアナツキボルト
M5X16-10.9 A2J (Triva
4
X509
N510017395AA
HEX. SOCKET HEAD CAP BOLT ロッカクアナツキボルト
M6X20-10.9 A2J (Triva
1
X513
N510017435AA
HEX. SOCKET HEAD CAP BOLT ロッカクアナツキボルト
M8X25-10.9 A2J (Triva
2
X517
N510017473AA
HEX. SOCKET HEAD CAP BOLT ロッカクアナツキホ
゙ルト
5 10H A2J (Trivalent)
8
X563
N510018499AA
ROUND PLAIN WASHER ミガキマルヒラザガネ
Thick washer for M8
2
X575
N510020102AA
WASHER ザガネ
M6-6H-4T A2J (Trivale
2
X594
N510017867AA
HEXAGON NUT ロッカクナット
M5X50-10.9 A2J (Triva
2
X628
N510017409AA
HEX. SOCKET HEAD CAP BOLT ロッカクアナツキホ
゙ルト
M6X30-10.9 A2J (Triva
1
X630
N510017438AA
HEX. SOCKET HEAD CAP BOLT ロッカクアナツキボルト
D-H7A1
1
V 1 N401DH7A1
SWITCH スイッチ
M110
FN610129985AA_05-4

挿入ヘッド部(挿入動力部5)
INSERTION HEAD SECT.(INSERTION POWER SECT.-5)
7
FN610129985AA_05-5
M111