部品手册1N7203A389B - 第173页
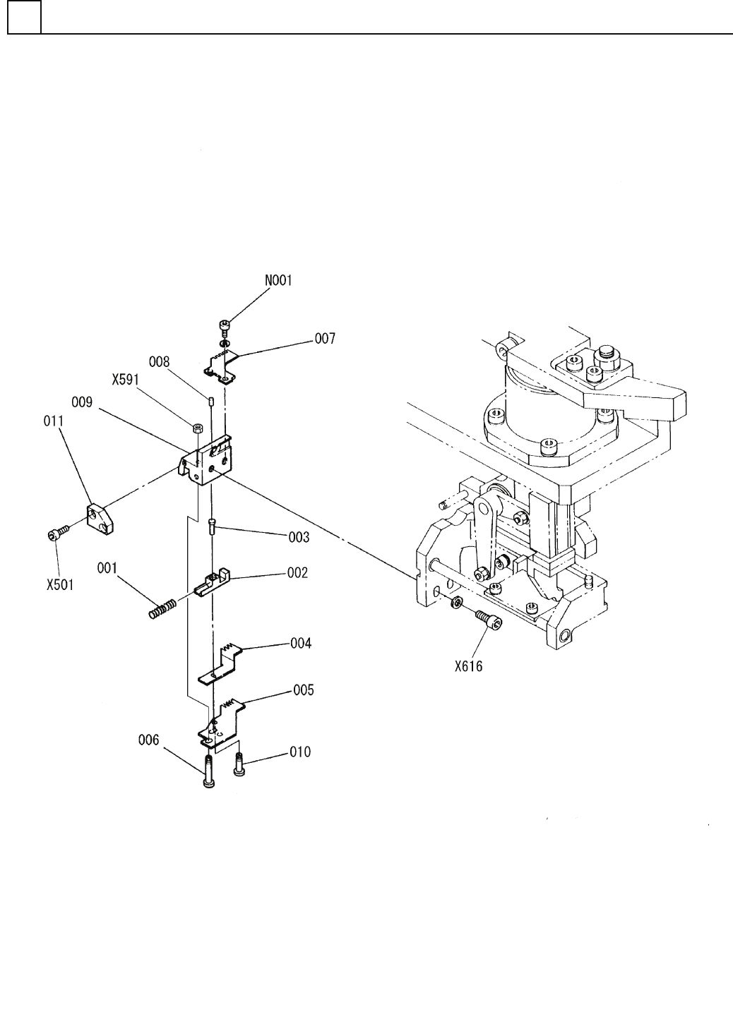
PART No. イラスト No. REF No. PAR T NAME REMARKS Q'TY 8 挿入部 (移シ替エチャック 部)(P=7 .5mm)(3P) INSERT SECT.(TRANSFE R CHUCK S ECT.)(P=7.5mm )(3P) 部 品 名 品 番 個数 備 考 R 1 R 2 1 N610078829AA INSERTION U NIT ソウニュウユニット 1 001 X02G43001…

挿入部(移シ替エチャック部)(P=7.5mm)(3P)
INSERT SECT.(TRANSFER CHUCK SECT.)(P=7.5mm)(3P)
8
FN610078829AA_05
M141

PART No.
イラスト
No.
REF
No.
PART NAME
REMARKS
Q'TY
8
挿入部(移シ替エチャック部)(P=7.5mm)(3P)
INSERT SECT.(TRANSFER CHUCK SECT.)(P=7.5mm)(3P)
部 品 名 品 番 個数
備 考
R
1
R
2
1 N610078829AA
INSERTION UNIT ソウニュウユニット
1
001 X02G43001
SPRING アッシュクバネ
1
002 X01A43004
SLIDER スライダ
1003 X01A43005
PIN ヒ
゚ン
1004 N210143357AA
PLATE プレート
1
005 N210143364AA
PLATE プレート
2
006 X01A4300901
PIN ピン
1007 N210143365AA
GUIDE カ
゙イド
1008 X01A43012
PIN ヒ
゚ン
1
009 N210161185AB
BLOCK ブロック
1010 X01A43015
PIN ピン
1011 N210161186AA
RETAINER リテーナ
M2.5X4-10.9 A2J (Triv
2
N001
N510017244AA
HEX. SOCKET HEAD CAP BOLT ロッカクアナツキボルト
M3X5-10.9 A2J (Trival
2
X501
N510017333AA
HEX. SOCKET HEAD CAP BOLT ロッカクアナツキボルト
M4X12-10.9 A2J (Triva
2
X616
N510017346AA
HEX. SOCKET HEAD CAP BOLT ロッカクアナツキボルト
M3-6H-4T A2J (Trivale
3
X591
N510017849AA
HEXAGON NUT ロッカクナット
M142
FN610078829AA_05

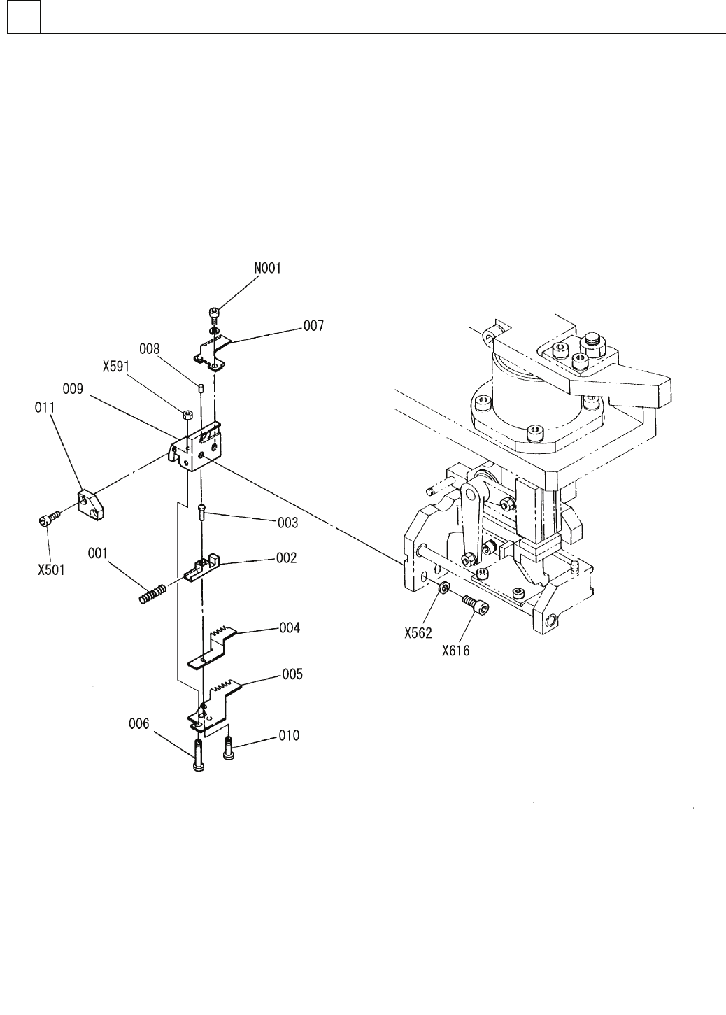
挿入部(移シ替エチャック部)(P=10mm)(4P)
INSERT SECT.(TRANSFER CHUCK SECT.)(P=10mm)(4P)
8
FN610116532AA_01
M143