部品手册1N7203A389B - 第179页
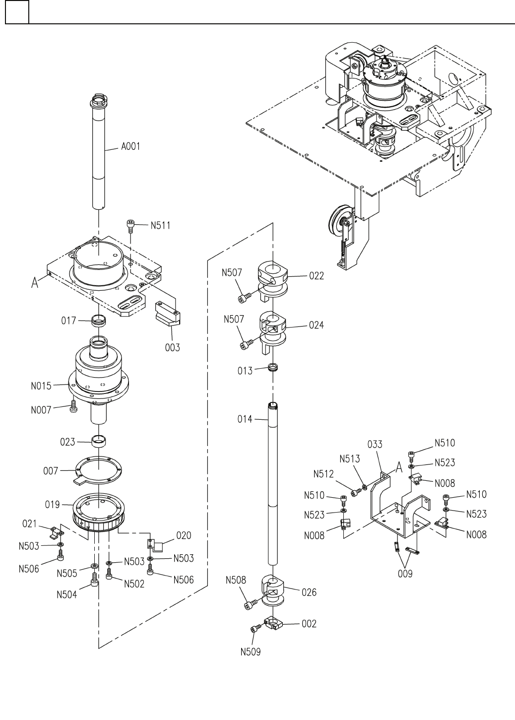
PART No. イラスト No. REF No. PAR T NAME REMARKS Q'TY 9 テープ屑ダク ト部(8 0ステーション) WASTE TAPE DUCT SECT .(80 STATION ) 部 品 名 品 番 個数 備 考 R 1 R 2 1 N610130631AA WASTE TAPE DU CT UNIT テープ クズ ダクトユニット 2 001 N210152892AA DUCT …

テープ屑ダクト部(80ステーション)
WASTE TAPE DUCT SECT.(80 STATION)
9
FN610130631AA_02
M147

PART No.
イラスト
No.
REF
No.
PART NAME
REMARKS
Q'TY
9
テープ屑ダクト部(80ステーション)
WASTE TAPE DUCT SECT.(80 STATION)
部 品 名 品 番 個数
備 考
R
1
R
2
1 N610130631AA
WASTE TAPE DUCT UNIT テープ
クズ ダクトユニット
2
001 N210152892AA
DUCT ダクト
4
002 X02P14008
BRACKET ブラケット
NMC406-Blue
2
N001
N510040711AA
BOX ホ
゙ックス
M5
16
N002
N510020100AA
WASHER ザ
ガネ
M6
8
N003
N510020101AA
WASHER ザガネ
M6X16-10.9 A2J (Triva
8
X512
N510017433AA
HEX. SOCKET HEAD CAP BOLT ロッカクアナツキボルト
M5X10-10.9 A2J (Triva
16
X622
N510017386AA
HEX. SOCKET HEAD CAP BOLT ロッカクアナツキホ
゙ルト
M148
FN610130631AA_02

下部アンビル部(本体部1)
LOWER ANVIL SECT.(MAIN BODY SECT.-1)
10
FN610074515AA_10-1
M149