部品手册1N7203A389B - 第250页
部品ボ ックス部(リールサポ ート部<小 >)(オプション) PARTS BOX SECT.(REEL SUPPORT SECT. <SMALL> )(OPTION) 18 FN610130363AA_00 M219

PART No.
イラスト
No.
REF
No.
PART NAME
REMARKS
Q'TY
18
部品ボックス部(リールサポート部<大>)(オプション)
PARTS BOX SECT.(REEL SUPPORT SECT. <LARGE>)(OPTION)
部 品 名 品 番 個数
備 考
R
1
R
2
1 N610130362AA
PARTS BOX UNIT ブヒンホ
゙ックスユニット
2
001 N210142694AA
HOLDER(REEL) ホルダ(リール)
1
002 N210143009AA
SHAFT シャフト
M4X6-10.9 A2J (Trival
4
N001
N510017534AA
HEX. SOCKET BUTTON HEAD BOL ロッカクアナツキホ
゙タンボルト
M218
FN610130362AA_00

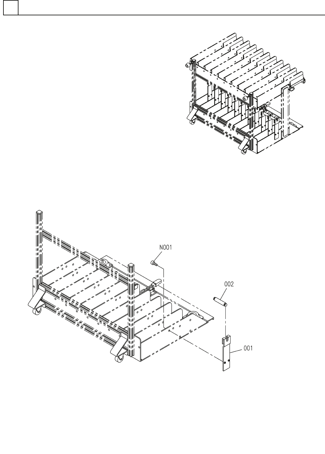
部品ボックス部(リールサポート部<小>)(オプション)
PARTS BOX SECT.(REEL SUPPORT SECT. <SMALL>)(OPTION)
18
FN610130363AA_00
M219

PART No.
イラスト
No.
REF
No.
PART NAME
REMARKS
Q'TY
18
部品ボックス部(リールサポート部<小>)(オプション)
PARTS BOX SECT.(REEL SUPPORT SECT. <SMALL>)(OPTION)
部 品 名 品 番 個数
備 考
R
1
R
2
1 N610130363AA
PARTS BOX UNIT ブヒンホ
゙ックスユニット
2
001 N210142694AA
HOLDER(REEL) ホルダ(リール)
1
002 N210143010AA
SHAFT シャフト
M4X6-10.9 A2J (Trival
4
N001
N510017534AA
HEX. SOCKET BUTTON HEAD BOL ロッカクアナツキホ
゙タンボルト
M220
FN610130363AA_00