部品手册1N7203A389B - 第257页
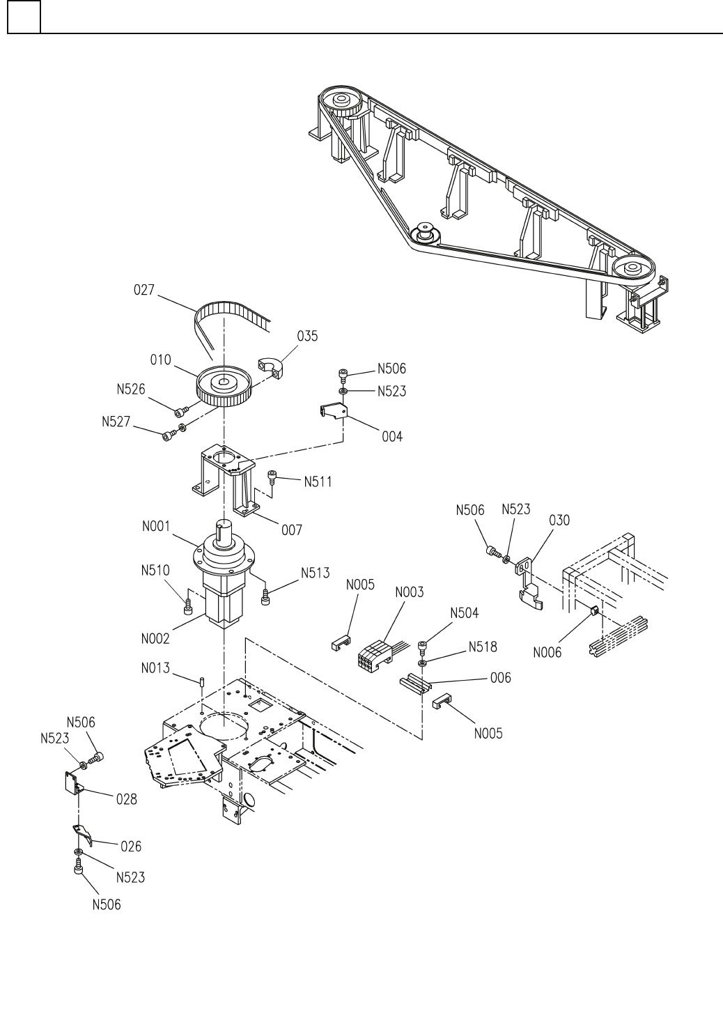
PART No. イラスト No. REF No. PAR T NAME REMARKS Q'TY 19 部品搬送 部(1)( 80ステ ーション) PARTS TRANSFER SECT. (1)(80 ST ATION) 部 品 名 品 番 個数 備 考 R 1 R 2 1 N610130673AA PARTS TRANS FER UNIT ブヒンハンソウユ ニット 1 004 N210155764AA BRACKET …

部品搬送部(1)(80ステーション)
PARTS TRANSFER SECT.(1)(80 STATION)
19
FN610130673AA_05-1
M225

PART No.
イラスト
No.
REF
No.
PART NAME
REMARKS
Q'TY
19
部品搬送部(1)(80ステーション)
PARTS TRANSFER SECT.(1)(80 STATION)
部 品 名 品 番 個数
備 考
R
1
R
2
1 N610130673AA
PARTS TRANSFER UNIT ブヒンハンソウユニット
1
004 N210155764AA
BRACKET ブラケット
1
006 X02G35111
RAIL レール
1007 N210155765AA
BRACKET フ
゙ラケット
1010 N210147177AA
PULLEY プ
ーリ
1
026 N210155767AA
GUIDE ガイド
1
027 N210088858AA
BELT ベルト
1028 N210155766AA
BRACKET フ
゙ラケット
1030 N210117871AA
GUIDE ガ
イド
1
035 N210147199AA
NUT ナット
PAT-B320S009KP1-K3M(G
1
N001
N510057986AA
GEAR HEAD ギヤーヘッド
MDMA202P1C S
1
N002
MDMA202P1C
MOTOR モータ
E3X-NA11
4
N003
N310E3XNA11
AMPLIFIER アンプ
PFP-M
2
N005
N322PFPM
PLATE プレート
3 842 529 295
2
N006
N510036844AA
BLOCK ブロック
6X20,m6A,STEEL
6
N013
XPJ6A20FW
PARALLEL PIN ヘイコウヒ
゚ン
M4X12-10.9 A2J (Triva
2
N504
N510017346AA
HEX. SOCKET HEAD CAP BOLT ロッカクアナツキボルト
M5X12-10.9 A2J (Triva
10
N506
N510017390AA
HEX. SOCKET HEAD CAP BOLT ロッカクアナツキボルト
M8X25-10.9 A2S (Triva
4
N510
N510017474AA
HEX. SOCKET HEAD CAP BOLT ロッカクアナツキボルト
M8X30-10.9 A2J (Triva
4
N511
N510017475AA
HEX. SOCKET HEAD CAP BOLT ロッカクアナツキホ
゙ルト
M12X30-10.9 A2J (Triv
5
N513
N510017189AA
HEX. SOCKET HEAD CAP BOLT ロッカクアナツキボルト
4 10H A2J (Trivalent)
2
N518
N510018497AA
ROUND PLAIN WASHER ミガキマルヒラザガネ
M5
10
N523
N510020100AA
WASHER サ
゙ガネ
M6X12-45H A2J (Trival
1
N526
N510018449AA
HEX. SOCKET SET SCREW ロッカクアナツキトメネシ
゙
M8X40-10.9 A2J (Triva
2
N527
N510017478AA
HEX. SOCKET HEAD CAP BOLT ロッカクアナツキボルト
M226
FN610130673AA_05-1

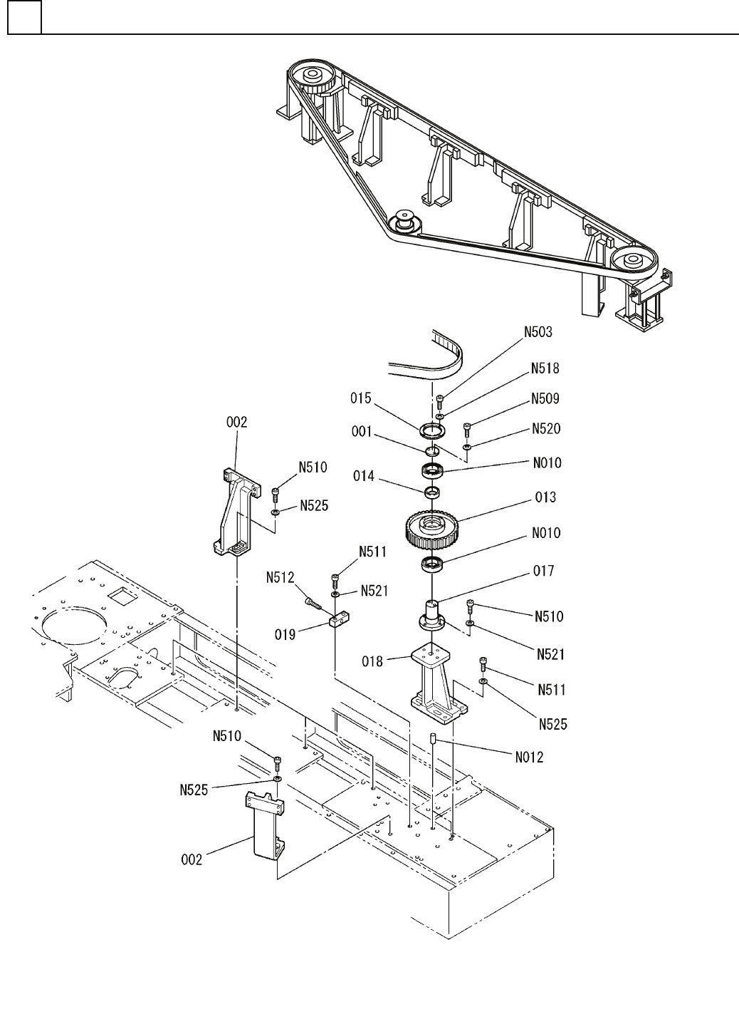
部品搬送部(2)(80ステーション)
PARTS TRANSFER SECT.(2)(80 STATION)
19
FN610130673AA_05-2
M227