部品手册1N7203A389B - 第263页
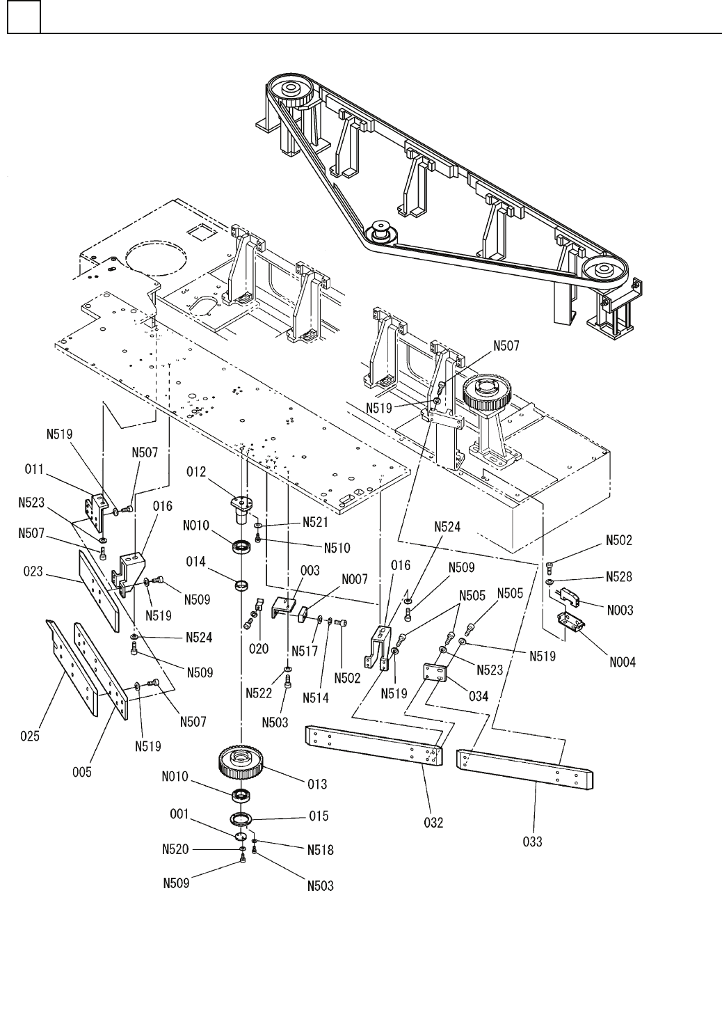
PART No. イラスト No. REF No. PAR T NAME REMARKS Q'TY 19 部品搬送 部(4)( 80ステ ーション) PARTS TRANSFER SECT. (4)(80 ST ATION) 部 品 名 品 番 個数 備 考 R 1 R 2 1 001 X02G35101 COLLAR カラー 1 003 X02P26012 BRACKET ブラケット 1 005 N210088850AA …

部品搬送部(4)(80ステーション)
PARTS TRANSFER SECT.(4)(80 STATION)
19
FN610130673AA_05-4
M231

PART No.
イラスト
No.
REF
No.
PART NAME
REMARKS
Q'TY
19
部品搬送部(4)(80ステーション)
PARTS TRANSFER SECT.(4)(80 STATION)
部 品 名 品 番 個数
備 考
R
1
R
2
1001 X02G35101
COLLAR カラー
1
003 X02P26012
BRACKET ブラケット
1
005 N210088850AA
PLATE プレート
1011 N210088844AC
BRACKET(GUIDE) ブ
ラケット(ガイド)
1012 X01A35004A
SHAFT シャフト
1
013 X01A35005
PULLEY(TIMING) プーリー(タイミング)
1
014 X01A35006
COLLAR カラー
1015 X01A35008
COLLAR カラー
3016 X02P27004
BRACKET ブラケット
1
020 X01A35027
DETECTION PLATE ケンシュツバン
1023 N210088840AB
GUIDE ガイド
1025 N210088838AA
GUIDE カ
゙イド
1
032 N210088841AB
GUIDE ガイド
1
033 N210088842AB
GUIDE ガイド
1034 N210088846AA
LINK PLATE リンクプレート
E3X-NA11
1
N003
N310E3XNA11
AMPLIFIER アンフ
゚
E39-L143
1
N004
KXF0E0BBA00
BRACKET トリツケカナグ
EE-SX671
1
N007
KXF01YEAA00
SENSOR センサ
6008ZZ
2
N010
XLC6008ZZ
BALL BEARING ボールベアリング
M3X12-10.9 A2J (Triva
4
N502
N510017308AA
HEX. SOCKET HEAD CAP BOLT ロッカクアナツキホ
゙ルト
M4X10-10.9 A2J (Triva
6
N503
N510017344AA
HEX. SOCKET HEAD CAP BOLT ロッカクアナツキボルト
M5X8-10.9 A2J (Trival
12
N505
N510017419AA
HEX. SOCKET HEAD CAP BOLT ロッカクアナツキボルト
M5X16-10.9 A2J (Triva
10
N507
N510017395AA
HEX. SOCKET HEAD CAP BOLT ロッカクアナツキホ
゙ルト
M6X16-10.9 A2J (Triva
8
N509
N510017433AA
HEX. SOCKET HEAD CAP BOLT ロッカクアナツキホ
゙ルト
M8X25-10.9 A2S (Triva
4
N510
N510017474AA
HEX. SOCKET HEAD CAP BOLT ロッカクアナツキボルト
No.2 3 S A2J (Trivale
2
N514
N510018327AA
SPRING WASHER バネザガネ
3 10H A2J (Trivalent)
2
N517
N510018478AA
ROUND PLAIN WASHER コガ
タマルヒラザガネ
4 10H A2J (Trivalent)
4
N518
N510018497AA
ROUND PLAIN WASHER ミガキマルヒラザガネ
5 10H A2J (Trivalent)
26
N519
N510018499AA
ROUND PLAIN WASHER ミガキマルヒラザガネ
6 10H A2J (Trivalent)
2
N520
N510018501AA
ROUND PLAIN WASHER ミガキマルヒラザガネ
8 10H A2J (Trivalent)
4
N521
N510018503AA
WASHER ヒラサ
゙ガネ
M4
2
N522
N510020099AA
WASHER ワッシャ
M5
4
N523
N510020100AA
WASHER ザガネ
M6
6
N524
N510020101AA
WASHER ザガネ
3 10H A2J (Trivalent)
2
N528
N510018494AA
ROUND PLAIN WASHER ミガキマルヒラサ
゙ガネ
M232
FN610130673AA_05-4

部品搬送部(5)(80ステーション)
PARTS TRANSFER SECT.(5)(80 STATION)
19
FN610130673AA_05-5
M233