部品手册1N7203A389B - 第273页
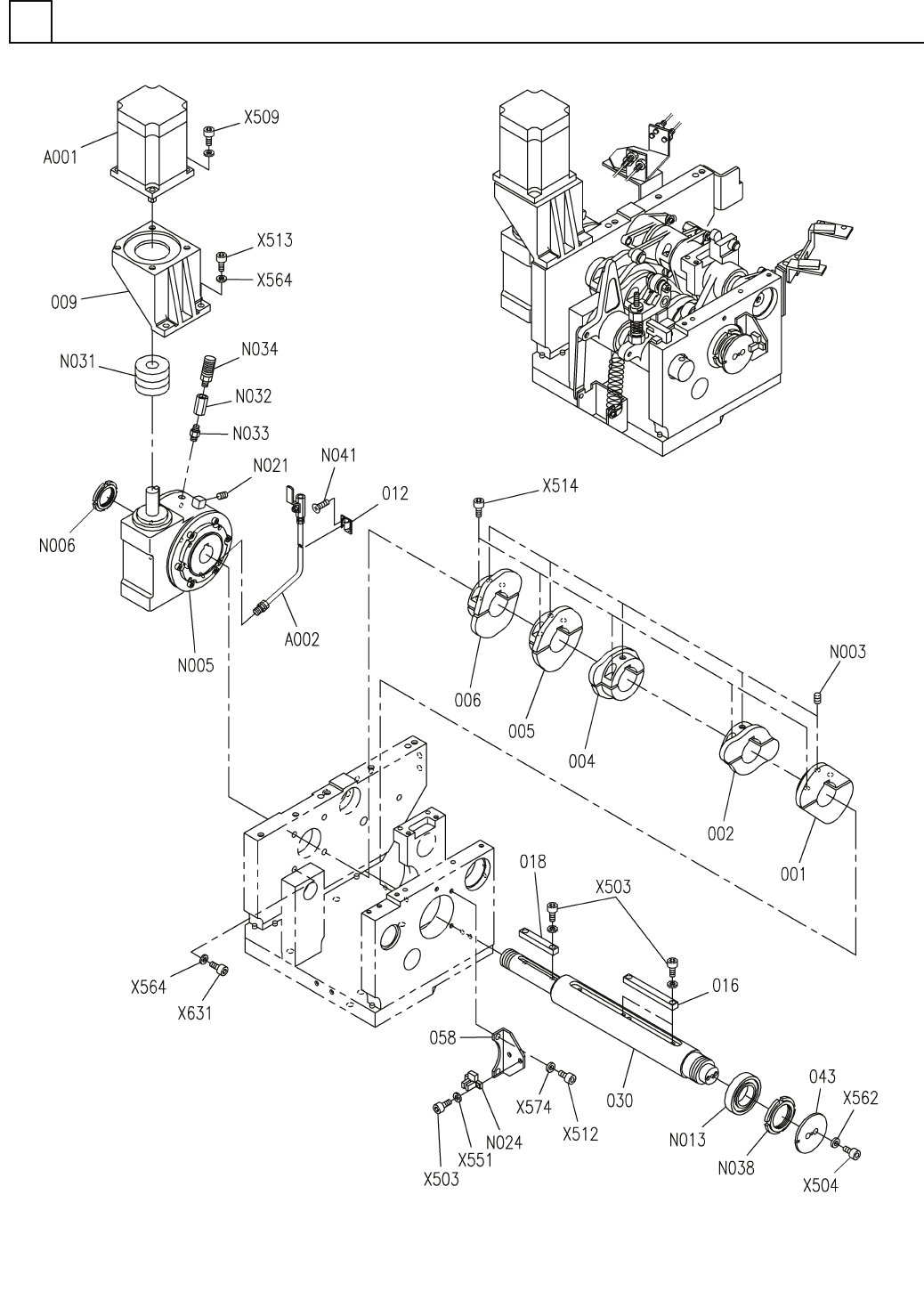
PART No. イラスト No. REF No. PAR T NAME REMARKS Q'TY 20 部品加工部( 動力部2) PARTS PROCE SS SECT.( DRIVING SECT .-2) 部 品 名 品 番 個数 備 考 R 1 R 2 MSMD082PJA S 1 A001 N610074305AA MOTOR モータ 1 A002 N610089590AC HOSE ホース 1 001 N21015…

部品加工部(動力部2)
PARTS PROCESS SECT.(DRIVING SECT.-2)
20
FN610125387AA_07-2
M241

PART No.
イラスト
No.
REF
No.
PART NAME
REMARKS
Q'TY
20
部品加工部(動力部2)
PARTS PROCESS SECT.(DRIVING SECT.-2)
部 品 名 品 番 個数
備 考
R
1
R
2
MSMD082PJA S
1
A001
N610074305AA
MOTOR モータ
1
A002
N610089590AC
HOSE ホース
1
001 N210151129AA
CAM(V CUTTER O/C) カム(V CUTTER O/C)
1002 N210156459AA
CAM カム
1004 N210156592AA
CAM カム
1
005 N210151128AA
CAM カム
1
006 N210155000AB
CAM(POSITIONING O/C) カム(POSITIONING O/C)
1009 N210089102AD
BRACKET フ
゙ラケット
1012 X02G14019
HOLDER(TUBE) ホルダ(
チューブ)
2
016 X02G14104
KEY キー
1018 N210058841AA
KEY キー
1030 N210148365AA
SHAFT シャフト
1
043 N210089103AA
DOG FOR SENSOR ドグ
1
058 N210089105AA
BRACKET ブラケット
M8X10-45H A2J (Trival
5
N003
N510018455AA
SET SCREW ロッカクアナツキトメネジ
SW50E07LF-AGB(231D860
1
N005
N510036776AA
REDUCTION GEAR ケ
゙ンソクキ
FUS05SS
1
N006
KXF023AAA00
LOCK-NUT ロックナット
6007ZZ
1
N013
KXF00KAAA00
BALL BEARING ボールベアリング
87MSWT2
2
N021
N510023248AA
PLUG プラグ
PANADAC921SA1
1
N024
N310P921SA1
SENSOR センサ
SFC-040DA2-16B-19B
1
N031
N510042281AA
COUPLING カップリング
KS-1/4
1
N032
N431KS02
FITTING ツギテ
KN-1/4
1
N033
N431KN02
FITTING ニッフ
゚ル
AN203-02
1
N034
KXF00WEAA00
SILENCER サイレンサ
FU07SS
1
N038
KXF023CAA00
NUT ナット
M3X8-4.8 A2J (Trivale
2
N041
N510018161AA
FLUSH HEAD SCREW サラコネジ
M3X12-10.9 A2J (Triva
8
X503
N510017308AA
HEX. SOCKET HEAD CAP BOLT ロッカクアナツキホ
゙ルト
M4X6-10.9 A2J (Trival
2
X504
N510017376AA
HEX. SOCKET HEAD CAP BOLT ロッカクアナツキボルト
M5X16-10.9 A2J (Triva
4
X509
N510017395AA
HEX. SOCKET HEAD CAP BOLT ロッカクアナツキボルト
M6X16-10.9 A2J (Triva
2
X512
N510017433AA
HEX. SOCKET HEAD CAP BOLT ロッカクアナツキボルト
M6X20-10.9 A2J (Triva
2
X513
N510017435AA
HEX. SOCKET HEAD CAP BOLT ロッカクアナツキホ
゙ルト
M6X25-10.9 A2J (Triva
10
X514
N510017437AA
HEX. SOCKET HEAD CAP BOLT ロッカクアナツキボルト
3 10H A2J (Trivalent)
2
X551
N510018478AA
ROUND PLAIN WASHER コガタマルヒラザガネ
4 10H A2J (Trivalent)
2
X562
N510018497AA
ROUND PLAIN WASHER ミガキマルヒラザガネ
6 10H A2J (Trivalent)
6
X564
N510018501AA
ROUND PLAIN WASHER ミガキマルヒラサ
゙ガネ
M6
2
X574
N510020101AA
WASHER ザガネ
M6X35-10.9 A2J (Triva
4
X631
N510017440AA
HEX. SOCKET HEAD CAP BOLT ロッカクアナツキボルト
M242
FN610125387AA_07-2

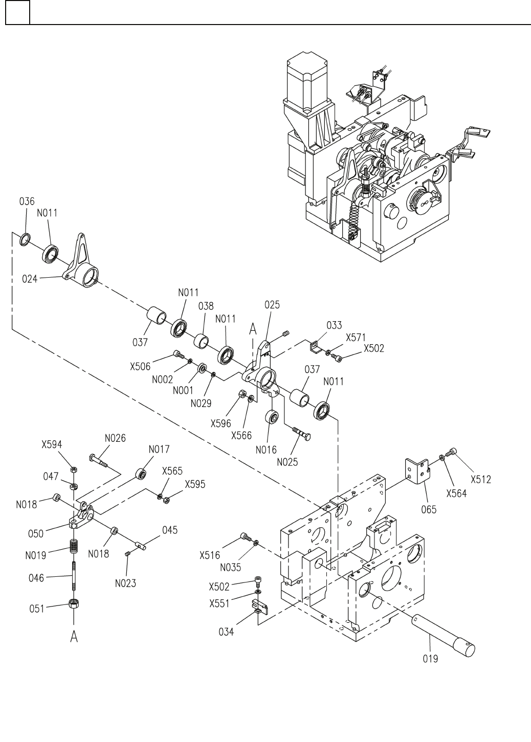
部品加工部(動力部3)
PARTS PROCESS SECT.(DRIVING SECT.-3)
20
FN610125387AA_07-3
M243