部品手册1N7203A389B - 第278页
部品加工部( 動力部5) PARTS PROCE SS SECT.( DRIVING SECT .-5) 20 FN610125387AA_07-5 M247

PART No.
イラスト
No.
REF
No.
PART NAME
REMARKS
Q'TY
20
部品加工部(動力部4)
PARTS PROCESS SECT.(DRIVING SECT.-4)
部 品 名 品 番 個数
備 考
R
1
R
2
1013 N210103572AA
LEVER レハ
゙ー
1
023 N210086544AB
LEVER レバー
1
026 N210156574AA
COLLAR カラー
1027 N210156400AA
LEVER レハ
゙ー
1028 N210148363AA
COLLAR カラー
1
029 N210148364AA
SHAFT シャフト
1
035 N210148366AA
COLLAR カラー
1039 N210086543AC
LEVER レハ
゙ー
1040 N210087149AA
COLLAR カラー
1
041 X01A14029
COLLAR カラー
1044 N210148367AA
LEVER レバー
1048 N210087147AA
COLLAR カラー
1
049 N210087543AA
NUT ナット
1
054 N210138019AA
TENSION SPRING テンションバネ
1055 X01A14062
SPRING バネ
4-13VZZ
4
N001
N648413VZZ
BEARING ベ
アリング
87FWSSB-D6.0-V4.0-T1.
6
N002
N510031417AA
WASHER ザガネ
CFN12R-A
1
N008
N531CFN12RA
CAM FOLLOWER カムフォロア
CFN6R-A
4
N009
N531CFN6RA
CAM FOLLOWER カムフォロア
6004ZZ
2
N010
KXF0E23YA00
BEARING ベ
アリング
6905ZZ
4
N011
KXF06P1AA00
BEARING ベアリング
CFN5R-A
1
N012
N531CFN5RA
CAM FOLLOWER カムフォロア
CFS5
1
N022
N532CFS5
CAM FOLLOWER カムフォロア
87FWSSB-D25-V8.0-T5.0
2
N028
N510037908AA
WASHER ワッシャ
87FWSSB-D6.0-V4.0-T2.
2
N029
N510028901AA
WASHER ワッシャ
87FWSSB-D30-V25.0-T2.
1
N030
N510037210AA
WASHER ワッシャ
M5X10-4.8 A2J (Trival
2
N037
N510018284AA
TRUSS HEAD SCREW トラスコネシ
゙
6005ZZ
2
N042
KXF00K8AA00
BEARING ベアリング
M4X12-10.9 A2J (Triva
1
X616
N510017346AA
HEX. SOCKET HEAD CAP BOLT ロッカクアナツキボルト
M4X16-10.9 A2J (Triva
4
X506
N510017351AA
HEX. SOCKET HEAD CAP BOLT ロッカクアナツキボルト
M5X20-10.9 A2J (Triva
2
X510
N510017398AA
HEX. SOCKET HEAD CAP BOLT ロッカクアナツキホ
゙ルト
M6X35-10.9 A2J (Triva
1
X631
N510017440AA
HEX. SOCKET HEAD CAP BOLT ロッカクアナツキボルト
M8X20-10.9 A2J (Triva
2
X516
N510017472AA
HEX. SOCKET HEAD CAP BOLT ロッカクアナツキボルト
5 10H A2J (Trivalent)
2
X563
N510018499AA
ROUND PLAIN WASHER ミガキマルヒラザガネ
6 10H A2J (Trivalent)
4
X564
N510018501AA
ROUND PLAIN WASHER ミガキマルヒラサ
゙ガネ
10 10H A2J (Trivalent
1
X566
N510018505AA
WASHER ヒラザガネ
M5-6H-4T A2J (Trivale
2
X593
N510017862AA
HEXAGON NUT ロッカクナット
M6-6H-4T A2J (Trivale
4
X594
N510017867AA
HEXAGON NUT ロッカクナット
M10-6H-4T A2J (Trival
1
X596
N510017887AA
HEXAGON NUT ロッカクナット
M246
FN610125387AA_07-4

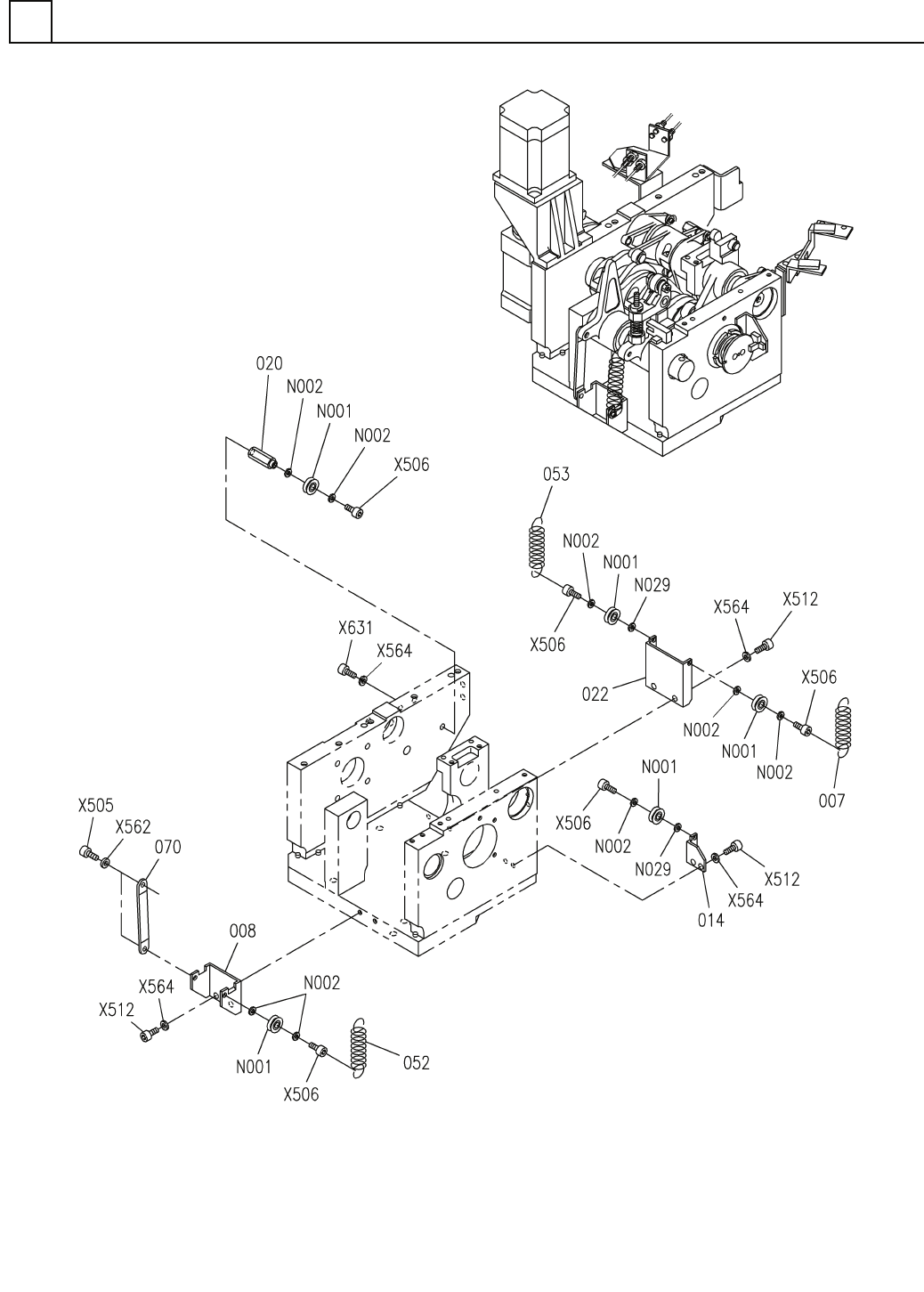
部品加工部(動力部5)
PARTS PROCESS SECT.(DRIVING SECT.-5)
20
FN610125387AA_07-5
M247

PART No.
イラスト
No.
REF
No.
PART NAME
REMARKS
Q'TY
20
部品加工部(動力部5)
PARTS PROCESS SECT.(DRIVING SECT.-5)
部 品 名 品 番 個数
備 考
R
1
R
2
1007 N210156562AA
SPRING ハ
゙ネ
1
008 N210148356AB
BRACKET ブラケット
1
014 N210156571AB
BRACKET ブラケット
1020 N210148360AA
POST ホ
゚スト
1022 N210148361AA
BRACKET ブラケット
1
052 X01A14054
SPRING バネ
1
053 N210137980AA
TENSION SPRING テンションバネ
1070 N210157355AB
BRACKET フ
゙ラケット
4-13VZZ
5
N001
N648413VZZ
BEARING ベアリンク
゙
87FWSSB-D6.0-V4.0-T1.
8
N002
N510031417AA
WASHER ザガネ
87FWSSB-D6.0-V4.0-T2.
2
N029
N510028901AA
WASHER ワッシャ
M4X10-10.9 A2J (Triva
2
X505
N510017344AA
HEX. SOCKET HEAD CAP BOLT ロッカクアナツキホ
゙ルト
M4X16-10.9 A2J (Triva
5
X506
N510017351AA
HEX. SOCKET HEAD CAP BOLT ロッカクアナツキボルト
M6X16-10.9 A2J (Triva
6
X512
N510017433AA
HEX. SOCKET HEAD CAP BOLT ロッカクアナツキボルト
4 10H A2J (Trivalent)
2
X562
N510018497AA
ROUND PLAIN WASHER ミガキマルヒラザガネ
6 10H A2J (Trivalent)
7
X564
N510018501AA
ROUND PLAIN WASHER ミガ
キマルヒラザガネ
M6X35-10.9 A2J (Triva
1
X631
N510017440AA
HEX. SOCKET HEAD CAP BOLT ロッカクアナツキボルト
M248
FN610125387AA_07-5