部品手册1N7203A389B - 第281页
PART No. イラスト No. REF No. PAR T NAME REMARKS Q'TY 20 部品加工部( 部品位置決 め部(2P/ 3P)1) PARTS PROCE SS SECT.( PARTS POSITI ONING SECT (2P/3P).-1) 部 品 名 品 番 個数 備 考 R 1 R 2 1 N610125684AA PARTS PROCESS UNIT ブヒンカコウユニット 1 001 N…

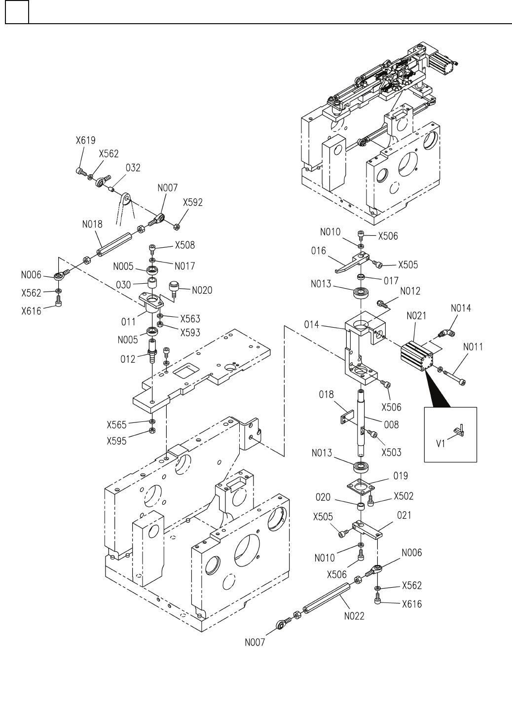
部品加工部(部品位置決め部(2P/3P)1)
PARTS PROCESS SECT.(PARTS POSITIONING SECT(2P/3P).-1)
20
FN610125684AA_02-1
M249

PART No.
イラスト
No.
REF
No.
PART NAME
REMARKS
Q'TY
20
部品加工部(部品位置決め部(2P/3P)1)
PARTS PROCESS SECT.(PARTS POSITIONING SECT(2P/3P).-1)
部 品 名 品 番 個数
備 考
R
1
R
2
1 N610125684AA
PARTS PROCESS UNIT ブヒンカコウユニット
1
001 N210085709AB
HOOK フック
1
002 N210085710AB
STOPPER ストッパ
1003 N210085711AB
STOPPER ストッハ
゚
1005 N210098677AA
SHAFT シャフト
1
006 N210154798AA
SLIDE BLOCK スライドブロック
1
007 N210154797AA
SLIDE BLOCK スライドブロック
1009 N210148379AB
PLATE フ
゚レート
1010 N210085719AC
PIN ヒ
゚ン
1
013 N210088894AA
PLATE プレート
2015 N210084372AC
LEVER(GUIDE) レバー(ガイド)
2022 X02P18008
SPRING スフ
゚リング
1
023 X02P18007
HOLDER(SLIDE) ホルダ(スライド)
1
024 X02P18006
GUIDE ガイド
1025 X02P18005
GUIDE ガイド
1026 X02P45002
HOLDER(SLIDE) ホルタ
゙(スライド)
1
027 N210145667AA
PIN ピン
2
028 X02P1800301
PIN ピン
1029 N210088897AA
SPRING スプリング
1031 X01A1102603
SPRING アッシュクハ
゙ネ
LM10UU
1
N001
N513LM10UU
BUSHING ブッシング
4RSH9ZMUU+175LM
1
N002
N510040570AA
LINEAR WAY リニアウェイ
2X10,STEEL
1
N003
XPL2A10WFW
SPRING PIN スフ
゚リングピン
CJPS6-5-B
2
N004
KXF07S0AA00
CYLINDER シリンタ
゙
N0S4T
1
N006
N533N0S4T
ROD END ロッドエンド
NOS4TL
1
N007
N533N0S4TL
ROD END ロッドエンド
M-5H-6
1
N008
KXF02T8AA00
FITTING ツキ
゙テ
M-5HL-6
1
N009
KXF02TAAA00
FITTING ツギテ
KJL06-M5
2
N014
KXF029LAA00
FITTING ツギテ
87LMST10
1
N015
N510036441AA
PLATE プレート
87SFJ8-20.0-LKC
2
N016
N510059451AA
SHAFT シャフト
MMS4-10
2
N019
N986MMS410
PIN ピン
87LBMKN4-60
1
N023
N510041171AA
ROD ロッド
E0240-029-1000-S
2
N024
N510059437AA
SPRING バネ
M3X8-10.9 A2J (Trival
25
X502
N510017341AA
HEX. SOCKET HEAD CAP BOLT ロッカクアナツキホ
゙ルト
M3X12-10.9 A2J (Triva
14
X503
N510017308AA
HEX. SOCKET HEAD CAP BOLT ロッカクアナツキボルト
M4X8-10.9 A2J (Trival
4
X615
N510017381AA
HEX. SOCKET HEAD CAP BOLT ロッカクアナツキボルト
M4X12-10.9 A2J (Triva
2
X616
N510017346AA
HEX. SOCKET HEAD CAP BOLT ロッカクアナツキホ
゙ルト
M4X30-10.9 A2J (Triva
1
X619
N510017361AA
HEX. SOCKET HEAD CAP BOLT ロッカクアナツキホ
゙ルト
M5X20-10.9 A2J (Triva
3
X510
N510017398AA
HEX. SOCKET HEAD CAP BOLT ロッカクアナツキボルト
M6X20-10.9 A2J (Triva
3
X513
N510017435AA
HEX. SOCKET HEAD CAP BOLT ロッカクアナツキボルト
4 10H A2J (Trivalent)
5
X562
N510018497AA
ROUND PLAIN WASHER ミガ
キマルヒラザガネ
5 10H A2J (Trivalent)
3
X563
N510018499AA
ROUND PLAIN WASHER ミガキマルヒラザガネ
6 10H A2J (Trivalent)
3
X564
N510018501AA
ROUND PLAIN WASHER ミガキマルヒラザガネ
10 10H A2J (Trivalent
1
X556
N510018483AA
ROUND PLAIN WASHER コガタマルヒラザガネ
M3-6H-4T A2J (Trivale
6
X591
N510017849AA
HEXAGON NUT ロッカクナット
M4-6H-4T A2J (Trivale
2
X592
N510017855AA
HEXAGON NUT ロッカクナット
M250
FN610125684AA_02-1

部品加工部(部品位置決め部(2P/3P)2)
PARTS PROCESS SECT.(PARTS POSITIONING SECT(2P/3P).-2)
20
FN610125684AA_02-2
M251