部品手册1N7203A389B - 第285页
PART No. イラスト No. REF No. PAR T NAME REMARKS Q'TY 20 部品加工部( 部品位置決 め部(4P) 1) PARTS PROCE SS SECT.( PARTS POSITI ONING SECT (4P).-1) 部 品 名 品 番 個数 備 考 R 1 R 2 1 N610130086AA PARTS PROCESS UNIT ブヒンカコウユニット 1 001 N210137…

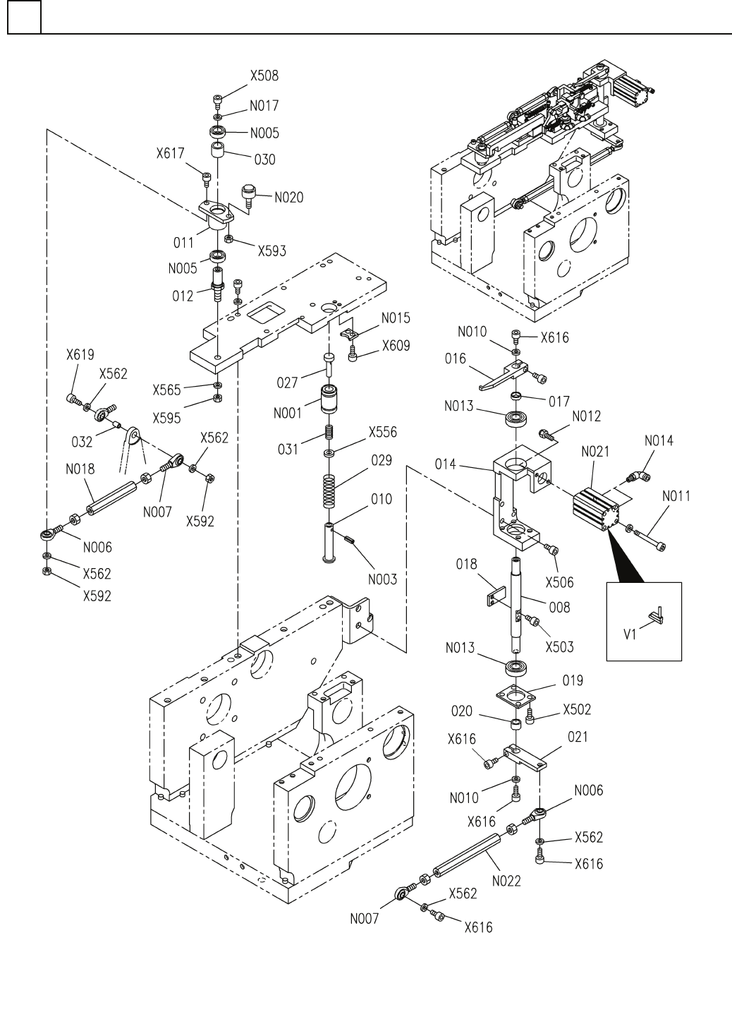
部品加工部(部品位置決め部(4P)1)
PARTS PROCESS SECT.(PARTS POSITIONING SECT(4P).-1)
20
FN610130086AA_05-1
M253

PART No.
イラスト
No.
REF
No.
PART NAME
REMARKS
Q'TY
20
部品加工部(部品位置決め部(4P)1)
PARTS PROCESS SECT.(PARTS POSITIONING SECT(4P).-1)
部 品 名 品 番 個数
備 考
R
1
R
2
1 N610130086AA
PARTS PROCESS UNIT ブヒンカコウユニット
1
001 N210137446AA
HOOK フック
1
002 N210155709AB
STOPPER PLATE ストッパプレート
1003 N210155710AB
STOPPER PLATE ストッハ
゚プレート
1005 N210137448AA
LEVER レハ
゙ー
1
006 N210155711AB
BLOCK ブロック
1
007 N210155712AB
BLOCK ブロック
1009 N210148379AB
PLATE フ
゚レート
1013 N210133938AB
PLATE プレート
1
015 N210137447AA
LEVER(GUIDE) レバー(ガイド)
2022 X02P18008
SPRING スプリング
1023 N210141654AB
HOLDER(SLIDE) ホルタ
゙(スライド)
1
025 N210154785AC
GUIDE ガイド
1
026 N210141655AA
HOLDER(SLIDE) ホルダ(スライド)
2028 N210156061AA
PIN ピン
2033 N210155707AA
PISTON ヒ
゚ストン
2
034 N210155708AA
PISTON ピストン
4RSH9ZMUU+175LM
1
N002
N510040570AA
LINEAR WAY リニアウェイ
CJPS6-5-B
2
N004
KXF07S0AA00
CYLINDER シリンダ
N0S4T
1
N006
N533N0S4T
ROD END ロット
゙エンド
NOS4TL
1
N007
N533N0S4TL
ROD END ロッドエンド
M-5H-6
2
N008
KXF02T8AA00
FITTING ツギテ
M-5HL-6
2
N009
KXF02TAAA00
FITTING ツキ
゙テ
KJL06-M5
2
N014
KXF029LAA00
FITTING ツキ
゙テ
E0300-037-1370-M
2
N016
N510056635AA
SPRING スプリング
MMS4-10
2
N019
N986MMS410
PIN ピン
87LBMKN4-60
1
N023
N510041171AA
ROD ロット
゙
M4-6H-4T A2J (Trivale
2
N024
N510017859AA
HEXAGON NUT ロッカクナット
M3X6-10.9 A2J (Trival
2
X609
N510017337AA
HEX. SOCKET HEAD CAP BOLT ロッカクアナツキボルト
M3X8-10.9 A2J (Trival
8
X502
N510017341AA
HEX. SOCKET HEAD CAP BOLT ロッカクアナツキボルト
M3X12-10.9 A2J (Triva
15
X503
N510017308AA
HEX. SOCKET HEAD CAP BOLT ロッカクアナツキホ
゙ルト
M3X16-10.9 A2J (Triva
10
X611
N510017313AA
HEX. SOCKET HEAD CAP BOLT ロッカクアナツキボルト
M4X12-10.9 A2J (Triva
4
X616
N510017346AA
HEX. SOCKET HEAD CAP BOLT ロッカクアナツキボルト
M4X16-10.9 A2J (Triva
1
X506
N510017351AA
HEX. SOCKET HEAD CAP BOLT ロッカクアナツキボルト
M4X20-10.9 A2J (Triva
2
X617
N510017354AA
HEX. SOCKET HEAD CAP BOLT ロッカクアナツキホ
゙ルト
M5X16-10.9 A2J (Triva
3
X509
N510017395AA
HEX. SOCKET HEAD CAP BOLT ロッカクアナツキボルト
M6X20-10.9 A2J (Triva
3
X513
N510017435AA
HEX. SOCKET HEAD CAP BOLT ロッカクアナツキボルト
4 10H A2J (Trivalent)
5
X562
N510018497AA
ROUND PLAIN WASHER ミカ
゙キマルヒラザガネ
6 10H A2J (Trivalent)
3
X564
N510018501AA
ROUND PLAIN WASHER ミガキマルヒラサ
゙ガネ
M3-6H-4T A2J (Trivale
8
X591
N510017849AA
HEXAGON NUT ロッカクナット
M254
FN610130086AA_05-1

部品加工部(部品位置決め部(4P)2)
PARTS PROCESS SECT.(PARTS POSITIONING SECT(4P).-2)
20
FN610130086AA_05-2
M255