部品手册1N7203A389B - 第293页
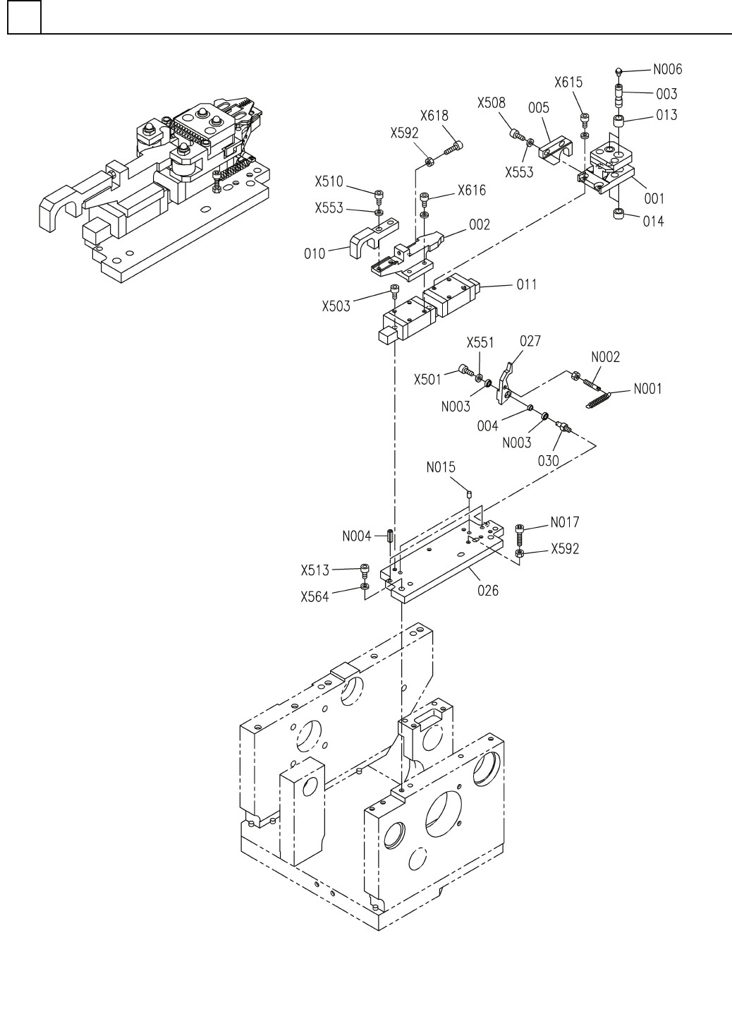
PART No. イラスト No. REF No. PAR T NAME REMARKS Q'TY 20 部品加工部( Vカット部 リード修正(2P/3 P)) PART PROCES S SECT. ( V-CUT SECT. LEAD CORR ECTION(2P/3P)) 部 品 名 品 番 個数 備 考 R 1 R 2 1 N610134906AA PARTS PROCESS UNIT ブヒンカコウユニット 1 0…

部品加工部(Vカット部リード修正(2P/3P))
PART PROCESS SECT. (V-CUT SECT. LEAD CORRECTION(2P/3P))
20
FN610134906AA_00
M261

PART No.
イラスト
No.
REF
No.
PART NAME
REMARKS
Q'TY
20
部品加工部(Vカット部リード修正(2P/3P))
PART PROCESS SECT. (V-CUT SECT. LEAD CORRECTION(2P/3P))
部 品 名 品 番 個数
備 考
R
1
R
2
1 N610134906AA
PARTS PROCESS UNIT ブヒンカコウユニット
1
001 X02P19008
SPACER スペーサ
1
002 X02P19009
SPACER スペーサ
2003 N210118901AA
GUIDE カ
゙イド
M3X3-10.9 A2J (Trival
4
N019
N510017325AA
HEX. SOCKET HEAD CAP BOLT ロッカクアナツキホ
゙ルト
M3X12-10.9 A2J (Triva
3
X503
N510017308AA
HEX. SOCKET HEAD CAP BOLT ロッカクアナツキボルト
M3X16-10.9 A2J (Triva
4
X611
N510017313AA
HEX. SOCKET HEAD CAP BOLT ロッカクアナツキボルト
M262
FN610134906AA_00

部品加工部(Vカット部(4P)1)
PART PROCESS SECT. (V-CUT SECT.(4P)-1)
20
FN610130477AA_03-1
M263