部品手册1N7203A389B - 第303页
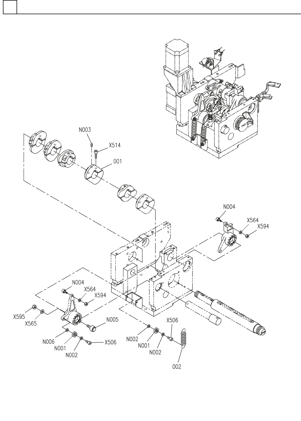
PART No. イラスト No. REF No. PAR T NAME REMARKS Q'TY 20 部品加工部 (ボディ 修正2)(オプ ション) PARTS PROCE SS SECT.( BODY AMEND-2 )(OPTION) 部 品 名 品 番 個数 備 考 R 1 R 2 1 002 X02G12103 PIN シテンヒ ゚ン 7 004 X01L12012 COLLAR カラー 1 005 N210…

部品加工部(ボディ修正2)(オプション)
PARTS PROCESS SECT.(BODY AMEND-2)(OPTION)
20
FN610125686AA_01-2
M271

PART No.
イラスト
No.
REF
No.
PART NAME
REMARKS
Q'TY
20
部品加工部(ボディ修正2)(オプション)
PARTS PROCESS SECT.(BODY AMEND-2)(OPTION)
部 品 名 品 番 個数
備 考
R
1
R
2
1002 X02G12103
PIN シテンヒ
゚ン
7
004 X01L12012
COLLAR カラー
1
005 N210148376AA
PLATE プレート
1006 N210148377AA
STOPPER ストッハ
゚
1007 X01L12020
FORK フォーク
2
008 X01L1202101
SPRING バネ
4
009 X01L12022
PIN ピン(バネカケ)
1020 X01L1204101
LEVER レハ
゙ー
1021 X01L1204201
LEVER レハ
゙ー
1
022 X01L12043A
LEVER レバー
1023 X01L12043B
LEVER レバー
1027 N210097356AA
BLOCK フ
゙ロック
1
028 N210097357AA
BLOCK ブロック
2
031 X01L1206001
RUBBER ゴム
1032 N210097365AA
GUIDE(PARTS) ガイド(パーツ)
1033 N210097366AA
GUIDE(PARTS) ガ
イド(パーツ)
688ZZ
8
N004
KXF00MGAA00
BALL BEARING ボールベアリング
CFS5
4
N007
N532CFS5
CAM FOLLOWER カムフォロア
87FWSSB-D10.0-V6.0-T2
1
N010
N510038092AA
WASHER ワッシャ
M6-6H-4T A2J (Trivale
1
N011
N510017867AA
HEXAGON NUT ロッカクナット
M4X40-10.9 A2J (Triva
2
N013
N510017365AA
HEX. SOCKET HEAD CAP BOLT ロッカクアナツキボルト
M3X5-10.9 A2J (Trival
4
X501
N510017333AA
HEX. SOCKET HEAD CAP BOLT ロッカクアナツキボルト
M3X10-10.9 A2J (Triva
4
X610
N510017305AA
HEX. SOCKET HEAD CAP BOLT ロッカクアナツキホ
゙ルト
M4X8-10.9 A2J (Trival
6
X615
N510017381AA
HEX. SOCKET HEAD CAP BOLT ロッカクアナツキホ
゙ルト
M5X12-10.9 A2J (Triva
1
X508
N510017390AA
HEX. SOCKET HEAD CAP BOLT ロッカクアナツキボルト
M5-6H-4T A2J (Trivale
4
X593
N510017862AA
HEXAGON NUT ロッカクナット
4 10H A2J (Trivalent)
2
X552
N510018479AA
ROUND PLAIN WASHER コガ
カマルヒラザガネ
M272
FN610125686AA_01-2

部品加工部(専用部)
PARTS PROCESS SECT.(EXCLUSIVE SECT.)
20
FN610133112AA_00
M273