部品手册1N7203A389B - 第340页
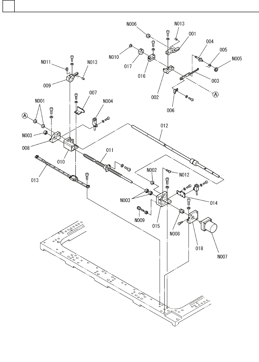
X-Yテーブル部 (ピン自 動幅寄せ部) X-Y TABLE S ECT.(PIN AUTO WIDTH C ONTROL SEC T.) 24 FN610054629AA_00 M309

PART No.
イラスト
No.
REF
No.
PART NAME
REMARKS
Q'TY
23
付属品部
ACCESSORY PARTS SECT.
部 品 名 品 番 個数
備 考
R
1
R
2
1 N610129240AA
ACCESSORY UNIT アクセサリーユニット
1
001 X01L01101
LABEL ラベル
1
002 N610091441AA
RECOGNITION CORRECTION BOAR ニンシキシュウセイバン
1V 1 X00B86913
BOARD キハ
゙ン
1V 2 N210111955AA
LABEL ラヘ
゙ル
M308
FN610129240AA_01

X-Yテーブル部(ピン自動幅寄せ部)
X-Y TABLE SECT.(PIN AUTO WIDTH CONTROL SECT.)
24
FN610054629AA_00
M309

PART No.
イラスト
No.
REF
No.
PART NAME
REMARKS
Q'TY
24
X-Yテーブル部(ピン自動幅寄せ部)
X-Y TABLE SECT.(PIN AUTO WIDTH CONTROL SECT.)
部 品 名 品 番 個数
備 考
R
1
R
2
1 N610054629AA
PIN AUTO POSITION CONTROL U ピンシ
゙ドウハバヨセユニット
1
001 N210077740AA
BLOCK(LEFT) ブロック(LEFT)
1
002 1087114102
BLOCK ブロック
1003 1087114103
LEVER レハ
゙ー
1004 1041314104
SHAFT シャフト
1
005 N210049473AA
SPRING バネ
1
006 1087114106
DOG FOR SENSOR ドグ
1007 N210068920AB
DOG FOR SENSOR ト
゙グ
1008 1087114108
BLOCK ブロック
1
009 N210076926AA
HOUSING ハウジング
1010 1087114111
HOUSING ハウジング
MDK1202-3RRGT+591.3LC
1011 N210076368AA
BALL SCREW ボ
ールネジ
LT10UUCL+812.5L
1
012 N210068925AA
BALL SPLINE ボールスプライン
1
013 1087114114
LM GUIDE LMガイド
1014 N210076180AA
BRACKET ブラケット
1015 N210076178AB
BLOCK フ
゙ロック
1
016 1041314124
BLOCK ブロック
1
017 1020714161
STOPPER ストッパー
1018 N210076179AA
BRACKET ブラケット
6800ZZ
2
N001
KXF00M6AA00
BALL BEARING ボールヘ
゙アリング
698ZZ
1
N002
KXF00MWAA00
BEARING ベアリング
F688ZZ
3
N003
KXF020PAA00
BALL BEARING ボールベアリング
P914S1
1
N004
N310P914S1
SENSOR センサ
4,STEEL,P.C
1
N005
XUB4FP
RETAINING RING C-TYPE, SHAF C カ
゙タジクヨウトメワ
M4-6H-4T A2J (Trivale
1
N006
N510017859AA
HEXAGON NUT ロッカクナット
103H5331-03CXA4 S
1
N007
N510030658AA
MOTOR モータ
MSX-19C-ph6Xph8
1
N008
N644MSX1-178
COUPLING カッフ
゚リング
SUB-M5X20
1
N009
N510028255AA
BOLT ボルト
87FWASM-D15.0-V10.0-T
1
N010
N510028278AA
WASHER ザガネ
M3X4-45H A2J (Trivale
1
N011
N510018420AA
HEX. SOCKET SET SCREW ロッカクアナツキトメネジ
M4X8-4.8 A2J (Trivale
2
N012
N510018282AA
TRUSS HEAD SCREW トラスコネシ
゙
3X8,A TYPE
4
N013
XPM3A8FW
DOWEL PIN ダウエルピン
M310
FN610054629AA_00