部品手册1N7203A389B - 第352页
ローダ・アンローダ 部(ロー ダ自動幅寄せ部 1) LOADER & UN LOADER SE CT.(LOADER A UTO WIDTH CONTROL SECT.- 1) 25 FN610128955AA_04-1 M321

PART No.
イラスト
No.
REF
No.
PART NAME
REMARKS
Q'TY
24
X-Yテーブル部(自動幅寄せ部3)
X-Y TABLE SECT.(AUTO WIDTH CONTROL SECT.-3)
部 品 名 品 番 個数
備 考
R
1
R
2
1002 N210068287AA
COVER カハ
゙ー
2
003 N210068292AA
BRACKET ブラケット
1
012 N210152051AA
PLATE プレート
1017 N210068286AA
COVER カハ
゙ー
2023 N210068293AA
BRACKET ブラケット
4X10,m6A,STEEL
5
N005
XPJ4A10FW
PARALLEL PIN ヘイコウピン
P914S1
1
N006
N310P914S1
SENSOR センサ
SUB-M4X15
2
N020
N510017001AA
BOLT ホ
゙ルト
M3X8-10.9 A2J (Trival
10
N501
N510017341AA
HEX. SOCKET HEAD CAP BOLT ロッカクアナツキホ
゙ルト
3 10H A2J (Trivalent)
2
N513
N510018494AA
ROUND PLAIN WASHER ミガキマルヒラザガネ
M3X6-4.8 A2J (Trivale
8
N515
N510018253AA
TRUSS HEAD SCREW トラスコネジ
M3X5-10.9 A2J (Trival
1
N516
N510017333AA
HEX. SOCKET HEAD CAP BOLT ロッカクアナツキホ
゙ルト
M320
FN610130241AA_01-3

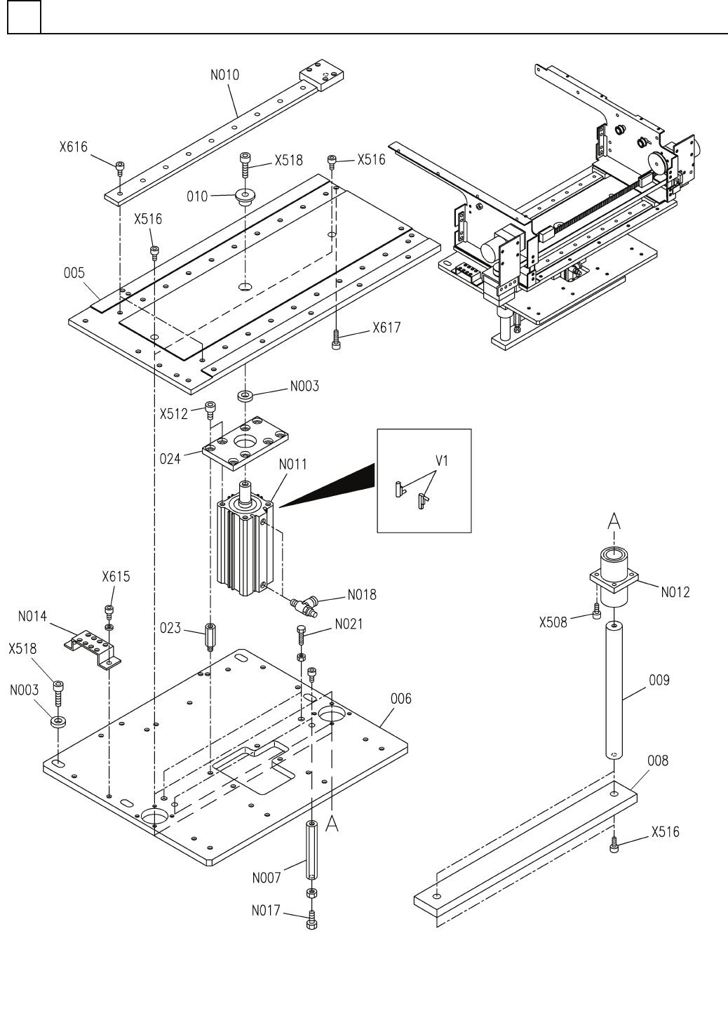
ローダ・アンローダ部(ローダ自動幅寄せ部1)
LOADER & UNLOADER SECT.(LOADER AUTO WIDTH CONTROL SECT.-1)
25
FN610128955AA_04-1
M321

PART No.
イラスト
No.
REF
No.
PART NAME
REMARKS
Q'TY
25
ローダ・アンローダ部(ローダ自動幅寄せ部1)
LOADER & UNLOADER SECT.(LOADER AUTO WIDTH CONTROL SECT.-1)
部 品 名 品 番 個数
備 考
R
1
R
2
1 N610128955AA
LOADER UNIT ロータ
゙ユニット
1
005 N210149404AE
PLATE プレート
1
006 N210153375AC
PLATE(BASE) プレート(ベース)
1008 N210149407AB
PLATE フ
゚レート
2009 N210149409AA
SHAFT シャフト
1
010 N210151020AA
STOPPER ストッパ
4
023 N210155077AA
SHAFT シャフト
1024 N210155076AA
PLATE フ
゚レート
Thick washer for M8
5
N003
N510020102AA
WASHER ザ
ガネ
87PLSBRK13-80
2
N007
N510058908AA
POST ポスト
MR12WNSS1V0N-390L-15-
2
N010
N510058905AA
LINEAR WAY リニアウェイ
CDBQ2A40-50DC-RN-M9NV
1
N011
N510059464AA
CYLINDER シリンタ
゙
SMKC20UU
2
N012
N510058906AA
BUSHING ブッシュ
N510013514AA S
1
N014
N510013514AA
TERMINAL ターミナル
87UST8-30
2
N017
N510027184AA
BOLT ボルト
AS2211F-01-06S
2
N018
KXF072PAA00
SPEED CONTROLLER スピ
ードコントローラ
SUB-M8X45
2
N021
N510060327AA
BOLT ボルト
M5X12-10.9 A2J (Triva
8
X508
N510017390AA
HEX. SOCKET HEAD CAP BOLT ロッカクアナツキボルト
M4X12-10.9 A2J (Triva
20
X616
N510017346AA
HEX. SOCKET HEAD CAP BOLT ロッカクアナツキボルト
M8X30-10.9 A2J (Triva
5
X518
N510017475AA
HEX. SOCKET HEAD CAP BOLT ロッカクアナツキホ
゙ルト
M8X20-10.9 A2J (Triva
4
X516
N510017472AA
HEX. SOCKET HEAD CAP BOLT ロッカクアナツキボルト
M4X8-10.9 A2J (Trival
2
X615
N510017381AA
HEX. SOCKET HEAD CAP BOLT ロッカクアナツキボルト
M4X20-10.9 A2J (Triva
1
X617
N510017354AA
HEX. SOCKET HEAD CAP BOLT ロッカクアナツキホ
゙ルト
M6X16-10.9 A2J (Triva
8
X512
N510017433AA
HEX. SOCKET HEAD CAP BOLT ロッカクアナツキホ
゙ルト
D-M9NV
2
V 1 N510000684AA
SWITCH スイッチ
M322
FN610128955AA_04-1