部品手册1N7203A389B - 第354页
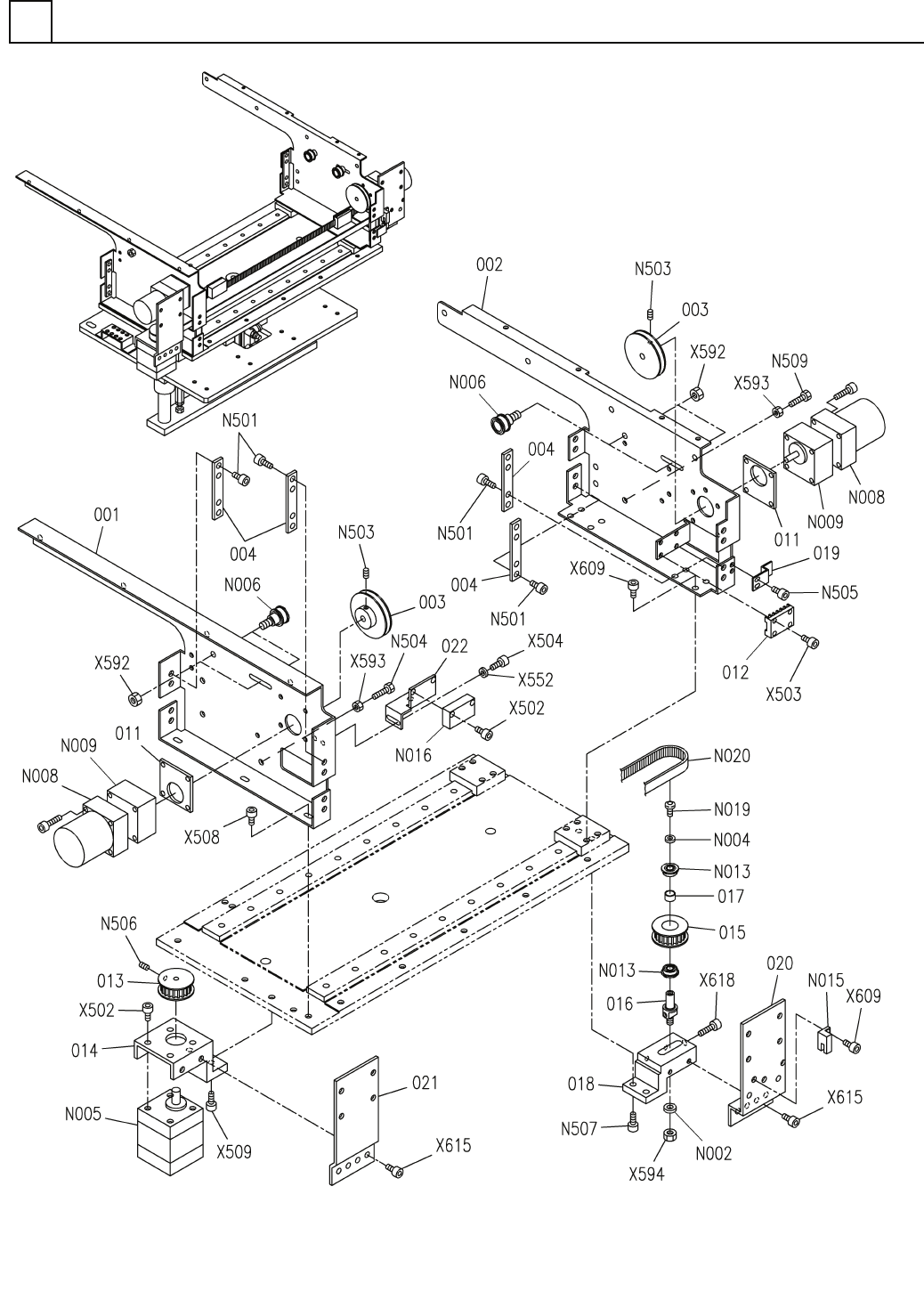
ローダ・アンローダ 部(ロー ダ自動幅寄せ部 2) LOADER & UN LOADER SE CT.(LOADER A UTO WIDTH CONTROL SECT.- 2) 25 FN610128955AA_04-2 M323

PART No.
イラスト
No.
REF
No.
PART NAME
REMARKS
Q'TY
25
ローダ・アンローダ部(ローダ自動幅寄せ部1)
LOADER & UNLOADER SECT.(LOADER AUTO WIDTH CONTROL SECT.-1)
部 品 名 品 番 個数
備 考
R
1
R
2
1 N610128955AA
LOADER UNIT ロータ
゙ユニット
1
005 N210149404AE
PLATE プレート
1
006 N210153375AC
PLATE(BASE) プレート(ベース)
1008 N210149407AB
PLATE フ
゚レート
2009 N210149409AA
SHAFT シャフト
1
010 N210151020AA
STOPPER ストッパ
4
023 N210155077AA
SHAFT シャフト
1024 N210155076AA
PLATE フ
゚レート
Thick washer for M8
5
N003
N510020102AA
WASHER ザ
ガネ
87PLSBRK13-80
2
N007
N510058908AA
POST ポスト
MR12WNSS1V0N-390L-15-
2
N010
N510058905AA
LINEAR WAY リニアウェイ
CDBQ2A40-50DC-RN-M9NV
1
N011
N510059464AA
CYLINDER シリンタ
゙
SMKC20UU
2
N012
N510058906AA
BUSHING ブッシュ
N510013514AA S
1
N014
N510013514AA
TERMINAL ターミナル
87UST8-30
2
N017
N510027184AA
BOLT ボルト
AS2211F-01-06S
2
N018
KXF072PAA00
SPEED CONTROLLER スピ
ードコントローラ
SUB-M8X45
2
N021
N510060327AA
BOLT ボルト
M5X12-10.9 A2J (Triva
8
X508
N510017390AA
HEX. SOCKET HEAD CAP BOLT ロッカクアナツキボルト
M4X12-10.9 A2J (Triva
20
X616
N510017346AA
HEX. SOCKET HEAD CAP BOLT ロッカクアナツキボルト
M8X30-10.9 A2J (Triva
5
X518
N510017475AA
HEX. SOCKET HEAD CAP BOLT ロッカクアナツキホ
゙ルト
M8X20-10.9 A2J (Triva
4
X516
N510017472AA
HEX. SOCKET HEAD CAP BOLT ロッカクアナツキボルト
M4X8-10.9 A2J (Trival
2
X615
N510017381AA
HEX. SOCKET HEAD CAP BOLT ロッカクアナツキボルト
M4X20-10.9 A2J (Triva
1
X617
N510017354AA
HEX. SOCKET HEAD CAP BOLT ロッカクアナツキホ
゙ルト
M6X16-10.9 A2J (Triva
8
X512
N510017433AA
HEX. SOCKET HEAD CAP BOLT ロッカクアナツキホ
゙ルト
D-M9NV
2
V 1 N510000684AA
SWITCH スイッチ
M322
FN610128955AA_04-1

ローダ・アンローダ部(ローダ自動幅寄せ部2)
LOADER & UNLOADER SECT.(LOADER AUTO WIDTH CONTROL SECT.-2)
25
FN610128955AA_04-2
M323

PART No.
イラスト
No.
REF
No.
PART NAME
REMARKS
Q'TY
25
ローダ・アンローダ部(ローダ自動幅寄せ部2)
LOADER & UNLOADER SECT.(LOADER AUTO WIDTH CONTROL SECT.-2)
部 品 名 品 番 個数
備 考
R
1
R
2
1001 N210152372AE
PLATE フ
゚レート
1
002 N210152371AE
PLATE プレート
2
003 1099705118
PULLEY プーリー
4004 N210149411AA
PLATE フ
゚レート
2011 X02P05031
SPACER スヘ
゚ーサ
1
012 N210149414AA
RACK ラック
1
013 N210151259AA
PULLEY プーリー
1014 N210149417AC
BRACKET(MOTOR) ブ
ラケット(モータ)
1015 N210151258AA
PULLEY プーリー
1
016 N210149416AA
PIN ピン
1017 N210149420AA
COLLAR カラー
1018 N210152755AB
BLOCK フ
゙ロック
1
019 N210156079AA
DOG FOR SENSOR ドグ
1
020 N210156064AA
BRACKET ブラケット
1021 N210156324AA
PLATE プレート
1022 N210154678AB
BRACKET フ
゙ラケット
M6
1
N002
N510020101AA
WASHER ザガネ
M4
1
N004
N510020099AA
WASHER ワッシャ
M5X12-10.9 A2J (Triva
3
X508
N510017390AA
HEX. SOCKET HEAD CAP BOLT ロッカクアナツキボルト
103H5331-03GXF4 S
1
N005
N510028188AA
MOTOR モータ
MB019200
4
N006
N510058700AA
PULLEY プーリ
0IK1GN-CW2J
2
N008
N510031297AA
MOTOR モータ
0GN9K
2
N009
N510058907AA
GEAR HEAD ギ
ヤーヘッド
M4X8-10.9 A2J (Trival
4
X615
N510017381AA
HEX. SOCKET HEAD CAP BOLT ロッカクアナツキホ
゙ルト
F688ZZ
2
N013
KXF020PAA00
BALL BEARING ボールベアリング
P914S1
1
N015
N310P914S1
SENSOR センサ
P919T
1
N016
N310P919T
SWITCH スイッチ
BN1206 M4X8
1
N019
N510015166AA
BOLT ボルト
1080-EV5GT-9
1
N020
N510059529AA
BELT ベルト
M5X6-10.9 A2J (Trival
16
N501
N510017414AA
HEX. SOCKET HEAD CAP BOLT ロッカクアナツキボルト
M3X6-10.9 A2J (Trival
9
X609
N510017337AA
HEX. SOCKET HEAD CAP BOLT ロッカクアナツキホ
゙ルト
M3X12-10.9 A2J (Triva
4
X503
N510017308AA
HEX. SOCKET HEAD CAP BOLT ロッカクアナツキボルト
M5X16-10.9 A2J (Triva
2
X509
N510017395AA
HEX. SOCKET HEAD CAP BOLT ロッカクアナツキボルト
M4X25-10.9 A2J (Triva
1
X618
N510017360AA
HEX. SOCKET HEAD CAP BOLT ロッカクアナツキボルト
M4X8-45H A2J (Trivale
2
N503
N510018440AA
HEX. SOCKET SET SCREW ロッカクアナツキトメネシ
゙
M5X35-6g 4T A2J (Triv
1
N504
N510017749AA
HEXAGON HEAD BOLT ロッカクボルト
M4-6H-4T A2J (Trivale
8
X592
N510017855AA
HEXAGON NUT ロッカクナット
M5-6H-4T A2J (Trivale
2
X593
N510017862AA
HEXAGON NUT ロッカクナット
M3X5-4.8 A2J (Trivale
2
N505
N510018251AA
TRUSS HEAD SCREW トラスコネシ
゙
M6-6H-4T A2J (Trivale
1
X594
N510017867AA
HEXAGON NUT ロッカクナット
M3X8-45H A2J (Trivale
1
N506
N510018426AA
HEX. SOCKET SET SCREW ロッカクアナツキトメネジ
4 10H A2J (Trivalent)
2
X552
N510018479AA
ROUND PLAIN WASHER コガ
カマルヒラザガネ
M3X8-10.9 A2J (Trival
4
X502
N510017341AA
HEX. SOCKET HEAD CAP BOLT ロッカクアナツキボルト
M5X15-10.9 A2J (Triva
2
N507
N510017394AA
HEX. SOCKET HEAD CAP BOLT ロッカクアナツキボルト
M5X12-6g 4T A2J (Triv
1
N509
N510017741AA
HEXAGON HEAD BOLT ロッカクボルト
M4X6-10.9 A2J (Trival
2
X504
N510017376AA
HEX. SOCKET HEAD CAP BOLT ロッカクアナツキホ
゙ルト
M324
FN610128955AA_04-2