部品手册1N7203A389B - 第357页
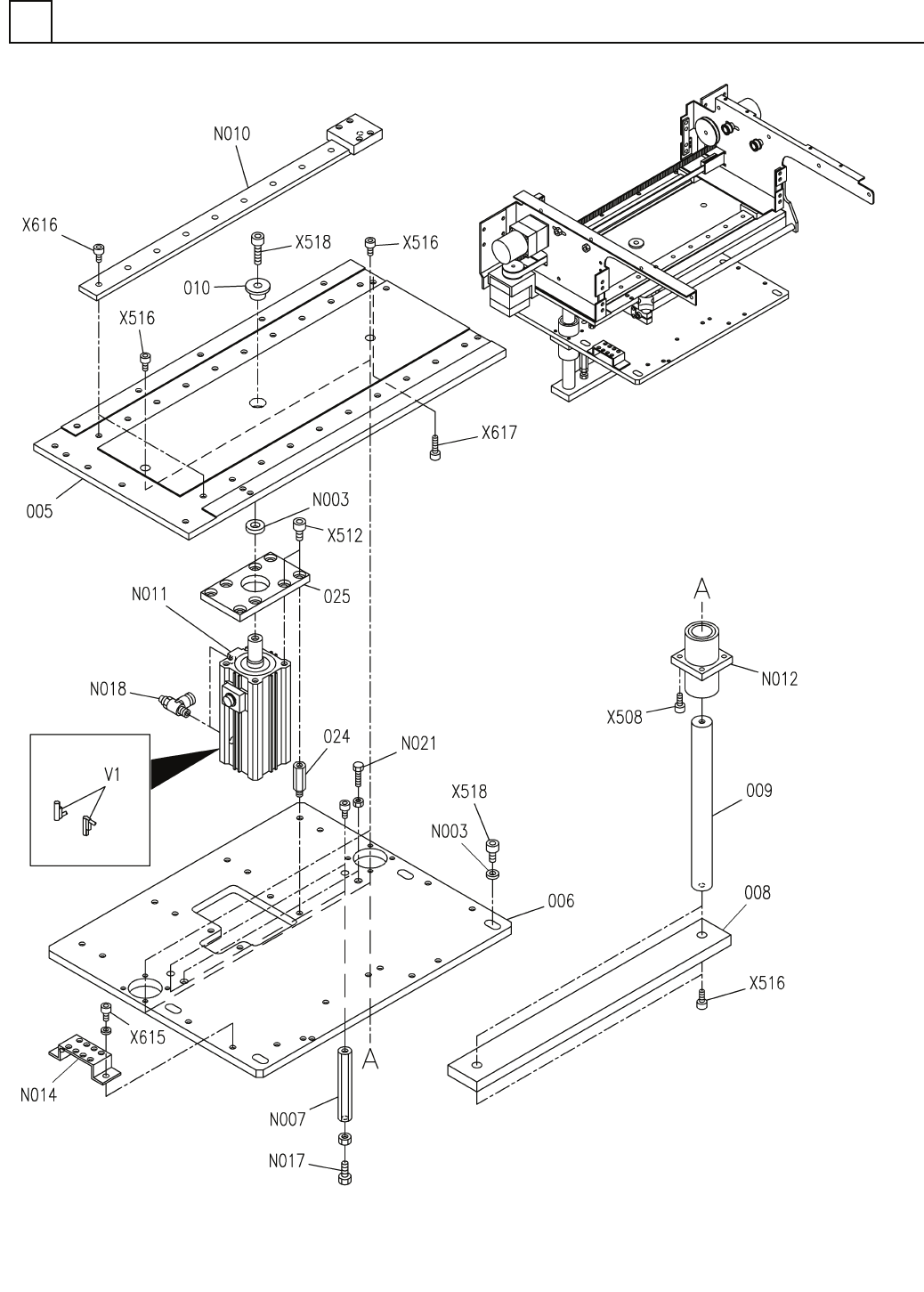
PART No. イラスト No. REF No. PAR T NAME REMARKS Q'TY 25 ローダ・アンローダ 部(アン ローダ自動幅寄せ 部1) LOADER & UN LOADER SE CT.(UNLOADER AUTO WIDT H CONTROL SECT .-1) 部 品 名 品 番 個数 備 考 R 1 R 2 1 N610128954AA UNLOADER UNIT アンロータ ゙ユ…

ローダ・アンローダ部(アンローダ自動幅寄せ部1)
LOADER & UNLOADER SECT.(UNLOADER AUTO WIDTH CONTROL SECT.-1)
25
FN610128954AA_04-1
M325

PART No.
イラスト
No.
REF
No.
PART NAME
REMARKS
Q'TY
25
ローダ・アンローダ部(アンローダ自動幅寄せ部1)
LOADER & UNLOADER SECT.(UNLOADER AUTO WIDTH CONTROL SECT.-1)
部 品 名 品 番 個数
備 考
R
1
R
2
1 N610128954AA
UNLOADER UNIT アンロータ
゙ユニット
1
005 N210151454AF
PLATE プレート
1
006 N210153375AC
PLATE(BASE) プレート(ベース)
1008 N210149407AB
PLATE フ
゚レート
2009 N210149409AA
SHAFT シャフト
1
010 N210151020AA
STOPPER ストッパ
4
024 N210155077AA
SHAFT シャフト
1025 N210155076AA
PLATE フ
゚レート
Thick washer for M8
5
N003
N510020102AA
WASHER ザ
ガネ
87PLSBRK13-80
2
N007
N510058908AA
POST ポスト
MR12WNSS1V0N-390L-15-
2
N010
N510058905AA
LINEAR WAY リニアウェイ
CDBQ2A40-50DC-RN-M9NV
1
N011
N510059464AA
CYLINDER シリンタ
゙
SMKC20UU
2
N012
N510058906AA
BUSHING ブッシュ
N510013514AA S
1
N014
N510013514AA
TERMINAL ターミナル
87UST8-30
2
N017
N510027184AA
BOLT ボルト
AS2211F-01-06S
2
N018
KXF072PAA00
SPEED CONTROLLER スピ
ードコントローラ
SUB-M8X45
2
N021
N510060327AA
BOLT ボルト
M5X12-10.9 A2J (Triva
8
X508
N510017390AA
HEX. SOCKET HEAD CAP BOLT ロッカクアナツキボルト
M4X12-10.9 A2J (Triva
20
X616
N510017346AA
HEX. SOCKET HEAD CAP BOLT ロッカクアナツキボルト
M8X30-10.9 A2J (Triva
5
X518
N510017475AA
HEX. SOCKET HEAD CAP BOLT ロッカクアナツキホ
゙ルト
M8X20-10.9 A2J (Triva
4
X516
N510017472AA
HEX. SOCKET HEAD CAP BOLT ロッカクアナツキボルト
M4X8-10.9 A2J (Trival
2
X615
N510017381AA
HEX. SOCKET HEAD CAP BOLT ロッカクアナツキボルト
M4X20-10.9 A2J (Triva
1
X617
N510017354AA
HEX. SOCKET HEAD CAP BOLT ロッカクアナツキホ
゙ルト
M6X16-10.9 A2J (Triva
8
X512
N510017433AA
HEX. SOCKET HEAD CAP BOLT ロッカクアナツキホ
゙ルト
D-M9NV
2
V 1 N510000684AA
SWITCH スイッチ
M326
FN610128954AA_04-1

ローダ・アンローダ部(アンローダ自動幅寄せ部2)
LOADER & UNLOADER SECT.(UNLOADER AUTO WIDTH CONTROL SECT.-2)
25
FN610128954AA_04-2
M327