部品手册1N7203A389B - 第38页
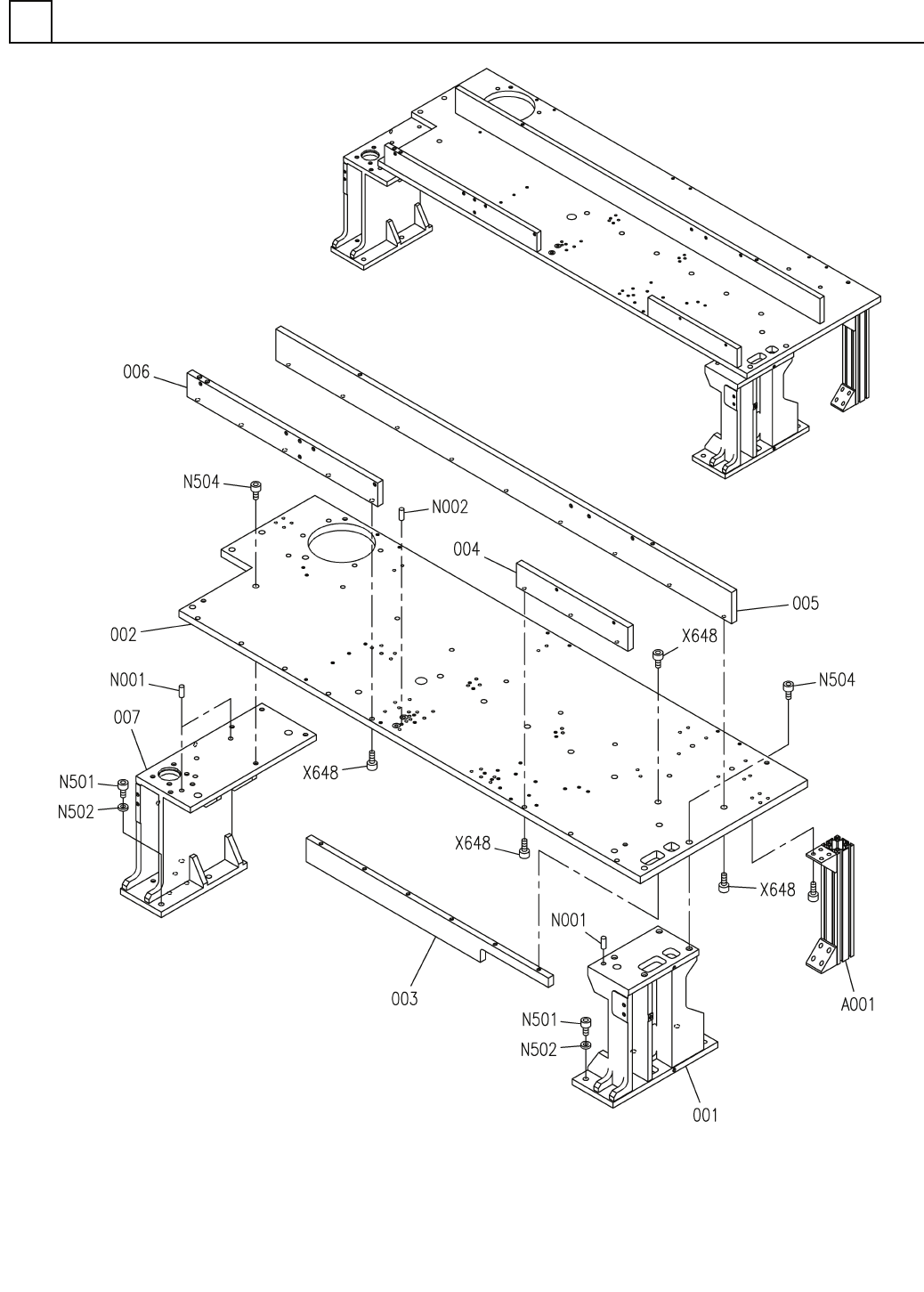
本体部(アッ パフレーム部 )(40ステーション) MAIN BODY S ECT.(UPPE R FRAME SECT .)(40 STAT ION) 1 FN610123553AA_01 M7

PART No.
イラスト
No.
REF
No.
PART NAME
REMARKS
Q'TY
1
本体部(専用部)
MAIN BODY SECT.(EXCLUSIVE SECT.)
部 品 名 品 番 個数
備 考
R
1
R
2
1 N610076948AA
MAIN BODY UNIT ホンタイユニット
1
001 N210074257AA
PLATE プレート
1
002 N210079151AA
PLATE プレート
1003 N210090375AB
BRACKET フ
゙ラケット
1004 N210074255AA
PLATE プレート
M6
FN610076948AA_00

本体部(アッパフレーム部)(40ステーション)
MAIN BODY SECT.(UPPER FRAME SECT.)(40 STATION)
1
FN610123553AA_01
M7

PART No.
イラスト
No.
REF
No.
PART NAME
REMARKS
Q'TY
1
本体部(アッパフレーム部)(40ステーション)
MAIN BODY SECT.(UPPER FRAME SECT.)(40 STATION)
部 品 名 品 番 個数
備 考
R
1
R
2
1 N610123553AA
MAIN BODY UNIT ホンタイユニット
2
A001
N610123863AA
FRAME(SUPPORT) フレーム(サポート)
1
001 N210150063AA
ARM(RIGHT) アーム(RIGHT)
1002 N210147243AD
PLATE(BASE) プ
レート(ベース)
1003 N210145726AA
RIB リフ
゙
1
004 N210088041AA
PLATE プレート
1
005 N210088043AB
PLATE プレート
1006 N210154605AA
PLATE フ
゚レート
1007 N210150064AA
ARM(LEFT) アーム(
LEFT)
MMS10-40
3
N001
N510020647AA
PIN ピン
MMS8-15
3
N002
N510020629AA
PIN ピン
M12X35-10.9 A2J (Triv
7
N501
N510017190AA
HEX. SOCKET HEAD CAP BOLT ロッカクアナツキホ
゙ルト
12 10H A2J (Trivalent
7
N502
N510018507AA
WASHER ヒラザガネ
M12X25-10.9 A2J (Triv
9
N504
N510017188AA
HEX. SOCKET HEAD CAP BOLT ロッカクアナツキボルト
M10X25-10.9 A2J (Triv
23
X648
N510017166AA
HEX. SOCKET HEAD CAP BOLT ロッカクアナツキボルト
M8
FN610123553AA_01