部品手册1N7203A389B - 第446页
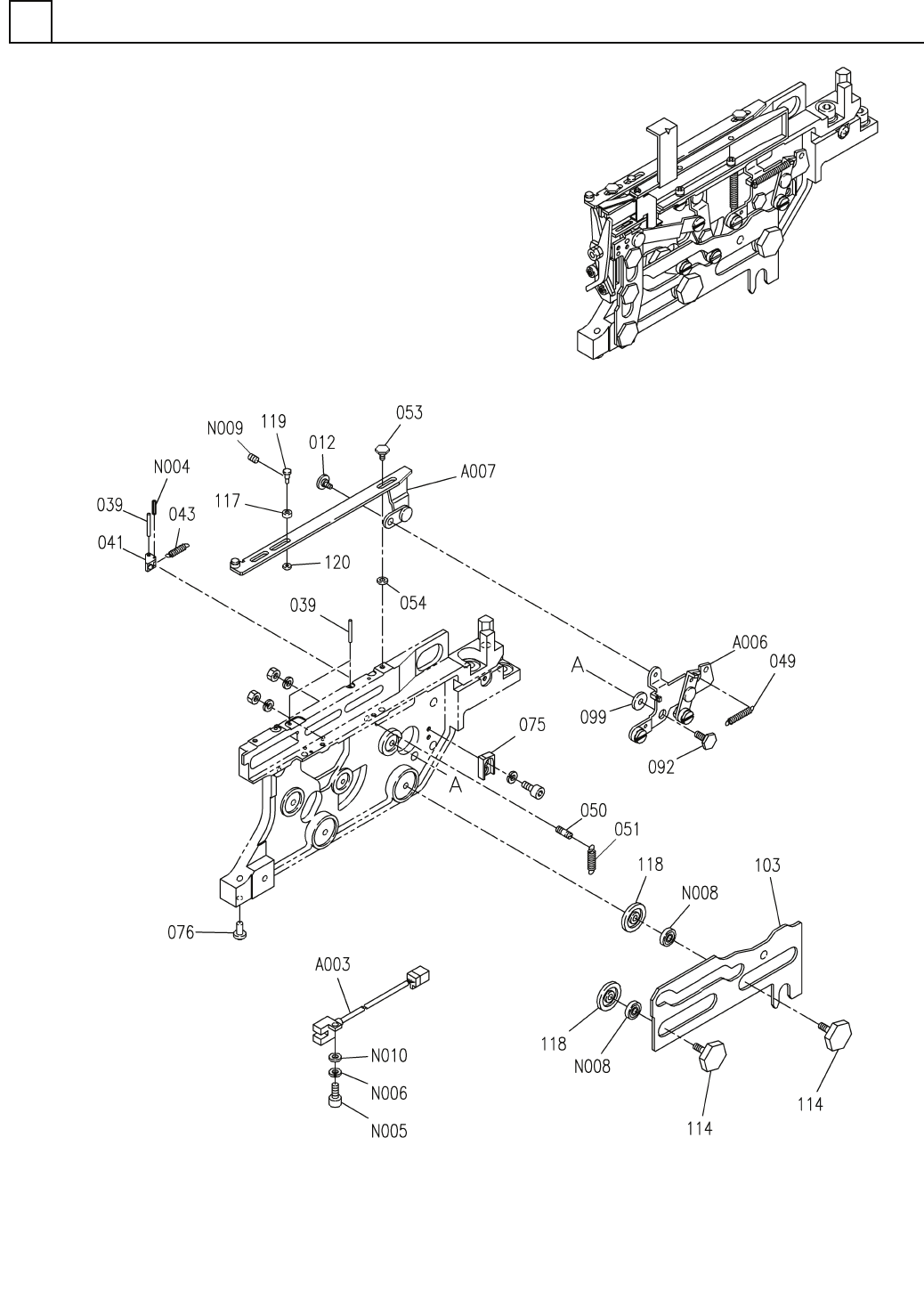
テープ フィータ ゙部(12 .7X7. 5(2 )) TAPE FEEDER SECT.(12 .7X7.5(2)) 28 FN610071918AA_01-2 M415

PART No.
イラスト
No.
REF
No.
PART NAME
REMARKS
Q'TY
28
テープフィーダ部(12.7X7.5(1))
TAPE FEEDER SECT.(12.7X7.5(1))
部 品 名 品 番 個数
備 考
R
1
R
2
1 N610071918AA
TAPE FEEDER UNIT テーフ
゚フィーダユニット
1
A001
X01A38126
SCISSORS UNIT ハサミユニット
1
A002
N610016680AA
LEVER UNIT レバーユニット
1
A004
N610045031AA
LEVER UNIT レハ
゙ーユニット
1
A005
N610026101AA
LEVER UNIT レバーユニット
1
010 X01A38010
ROLLER ローラ
2
012 X01A38012
PIN ピン
1015 X01A3801501
PIN ヒ
゚ン
1017 X01A38017
COLLAR カラー
2
018 X01A38018
ROLLER ローラ
1019 X01A3801901
PIN ピン
1020 X01A3802002
PIN ヒ
゚ン
1
022 X01A3802202
PIN ピン
2
032 X01A3803201
PIN ピン
2033 X01A3803301
SPACER スペーサ
1034 X01A3803402
CLAW ツメ
2
035 X01A38035
PIN ピン
2
037 X01A38037
SPRING アッシュクバネ
1038 X01A3803803
CLAW ツメ
1040 X01A38040
SPRING アッシュクハ
゙ネ
1
060 X01A38060
SPRING バネ
1
065 N210059724AB
SLIDER スライダ
1074 N210087041AA
CLAW ツメ
1089 X01A38089
PIN ヒ
゚ン
1
090 X01A38090
PIN ピン
1092 X01A38092
PIN ピン
1098 X01A38098
SPACER スヘ
゚ーサ
1
099 X01A38099
SPACER スペーサ
1
101 X01A38101
PIN ピン
1102 N210059725AA
MAIN FRAME フレーム(メイン)
1106 X01A38106
COLLAR カラー
1
107 N210059726AA
SLIDER スライダ
1
110 X01A3811002
LEVER レバー(ケンシュツ)
1111 X01A38111
PIN ピン
1113 X02P58056
TAPE GUIDE テープ
ガイド
1
122 X01A38122
PIN ピン
2
124 X01A38124
ROLLER ローラ
MR106ZZS
1
N001
KXF05XWAA00
BEARING ヘ
゙アリング
683ZZ
3
N002
KXF0C8ZAA00
BEARING ベアリンク
゙
ETW-1.5
6
N003
KXF01X6AA00
RETAINING RING E-TYPE E ガタトメワ
M3X5-4.8 A2J (Trivale
1
N007
N510017981AA
ROUND HEAD SCREW マルコネジ
M414
FN610071918AA_01-1

テープフィーダ部(12.7X7.5(2))
TAPE FEEDER SECT.(12.7X7.5(2))
28
FN610071918AA_01-2
M415

PART No.
イラスト
No.
REF
No.
PART NAME
REMARKS
Q'TY
28
テープフィーダ部(12.7X7.5(2))
TAPE FEEDER SECT.(12.7X7.5(2))
部 品 名 品 番 個数
備 考
R
1
R
2
1
A003
N610071899AA
SENSOR UNIT センサユニット
1
A006
N610026102AA
LEVER UNIT レバーユニット
1
A007
N610026103AA
SLIDER UNIT スライダユニット
1012 X01A38012
PIN ヒ
゚ン
3039 X01A38039
PIN ヒ
゚ン
1
041 X01A3804102
CLAW ツメ
1
043 X01A38043
SPRING バネ
1049 X01A38049
SPRING ハ
゙ネ
1050 X01A38050
PIN ピン(ハ
゙ネカケ)
1
051 X01A38051
SPRING バネ
2053 X01A38053
PIN ピン
2054 X01A38054
SPACER スヘ
゚ーサ
1
075 X01A3807502
STOPPER ストッパ
1
076 X01A38076
PIN ピン
1092 X01A38092
PIN ピン
1099 X01A38099
SPACER スヘ
゚ーサ
1
103 X01A38103
CAM カム
2
114 X01A38114
PIN ピン
1117 X01A38117
ROLLER ローラ
2118 X01A38118
SPACER スヘ
゚ーサ
1
119 X01A3811901
PIN ピン
1
120 X01A38120
SPACER スペーサ
1.2X5
1
N004
XPL12A5WFW
SPRING PIN スフ
゚リングピン
M2X8-10.9 A2J (Trival
1
N005
N510017261AA
HEX. SOCKET HEAD CAP BOLT ロッカクアナツキホ
゙ルト
No.2 5 S A2J (Trivale
1
N006
N510018332AA
SPRING WASHER バネザガネ
L-1260ZZ
2
N008
KXF02F9AA00
BEARING ベアリング
M2X2-45H A2J (Trivale
1
N009
N510018353AA
HEX. SOCKET SET SCREW ロッカクアナツキトメネシ
゙
2 10H A2J (Trivalent)
1
N010
N510018477AA
ROUND PLAIN WASHER コガカマルヒラザガネ
M416
FN610071918AA_01-2