部品手册1N7203A389B - 第59页

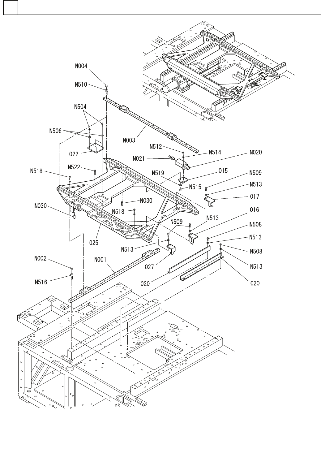
PART No. イラスト No. REF No. PAR T NAME REMARKS Q'TY 4 X-Yテーブル 部(テー ブル部1) X-Y TABLE S ECT.(TABL E SECT.-1) 部 品 名 品 番 個数 備 考 R 1 R 2 1 015 X01L21081 PLATE フ ゚レート 1 016 1087104020 BRACKET ブラケット 1 017 1087104021 BRACKE…

100%1 / 566
X-Yテーブル部(テーブル部1)
X-Y TABLE SECT.(TABLE SECT.-1)
4
FN610055746AA_08-3
M27
PART No.
イラスト
No.
REF
No.
   
          PART NAME
    REMARKS 
Q'TY
4
X-Yテーブル部(テーブル部1)
X-Y TABLE SECT.(TABLE SECT.-1)
部 品 品  番 個数
備 考
R
1
R
2
1015 X01L21081
PLATE
゚レート
1
016 1087104020
BRACKET ブラケット
1
017 1087104021
BRACKET ブラケット
2020 N210084054AA
COVER カハ
゙ー
1022 X01L21106
COVER カハ
゙ー
1
025 N210081970AA
Y-TABLE Y テーブル
1
027 1087104016
DOG FOR SENSOR センサドグ
SSR20XW2UUC1+1130LH-2
2
N001
N513SSR2-A44
LINEAR MOTION UNIT(Y) リニアモーションユニット
(Y)
C5
38
N002
N513C5
CAP キャッフ
SSR15XW2UUC1+1180LHY-
2
N003
N513SSR1-810
LINEAR MOTION UNIT(X) リニアモーションユニット(X)
C4
40
N004
N513C4
CAP キャップ
LS-11S/RL S
1
N020
N510030839AA
SWITCH スイッチ
V-M20
1
N021
KXF0DG3AA00
CABLE ケーブル
6X10,m6A,STEEL
4
N030
XPJ6A10FW
PARALLEL PIN ヘイコウピン
M3X8-10.9 A2J (Trival
4
N504
N510017341AA
HEX. SOCKET HEAD CAP BOLT ロッカクアナツキボルト
3 10H A2J (Trivalent)
4
N506
N510018494AA
ROUND PLAIN WASHER ミガ
キマルヒラザガネ
M4X8-10.9 A2J (Trival
8
N508
N510017381AA
HEX. SOCKET HEAD CAP BOLT ロッカクアナツキボルト
M4X10-10.9 A2J (Triva
6
N509
N510017344AA
HEX. SOCKET HEAD CAP BOLT ロッカクアナツキボルト
M4X16-10.9 A2J (Triva
40
N510
N510017351AA
HEX. SOCKET HEAD CAP BOLT ロッカクアナツキボルト
M4X30-10.9 A2J (Triva
2
N512
N510017361AA
HEX. SOCKET HEAD CAP BOLT ロッカクアナツキホ
゙ルト
4 10H A2J (Trivalent)
14
N513
N510018497AA
ROUND PLAIN WASHER ミガキマルヒラザガネ
No.2 4 S A2J (Trivale
2
N514
N510018330AA
SPRING WASHER バネザガネ
M5X12-10.9 A2J (Triva
2
N515
N510017390AA
HEX. SOCKET HEAD CAP BOLT ロッカクアナツキホ
゙ルト
M5X16-10.9 A2J (Triva
38
N516
N510017395AA
HEX. SOCKET HEAD CAP BOLT ロッカクアナツキホ
゙ルト
M5X30-10.9 A2J (Triva
16
N518
N510017401AA
HEX. SOCKET HEAD CAP BOLT ロッカクアナツキボルト
5 10H A2J (Trivalent)
2
N519
N510018499AA
ROUND PLAIN WASHER ミガキマルヒラザガネ
M6X25-10.9 A2J (Triva
4
N522
N510017437AA
HEX. SOCKET HEAD CAP BOLT ロッカクアナツキホ
゙ルト
M28
FN610055746AA_08-3
X-Yテーブル部(テーブル部2)
X-Y TABLE SECT.(TABLE SECT.-2)
4
FN610055746AA_08-4
M29