部品手册1N7203A389B - 第67页
PART No. イラスト No. REF No. PAR T NAME REMARKS Q'TY 5 ローダ・アンロータ ゙部(ロー ダ部1) LOADER & UN LOADER SE CT.(LOADER S ECT.-1) 部 品 名 品 番 個数 備 考 R 1 R 2 1 N610128952AA LOADER UNIT ロータ ゙ユニット 1 005 N210149404AE PLATE プレート …

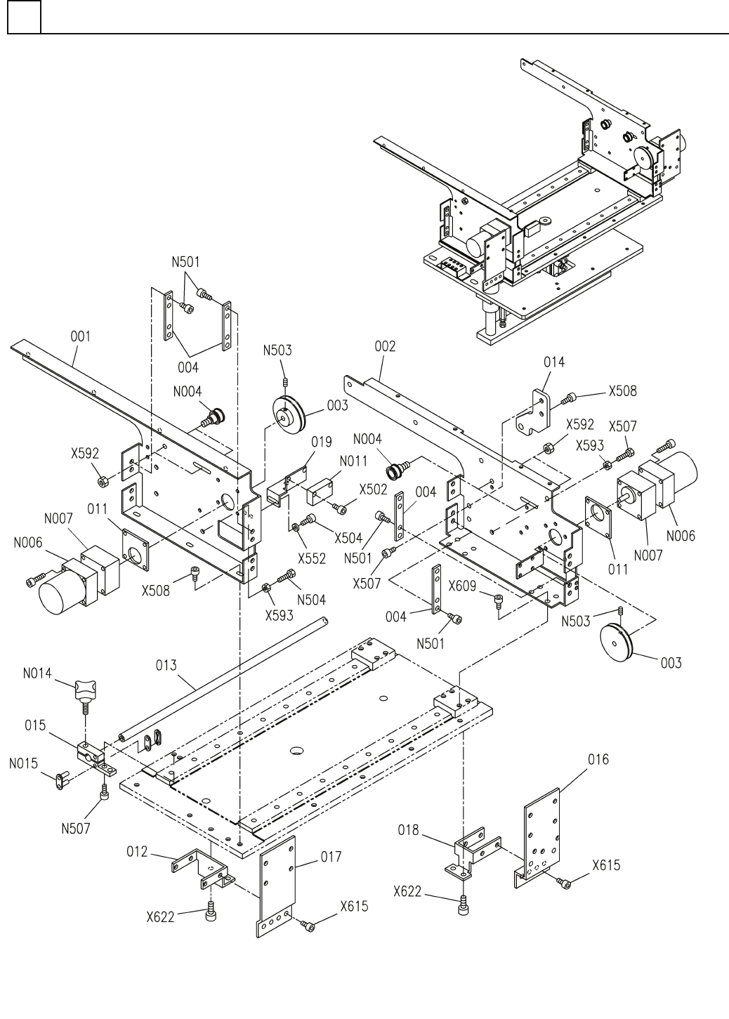
ローダ・アンローダ部(ローダ部1)
LOADER & UNLOADER SECT.(LOADER SECT.-1)
5
FN610128952AA_05-1
M35

PART No.
イラスト
No.
REF
No.
PART NAME
REMARKS
Q'TY
5
ローダ・アンローダ部(ローダ部1)
LOADER & UNLOADER SECT.(LOADER SECT.-1)
部 品 名 品 番 個数
備 考
R
1
R
2
1 N610128952AA
LOADER UNIT ロータ
゙ユニット
1
005 N210149404AE
PLATE プレート
1
006 N210153375AC
PLATE(BASE) プレート(ベース)
1008 N210149407AB
PLATE フ
゚レート
2009 N210149409AA
SHAFT シャフト
1
010 N210151020AA
STOPPER ストッパ
4
020 N210155077AA
SHAFT シャフト
1021 N210155076AA
PLATE フ
゚レート
Thick washer for M8
5
N002
N510020102AA
WASHER ザ
ガネ
AS2211F-01-06S
2
N003
KXF072PAA00
SPEED CONTROLLER スピードコントローラ
CDBQ2A40-50DC-RN-M9NV
1
N005
N510059464AA
CYLINDER シリンダ
MR12WNSS1V0N-390L-15-
2
N008
N510058905AA
LINEAR WAY リニアウェイ
SMKC20UU
2
N009
N510058906AA
BUSHING ブッシュ
N510013514AA S
1
N010
N510013514AA
TERMINAL ターミナル
87UST8-30
2
N012
N510027184AA
BOLT ボルト
87PLSBRK13-80
2
N013
N510058908AA
POST ホ
゚スト
SUB-M8X45
2
N016
N510060327AA
BOLT ボルト
M5X12-10.9 A2J (Triva
8
X508
N510017390AA
HEX. SOCKET HEAD CAP BOLT ロッカクアナツキボルト
M4X12-10.9 A2J (Triva
20
X616
N510017346AA
HEX. SOCKET HEAD CAP BOLT ロッカクアナツキボルト
M8X20-10.9 A2J (Triva
4
X516
N510017472AA
HEX. SOCKET HEAD CAP BOLT ロッカクアナツキホ
゙ルト
M8X30-10.9 A2J (Triva
5
X518
N510017475AA
HEX. SOCKET HEAD CAP BOLT ロッカクアナツキボルト
M4X8-10.9 A2J (Trival
2
X615
N510017381AA
HEX. SOCKET HEAD CAP BOLT ロッカクアナツキボルト
M4X20-10.9 A2J (Triva
1
X617
N510017354AA
HEX. SOCKET HEAD CAP BOLT ロッカクアナツキホ
゙ルト
4 10H A2J (Trivalent)
2
X552
N510018479AA
ROUND PLAIN WASHER コガ
カマルヒラザガネ
M6X16-10.9 A2J (Triva
8
X512
N510017433AA
HEX. SOCKET HEAD CAP BOLT ロッカクアナツキボルト
D-M9NV
2V 1 N510000684AA
SWITCH スイッチ
M36
FN610128952AA_05-1

ローダ・アンローダ部(ローダ部2)
LOADER & UNLOADER SECT.(LOADER SECT.-2)
5
FN610128952AA_05-2
M37