西门子技术培训资料TX等糸例 - 第236页
9 控制和通信 9.11 分析/常见错误列表 236 技术培训 SIPLACE TX系列 10/2016 9.11 分析/常见错误列表 代码 错误描述 可能的原因 操作 30447 30451 30456 30256 30262 ● GCU-GCU快速驱动总线上 通信中断 ● 指定的 CAN 总线关闭 ● 二级 CAN 总线关闭 ● 无法初始化CAN硬件 ● 无法初始化CAN界面 ● 线缆连接存在问题 ● CIN存在问题 ● CAN电路…

9 控制和通信
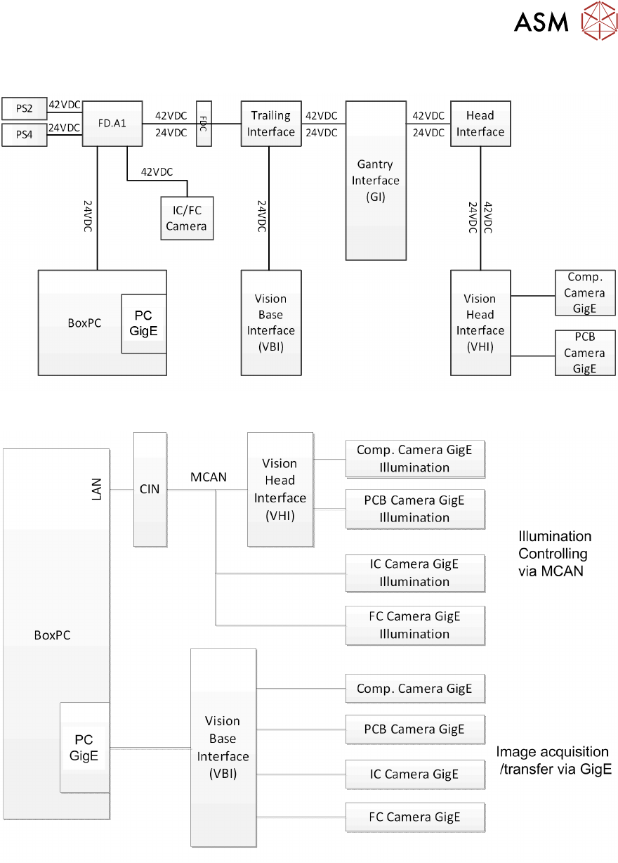
9.10 GigE视像系统
技术培训 SIPLACE TX系列 10/2016 235
GigE视像系统 电源概览
GigE视像系统 相机通信概览

9 控制和通信
9.11 分析/常见错误列表
236 技术培训 SIPLACE TX系列 10/2016
9.11 分析/常见错误列表
代码 错误描述 可能的原因 操作
30447
30451
30456
30256
30262
●
GCU-GCU快速驱动总线上
通信中断
●
指定的 CAN 总线关闭
●
二级 CAN 总线关闭
●
无法初始化CAN硬件
●
无法初始化CAN界面
●
线缆连接存在问题
●
CIN存在问题
●
CAN电路中某元件/电路
板出现问题
●
MGCU存在故障
●
适配板/HCU存在故障
●
检查电缆连接
●
重启贴片机
●
检查 CIN 上的状态
和开关设置
●
检查并重新下载
CAN 接口的固件
●
检查 CAN 电路中相
关印刷板上的状态/
指示
●
检查 MGCU/HMCU
的状态/指示
●
更好适配板/HCU
37752
●
相机照明LED测试出现故障
●
相机未拍摄图像
●
相机照明电源出现故障
●
LED出现故障,但是相
机可以操作
●
相机GigE存在问题
●
线缆GigE存在问题
●
检查照明电源的相
关电路
●
检查输出相关电源
(PS)
●
检查相机的功能
●
检查GigE电缆的连
接
33378
33520
33606
33331
●
相机无法寻址
●
相机线路板无法寻址
●
相机拍摄的图像丢失
●
PC和相机之间信号通路
中断
●
相机存在问题
●
检查 BoxPC 的电缆
连接
●
检查同轴电缆连接
和拖曳电缆接头
●
检查相机线缆
●
检查相机,必要时
进行更换
30365
30572
●
不允许移动轴,Z轴不在安
全位置
●
移动星形轴和Z轴时时序错
误
●
轴控制次序偶尔出现通
信错误
●
看到星形轴和Z轴的允
许的重叠区
●
执行贴片头轴回参
考点
●
检查贴片头和轴
●
整体回参考点
●
如果某段位器出现
故障,那么进行更
换

9 控制和通信
9.12 练习:控制和通信
技术培训 SIPLACE TX系列 10/2016 237
9.12 练习:控制和通信
1. 关于 TX 通信系统,下列哪项表述是正确的?
A CIN Box 可代替通信板(CAN 总线卡)。
B 影像 GigE 系统可代替影像 hotlink 系统。
C 一共有三种总线系统:CAN 总线、悬臂 CAN 总线以及 FDB。
D 以上各项均是。
2. TX 中的哪些部件不能通过 CAN 总线系统与 BOXPC 通信?
A CIN盒。
B 传送轨道控制器(TSP)。
C 供料器控制单元(FCU)、MHCU 和 MGCU。
D I/O单元(输入/输出模块)。
3. 关于部件更换,下列哪项表述是正确的?
A 更换 MGCU 后,无需进行任何设置。
B 更换 MHCU 后,无需进行任何设置。
C 更换 FCU 后,无需进行任何设置。
D 更换 CIN-Box 后,无需进行任何设置。
4. CIN-Box 通过 CAT5 电缆连接到 BoxPC 并通过 CAN 总线电缆与子系统通信。
正确 …………………………………………………………………………………………………
错误 …………………………………………………………………………………………………
5. 列出由 CAN 总线控制的所有子系统。
………………………………………………………………………………………………………
………………………………………………………………………………………………………
………………………………………………………………………………………………………
………………………………………………………………………………………………………
6. 列出由 FCU 控制的所有部件。
………………………………………………………………………………………………………
………………………………………………………………………………………………………
………………………………………………………………………………………………………
………………………………………………………………………………………………………