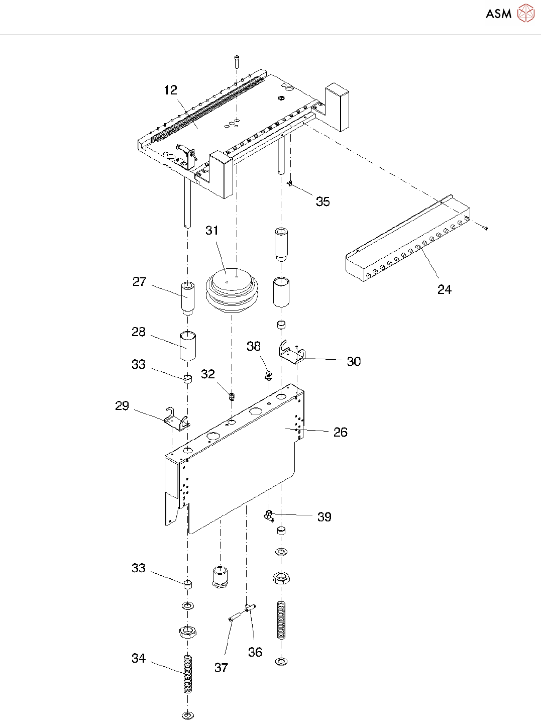
Components carriage D1_20211122_064153 - 第6页
Components carriage D1 Page 6 / 9 22.11.2021

Components carriage D1
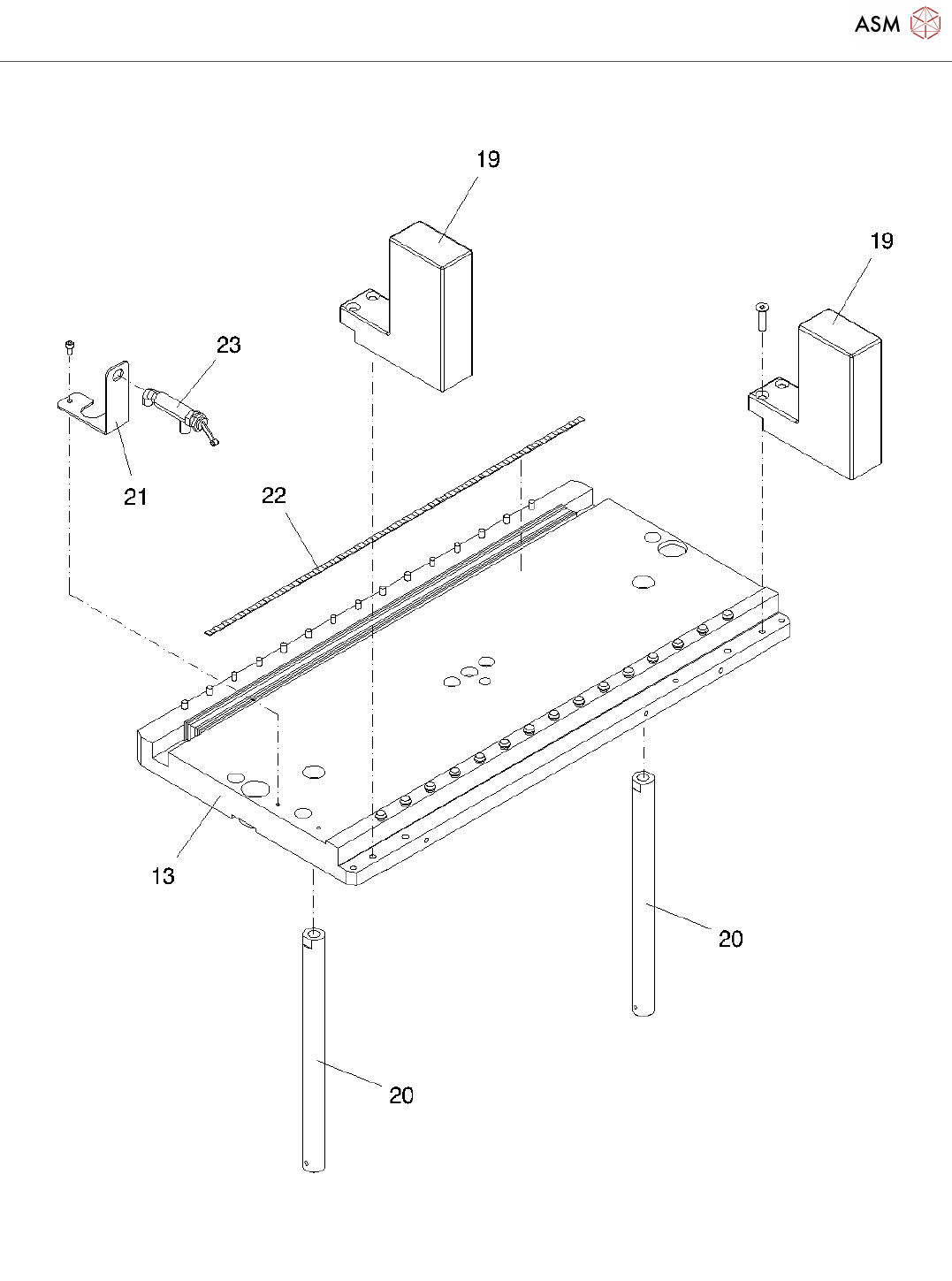
Page 5 / 9 22.11.2021

Components carriage D1
Page 6 / 9 22.11.2021

Components carriage D1
Page 7 / 9 22.11.2021
Components carriage D1 Page 6 / 9 22.11.2021


