JX-300LED-Rev02.pdf - 第57页
- 52 - NO TE( 注記 ) * IN STALLAT IO N PSIT IO N AND DIRECTI O N VARY IF TH E P WB TRA NSF E R R EFE REN CE IS DI FFERE NT . 基板搬送基準が異なると取付位置、方向が変わります。 REF . NO N OT E PA RT NO D E S C R I P T I O N 品 名 Q ty 1 401-36094 RAI…

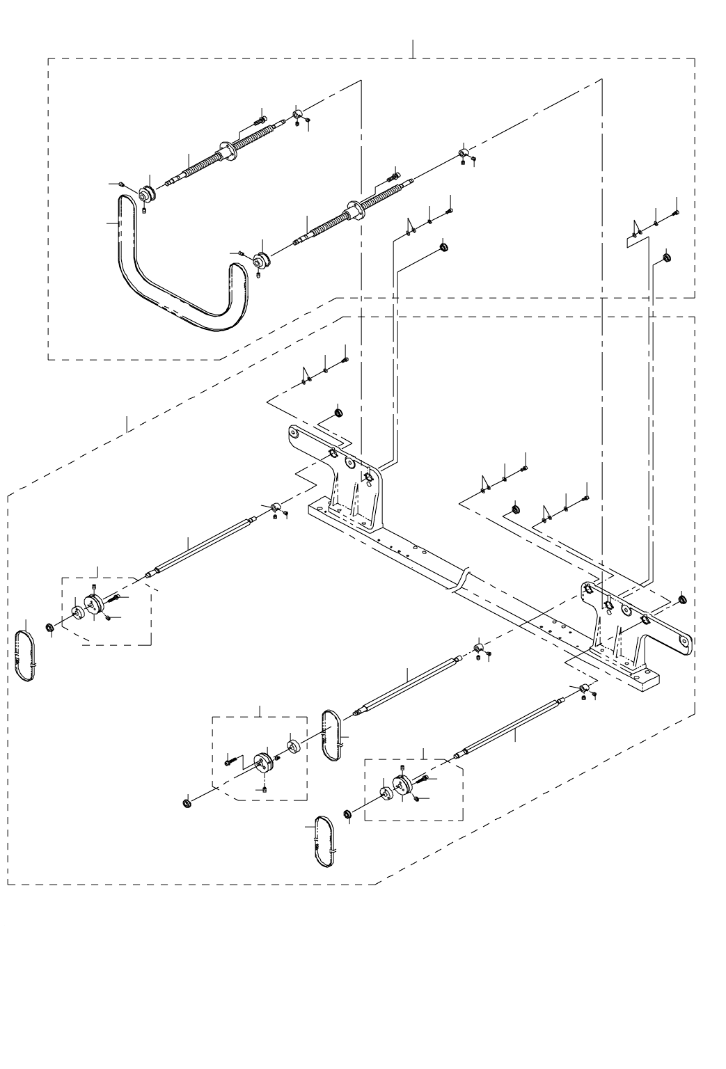
- 51 -
26.PWB CONVEYOR COMPONENTS (4)
基板搬送関係(4)
A
A
B
B
2
3
4
5
6
6
18
18
18
7
7
9
8
10
11
13
16
19
20
21
22
23
24
27
26
25
28
29
30
3234
35
33
34
35
33
35
34
33
31
36
41
38
39
40
37
42
41
14
15
17
1
49
48
52
53
53
64
64
50
51
54
55
57
59
62
66
67
65
68
69
70
73
71
72
74
75
76
79
81
79
81
80
80
79
80
81
79
80
81
79
80
56
45
C
C
81
79
80
82
78
83
84
44
77
85
88
87
86
46
46
47
60
52
64
15
17
63
61
61
63
43
18
7
12
58
53
64
E
D
E
D

- 52 -
NOTE( 注記 ) *INSTALLATION PSITION AND DIRECTION VARY IF THE PWB TRANSFER
REFERENCE IS DIFFERENT.
基板搬送基準が異なると取付位置、方向が変わります。
REF.NO NOTE PART NO D E S C R I P T I O N
品 名
Qty
1 401-36094 RAIL PLATE RL ASM
レールプレート RL 組
1
2 400-01063 RAIL PLATE RL(L) レールプレート RL(L) (1)
3 400-11072 JOINT PLATE F(150)
ジョイントプレート F(150)
(1)
4 400-11053 RAIL PLATE F(150)
レールプレート F(150)
(1)
5 401-35862 CONVEYOR_RAIL_B_1
コンベアレール_ B _1
(1)
6 SL-6041292-TN SCREW
座金付き六角穴ボルト
(3)
7 NM-3040520-SF FLANGE NUT M4 フランジ付きナット (5)
8 401-35861 CONVEYOR_RAIL_A
コンベアレール_ A
(1)
9 SL-6030692-TN SCREW M3 L=6
座金付き六角穴ボルト M 3 L =6
(4)
10 401-35864 PWB_GUIDE_A_SPACER
PWB _ガイド_ A _スペーサ
(1)
11 E2208-723-000 PWB GUIDE 6S
PWB ガイド6 S
(1)
12 SL-6031092-TN SCREW 座金付き六角穴ボルト (3)
13 401-35865 PWB_GUIDE_B_SPACER
PWB _ガイド_ B _スペーサ
(1)
14 SL-6030892-TN SCREW M3 L=8
座金付き六角穴ボルト M 3 L =8
(3)
15 SB-8160001-00 BEARING
ころがり軸受
(2)
16 401-35866 PWB_INNER_SPACER
PWB _インナースペーサ
(1)
17 SM-6041002-TN BOLT 六角穴ボルト (8)
18 SL-6041092-TN SCREW
座金付き六角穴ボルト
(5)
19 E2111-715-0A0 CONVEYOR PULLEY ASM.
搬送プーリ(組)
(1)
20 E2214-723-000 PULLEY SPACER 8.4
プーリスペーサ8.4
(1)
21 SM-4042001-SC SCREW M4X0.7 L=20
なべ小ねじ M 4 X 0.7 L =20
(1)
22 WP-0430801-SC WASHER M4 平座金 M 4 (1)
23 WS-0410002-KN SPRING WASHER M4
ばね座金 M 4
(1)
24 NM-6040001-SC NUT M4X0.7 TYPE1
六角ナット M 4 X 0.7 1種
(1)
25 E2089-721-0A0 CONVEYOR PULLEY B ASM.
搬送プーリ B 組
(1)
26 E2055-721-000 PULLEY SPACER
プーリスペーサ
(1)
27 SM-4042501-SC SCREW M4X0.7 L=25 なべ小ねじ M 4 X 0.7 L =25 (1)
28 WP-0430801-SC WASHER M4
平座金 M 4
(1)
29 WS-0410002-KN SPRING WASHER M4
ばね座金 M 4
(1)
30 NM-6040001-SC NUT M4X0.7 TYPE1
六角ナット M 4 X 0.7 1種
(1)
31 400-01059 SUPPORT PLATE RL ASM(L)
サポートプレート RL 組(L)
(1)
32 400-01064 SUPPORT PLATE RL(L) サポートプレート RL(L) (1)
33 E2111-715-0A0 CONVEYOR PULLEY ASM.
搬送プーリ(組)
(3)
34 WP-0430800-SC WASHER M4
平座金小形丸 M 4
(2)
35 SM-4040855-SC SCREW
なべ小ねじ M 4 L =8
(1)
36 SL-6041092-TN SCREW
座金付き六角穴ボルト
(2)
37 400-00839 DRIVE_PULLEY_R_ASM
ドライブプーリ R 組
(1)
38 400-00840 DRIVE_PULLEY_R ドライブプーリ R (1)
39 E2160-721-000 PULLEY FLANG E
プーリフランジ
(1)
40 SL-6030892-TN SCREW M3 L=8
座金付き六角穴ボルト M 3 L =8
(3)
41 E3931-750-000 PULLEY WASHER
プーリ スラスト ワッシャ
(2)
42 E2160-721-000 PULLEY FLANG E
プーリフランジ
(1)
43 401-36095 RAIL PLATE RR ASM レールプレート RR 組 1
44 NM-6040001-SC NUT M4X0.7 TYPE1
六角ナット M 4 X 0.7 1種
(1)
45 SL-6041092-TN SCREW
座金付き六角穴ボルト
(2)
46 E3931-750-000 PULLEY WASHER
プーリ スラスト ワッシャ
(4)
47 E2160-721-000 PULLEY FLANG E
プーリフランジ
(2)
48 400-01061 RAIL PLATE RR(L) レールプレート RR(L) (1)
49 400-11072 JOINT PLATE F(150)
ジョイントプレート F(150)
(1)
50 400-11054 RAIL PLATE R(150)
レールプレート R(150)
(1)
51 401-35863 CONVEYOR_RAIL_B_2
コンベアレール_ B _2
(1)
52 SL-6041292-TN SCREW
座金付き六角穴ボルト
(3)
53 NM-3040520-SF FLANGE NUT M4 フランジ付き ナット M 4 (5)
54 401-35861 CONVEYOR_RAIL_A
コンベアレール_ A
(1)
55 SL-6030692-TN SCREW M3 L=6
座金付き六角穴ボルト M 3 L =6
(4)
56 401-35864 PWB_GUIDE_A_SPACER
PWB _ガイド_ A _スペーサ
(1)
57 E2208-723-000 PWB GUIDE 6S
PWB ガイド6 S
(1)
58 SL-6031092-TN SCREW 座金付き六角穴ボルト (3)
59 401-35865 PWB_GUIDE_B_SPACER
PWB _ガイド_ B _スペーサ
(1)
60 SL-6030892-TN SCREW M3 L=8
座金付き六角穴ボルト M 3 L =8
(6)
61 SB-8160001-00 BEARING
ころがり軸受
(2)
62 401-35866 PWB_INNER_SPACER
PWB _インナースペーサ
(1)
63 SM-6041002-TN BOLT 六角穴ボルト (8)
64 SL-6041092-TN SCREW
座金付き六角穴ボルト
(5)
65 E2111-715-0A0 CONVEYOR PULLEY ASM.
搬送プーリ(組)
(1)
66 E2214-723-000 PULLEY SPACER 8.4
プーリスペーサ8.4
(1)
67 SM-4042001-SC SCREW M4X0.7 L=20
なべ小ねじ M 4 X 0.7 L =20
(1)
68 WP-0430801-SC WASHER M4 平座金 M 4 (1)
69 WS-0410002-KN SPRING WASHER M4
ばね座金 M 4
(1)
70 NM-6040001-SC NUT M4X0.7 TYPE1
六角ナット M 4 X 0.7 1種
(1)
71 E2089-721-0A0 CONVEYOR PULLEY B ASM.
搬送プーリ B 組
(1)
72 E2055-721-000 PULLEY SPACER
プーリスペーサ
(1)
73 SM-4042501-SC SCREW M4X0.7 L=25 なべ小ねじ M 4 X 0.7 L =25 (1)
74 WP-0430801-SC WASHER M4 平座金 M 4 (1)
75 WS-0410002-KN SPRING WASHER M4
ばね座金 M 4
(1)
76 NM-6040001-SC NUT M4X0.7 TYPE1
六角ナット M 4 X 0.7 1種
(1)
77 400-01062 SUPPORT PLATE RR ASM(L)
サポートプレート RR 組(L)
(1)
78 400-01069 SUPPORT PLATE RR(L)
サポートプレート RR(L)
(1)
79 E2111-715-0A0 CONVEYOR PULLEY ASM. 搬送プーリ(組) (7)
80 WP-0430800-SC WASHER M4
平座金小形丸 M 4
(7)
81 SM-4040855-SC SCREW
なべ小ねじ M 4 L =8
(7)
82 SM-4042501-SC SCREW M4X0.7 L=25
なべ小ねじ M 4 X 0.7 L =25
(1)
83 WP-0430801-SC WASHER M4
平座金 M 4
(1)
84 WS-0410002-KN SPRING WASHER M4 ばね座金 M 4 (1)
85 400-00839 DRIVE_PULLEY_R_ASM
ドライブプーリ R 組
(2)
86 400-00840 DRIVE_PULLEY_R
ドライブプーリ R
(1)
87 E2160-721-000 PULLEY FLANG E
プーリフランジ
(1)
88 SL-6030892-TN SCREW M3 L=8
座金付き六角穴ボルト M 3 L =8
(3)

- 53 -
27.PWB CONVEYOR COMPONENTS (5)
基板搬送関係(5)
21
21
21
13
1
26
3
11
7
6
16
18
17
26
16
18
17
26
20
20
17
16
19
22
24
23
25
26
14
27
3
10
2
5
24
5
6
19
8
10
14
8
22
22
11
7
15
23
25
19
4
12
4
24
23
25
26
26
9
27
9
14
27
12
18