SP18 机械Parts List - 第70页
7-A 認識 ユニット Recognition Unit パーツレイアウト Kit No. キット品 番 Kit Name キット名称 N610025641AA セクションNo. PARTS LAYOUT Section No. M53

Ref
No.
Remarks
R
1
Q't
y
6-B
スキージヘッド
Squeegee Head
イラスト
No.
Part No.
品 名品番 数量
R
2
パーツリスト
Kit No.
キット品
番
Kit Name
キット名称
N610012848AA
Part Name
備 考
セクションNo.
PARTS LIST
Section No.
R
3
PLATE
2
5 N210025248AD
PLATE
1
6 N210043193AB
PLATE
1
7 N210043194AB
PLATE
2
8 N210043195AA
GUIDE
4
9 N210043196AB
BUSH
4
18 KXF096CAA00 SMF16GWUU
LM-SHAFT
4
19 N510016377AA SN16X147-CNMBN
BOLT
4
20 N510017730AA
Hexagon head bolt Best class M4X25-6g 4T A2J (Trivalent)
SPRING
8
21 N510022832AA 87UM8-10
JOINT
2
22 N510021215AA 87FJT10-1.25-6
BEARING
4
23 KXF07EGAA00 UP000
SHAFT
2
24 N510020782AA 87SFJ10-55
WASHER
4
25 N510020766AA KK16
SPRING
4
27 N510020783AA WWY10-30
SCREW
4
31 N510018384AA
Hexagon socket set screw Cup point M5X8-45H A2J (Trivalent)
PIN
2
32 N510021877AA MMSTP8-30
PIN
2
33 N510021878AA MMSTP10-30
BOLT
16
35 N510017344AA
Hexagon socket head cap screw M4X10-10.9 A2J (Trivalent)
BOLT
2
38 N510017386AA
Hexagon socket head cap screw M5X10-10.9 A2J (Trivalent)
BOLT
4
40 N510017401AA
Hexagon socket head cap screw M5X30-10.9 A2J (Trivalent)
BOLT
2
41 N510017428AA
Hexagon socket head cap screw M6X12-10.9 A2J (Trivalent)
BOLT
8
42 N510017435AA
Hexagon socket head cap screw M6X20-10.9 A2J (Trivalent)
BOLT
4
45 N510017470AA
Hexagon socket head cap screw M8X16-10.9 A2J (Trivalent)
WASHER
8
52 N510018481AA
Small round-plain washer 6 10H A2J (Trivalent)
NUT
4
54 N510017855AA
Hexagon nut Type-1 Best class M4-6H-4T A2J (Trivalent)
SCREW
5
68 XYN4+J8FN
Cross recessed Pan head machine screw with Spring washer & Small roun
WASHER
5
69 N510018762AA
Toothed lock washer 4 External toothed Steel Unichrome white (Trivalent)
BOLT
8
80 N610039327AA
BOLT
8
84 N510017433AA
Hexagon socket head cap screw M6X16-10.9 A2J (Trivalent)
CYL-NUT
2
87 N210055403AA
Cylinder
1
88 N610026803AA Limit Switch:-B1A03-B1A04
Cylinder
1
89 N610026805AB Limit Switch:-B1A05 -B1A06 -B1A10
SPEED-CONTROLLER
2
92 N406SC3W66 SC3W-6-6
SPEED-CONTROLLER
2
93 KXF09WUAA00 ASD330F-01-06S
M52

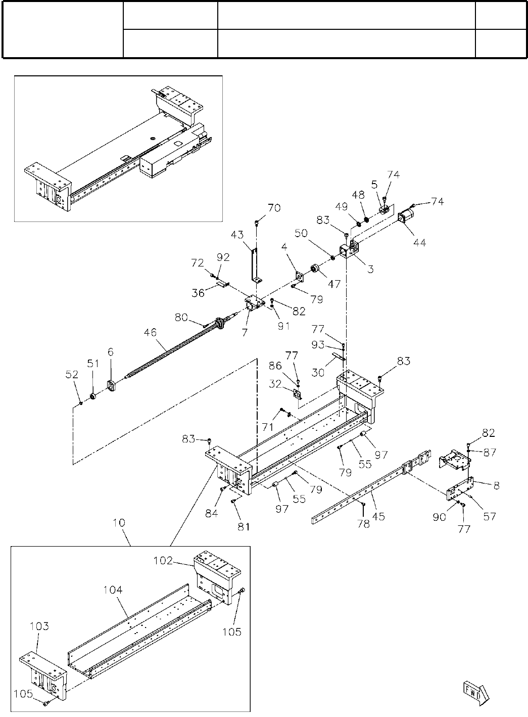
7-A
認識
ユニット
Recognition Unit
パーツレイアウト
Kit No.
キット品
番
Kit Name
キット名称
N610025641AA
セクションNo.
PARTS LAYOUT
Section No.
M53

Ref
No.
Remarks
R
1
Q't
y
7-A
認識
ユニット
Recognition Unit
イラスト
No.
Part No.
品 名品番 数量
R
2
パーツリスト
Kit No.
キット品
番
Kit Name
キット名称
N610025641AA
Part Name
備 考
セクションNo.
PARTS LIST
Section No.
R
3
BRACKET
1
3 N210040910AA
PLATE
1
4 N210025238AA
COUPLING
1
5 N210025764AA
PLATE
1
6 N210025765AA
BRACKET
1
7 N210042792AA
PLATE
1
8 N210040264AA
FRAME
1
10 N610034371AA
DOG
1
30 N210040268AA
BRACKET
1
32 KXFB0335A00
DOG
1
36 N210040274AA
BRACKET
1
43 N210042565AA
MOTOR
1
44 MSMD012PJA
S
MSMD012PJA
LINEAR-WAY
1
45 N510016321AA LWLF30C2R760BCSE204
BALL-SCREW
1
46 N510035670AA BLK1616S-3.6ZZG0+718LCp5R©(31964771K002)
BEARING
1
47 KXF0A1QAA00 7201T2DF/GNP5
BEARING-NUT
1
48 KXF0E3M2A00 AN01
BEARING-WASHER
1
49 KXF0E3LDA00 AW01
WASHER
1
50 N510020756AA KK20
BEARING
1
51 XLC6000ZZ Ball bearing 6000ZZ
C-RING
1
52 KXF04CRAA00 STW-10
SPACER
2
55 N510019867AA 3382330-40080
PIN
2
57 N986MMS410 MMS4-10
BOLT
4
70 N510019942AA WA SOCKET SP TYPE M5X6L A2J (Trivalent)
BOLT
5
71 N510017534AA
Hexagon socket button head screw M4X6-10.9 A2J (Trivalent)
BOLT
2
72 N510017341AA
Hexagon socket head cap screw M3X8-10.9 A2J (Trivalent)
BOLT
10
74 N510017308AA
Hexagon socket head cap screw M3X12-10.9 A2J (Trivalent)
BOLT
12
77 N510017344AA
Hexagon socket head cap screw M4X10-10.9 A2J (Trivalent)
BOLT
19
78 N510017346AA
Hexagon socket head cap screw M4X12-10.9 A2J (Trivalent)
BOLT
6
79 N510017351AA
Hexagon socket head cap screw M4X16-10.9 A2J (Trivalent)
BOLT
4
80 N510017354AA
Hexagon socket head cap screw M4X20-10.9 A2J (Trivalent)
BOLT
1
81 N510017419AA
Hexagon socket head cap screw M5X8-10.9 A2J (Trivalent)
BOLT
4
82 N510017390AA
Hexagon socket head cap screw M5X12-10.9 A2J (Trivalent)
BOLT
20
83 N510017395AA
Hexagon socket head cap screw M5X16-10.9 A2J (Trivalent)
BOLT
2
84 N510017398AA
Hexagon socket head cap screw M5X20-10.9 A2J (Trivalent)
WASHER
2
86 N510018497AA
Round finish plain washer 4 10H A2J (Trivalent)
WASHER
2
87 N510018499AA
Round finish plain washer 5 10H A2J (Trivalent)
WASHER
8
90 N510018479AA
Small round-plain washer 4 10H A2J (Trivalent)
WASHER
2
91 N510018480AA
Small round-plain washer 5 10H A2J (Trivalent)
WASHER
2
92 N510020098AA Thick washer for M3
WASHER
2
93 N510020099AA Thick washer for M4
STOPPER
2
97 N210048712AA
BRACKET
1
102 N210040239AB
BRACKET
1
103 N210040240AB
FRAME
1
104 N610034375AA
BOLT
14
105 N510017398AA
Hexagon socket head cap screw M5X20-10.9 A2J (Trivalent)
M54