NC base structure CPX all cpl., short_20211123_071119 - 第4页

NC base structure CPX all cpl., short Page 4 / 4 23.11.2021 Pos. Item no. Description Part marking 1 03147925S01 NC CPX/ALL SHORT ASSY SPARE PART 2 03147925S01 NC CPX/ALL SHORT ASSY SPARE PART 3 03103648-01 BASE PLATE CP…

100%1 / 4
NC base structure CPX all cpl., short
Page 2 / 4 23.11.2021
NC base structure CPX all cpl., short
Page 3 / 4 23.11.2021
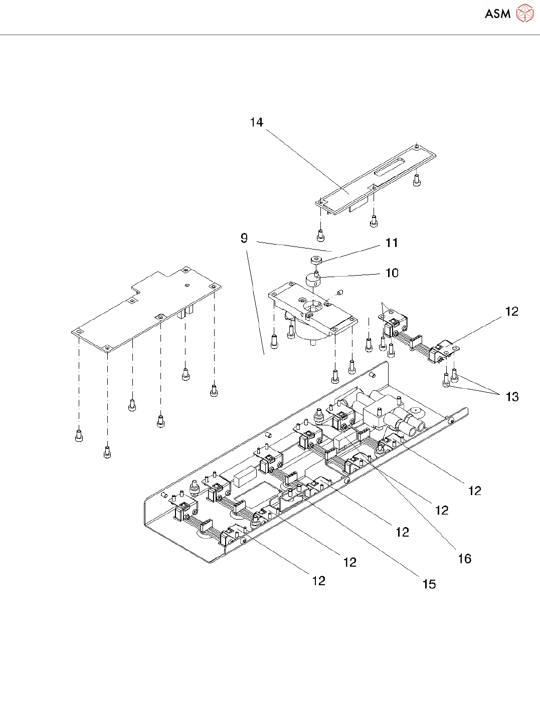
NC base structure CPX all cpl., short
Page 4 / 4 23.11.2021
Pos. Item no. Description Part marking
1 03147925S01 NC CPX/ALL SHORT ASSY SPARE PART
2 03147925S01 NC CPX/ALL SHORT ASSY SPARE PART
3 03103648-01 BASE PLATE CPX/ALL CPL., SHORT
4 03001821-01 BALL FOR SNAP FASTENER SPARE PART
5 03103518-01 LEVER NARROW CPL. SPARE PART
6 03070126-01 SLIDER CPX SHORT CPLT.
7 00316904-01 DIN 125-A 3,2-140HV-A2
8 00321948-01 HEXAGON NUT M3
9 03063318-01 DRIVE CPX CPLT.
10 03072689-01 EXCENTRIC CPX CPLT.
11 00200335S01 BALL BEARING 3*8*3 619/3-2Z WEAR PART
12 03063425S01 SWITCH UNIT CPX CPLT. SPARE PART
13 00201533-01 HEXAGON SOCKET HEAD CAP
SCREW M2 X 5-A2
14 03069337-02 PCB / SUB-PCB CPX KPLT.
15 03070371-01 LIGHT BARRIER ANGLE CPX
16 03072807-02 CONNECTING CABLE CPX
03073219-01 HOSE 1 DRIVE CPX / 200MM
00359177S01 HOSE 4*2,5 PUN-CM-4 (PLACEMENT
HEAD)
SPARE PART
00334212-01 KABEL: STEUERPL.
PIPETTENWECHS. - VENTIL
03088798-01 CONNECTING TUBE DRIVE CPX /
105MM
00359177S01 HOSE 4*2,5 PUN-CM-4 (PLACEMENT
HEAD)
SPARE PART
03073221-01 CONNECTING TUBE CPX
00359177S01 HOSE 4*2,5 PUN-CM-4 (PLACEMENT
HEAD)
SPARE PART
24 03100633-01 ISO 7089 - 3 - 200 HV - A2 STANDARD PARTS
Powered by TCPDF (www.tcpdf.org)