Nordson_EFD_Rhino_SD2_XD2_Operating Manual - 第21页
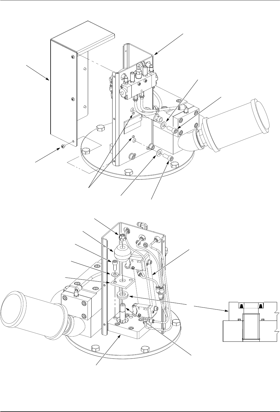
Rhino SD2/XD2 Pumps 17 Part 1073520-12 E 2013 Nordson Corporation 3 4 5 2 1 6 5 4 7 8 9 10 11 13 12 15 14 16 U-CUP ORIENT A TION Figure 9 Replacing the T rip-Rod U-Cup

Rhino SD2/XD2 Pumps
16
E 2013 Nordson Corporation
Part 1073520-12
Air Motor
The following paragraphs provide repair procedures for
the air motor section.
Replace the Trip-Rod U-Cup
The trip-rod U-cup can be replaced without removing the
air motor from the pump.
Remove the Trip-Rod U-Cup
1. See Figure 9. Remove the screws (2) securing the
cover (1) to the trip-rod assembly (6).
2. Remove the screws (5) and washers (4)
securing the trip-lever mounting pad (15) to
the trip-rod assembly (6).
3. Swing the trip-lever mounting pad (15) away from the
seal retainer plate (11).
4. Place a wrench on the flats of the piston rod (13).
Remove the nut (7) securing the trip-bar (8) to the
piston rod.
5. Remove the screws (9) and washers (10) securing
the seal retainer plate (11) to the trip-rod
retainer (12).
! CAUTION !
Use a small screwdriver or an O-ring pick in
the next step to prevent damage to the U-cup
bore and piston rod.
6. Remove the U-cup (14) from the trip-rod
retainer (12). Discard the U-cup.
Install the Trip-Rod U-Cup
1. See Figure 9. Lubricate the new U-cup (14) with
TFE grease (16). Insert the U-cup into the trip-rod
retainer (12) as shown.
2. Install the seal retainer plate (11) onto the trip-rod
retainer (12) using the screws (9) and washers (10).
Tighten the screws to 22−25 ft-lb (30−33 Nm).
3. Place a wrench on the flats of the piston rod (13).
Install the trip-bar (8) to the piston rod using the
nut (7). Tighten the nut securely.
4. Perform the following:
a. Make sure that the mounting pad pins (3)
protrude through the trip-rod assembly (6)
as shown.
b. Secure the trip-lever mounting pad (15) to
the trip-rod assembly using the screws (5)
and washers (4). Tighten the screws
to 22−25 ft-lb (30−33 Nm).
5. Install the cover (1) to the trip-rod assembly using the
screws (2). Tighten the screws securely.

Rhino SD2/XD2 Pumps
17
Part 1073520-12
E 2013 Nordson Corporation
3
4
5
2
1
6
5
4
7
8
9
10
11
13
12
15
14
16
U-CUP
ORIENTATION
Figure 9 Replacing the Trip-Rod U-Cup

Rhino SD2/XD2 Pumps
18
E 2013 Nordson Corporation
Part 1073520-12
Replace a Pilot Valve
The pilot valves can be replaced without removing the air
motor from the pump.
Remove and Install a New Pilot Valve
1. See Figure 10. Remove the screws (1) securing the
cover (2) to the trip-rod assembly (3).
2. Disconnect the tubing (4, 5 or 6, 7) from the pilot
valve (9 or 13).
3. Remove the screw (11) and washer (10) securing the
pilot valve (9 or 13) to the mounting pad (8).
4. Install the pilot valve (9 or 13) to the mounting
pad (8) using the washer (10) and screw (11).
Thread the screw into the mounting pad. Do not
tighten the screw at this time.
Adjust the New Pilot Valve
1. Cycle the air motor:
a. Upper Pilot Valve—Cycle the air motor until the
trip-bar (12) is fully extended.
b. Lower Pilot Valve—Cycle the air motor until the
trip-bar (12) is fully retracted.
2. Set the gap between the roller lever on the pilot
valve (9 or 13) and the trip-bar (12):
a. Make sure that pilot valve moves freely and that
the roller lever is bottomed out.
b. Using the adjustment set screw, move the
pilot valve in or out to obtain a gap of
0.040−0.070 in. (1.02−1.78 mm) between the
roller lever on the pilot valve and the trip-bar.
Tighten the hold-down screw securely.
3. Connect the tubing (4, 5 or 6, 7) to the pilot
valve (9 or 13). See Figure 25 in the Specifications
section for the proper tube routings.
4. Install the cover (1) to the trip-rod assembly using the
screws (2). Tighten the screws securely.