Nordson_EFD_Rhino_SD2_XD2_Operating Manual - 第29页
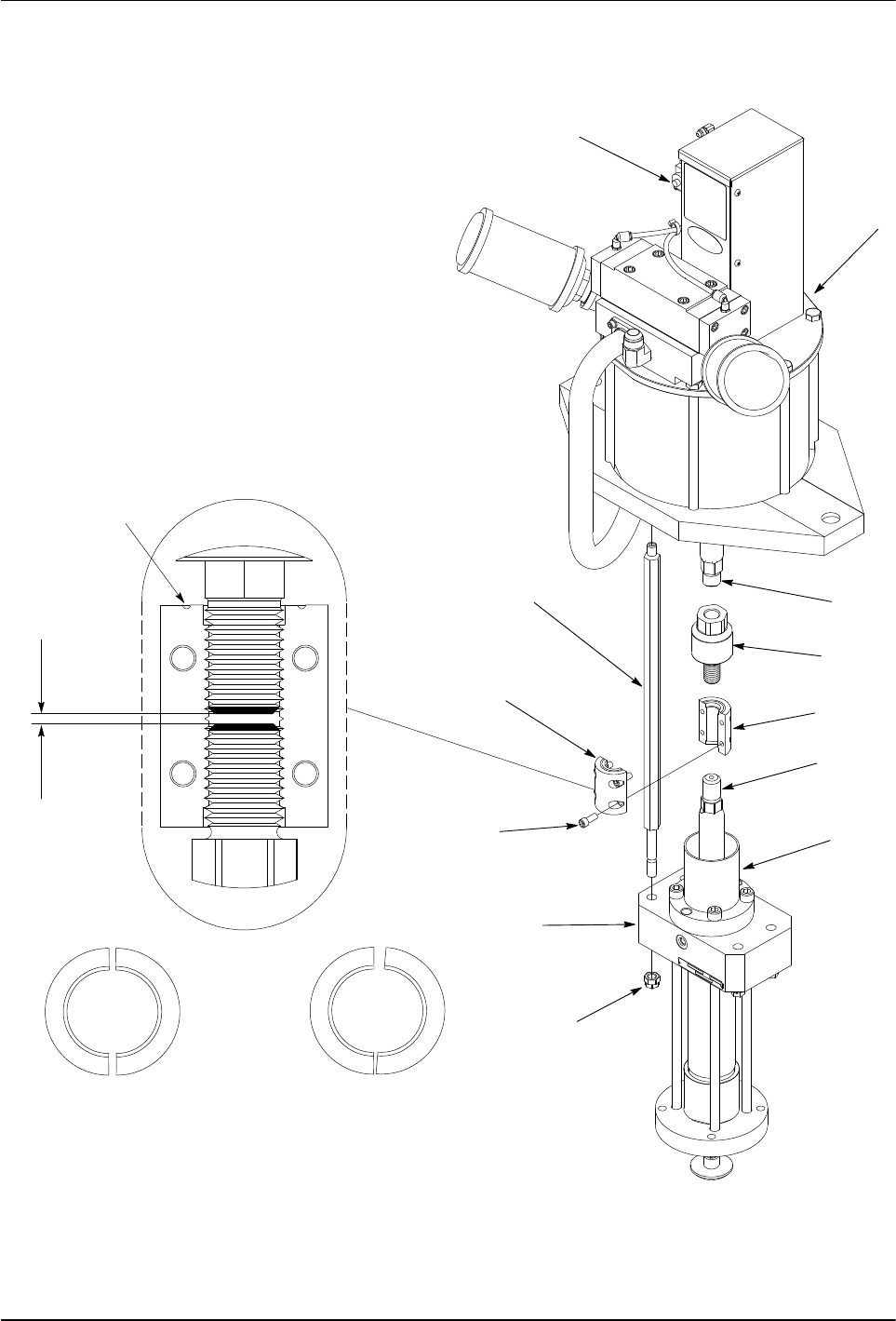
Rhino SD2/XD2 Pumps 25 Part 1073520-12 E 2013 Nordson Corporation EQUAL COUPLING GAPS UNEQUAL COUPLING GAPS GROOVED END 0.030 − 0.100 IN. (0.762 − 2.54 MM) 6 7 8 9 1 4 10 2 3 5 9 11 Figure 14 Assembling the Pump

Rhino SD2/XD2 Pumps
24
E 2013 Nordson Corporation
Part 1073520-12
Assemble the Pump
1. See Figure 14. Apply threadlock adhesive to the
male threads of the air motor shaft (2). Install the
floating coupling shaft (3) onto the air motor shaft and
tighten to 200−220 ft-lb (272−298 Nm).
2. Install the connecting rods (10) to the air motor (1)
and tighten to 60−65 ft-lb (81.5−88 Nm).
3. Install the hydraulic section (7) onto the connecting
rods (10) using the nuts (6). Tighten the nuts to
60−65 ft-lb (81.5−88 Nm).
4. Install the solvent chamber (5) onto the hydraulic
section (7).
NOTE: The split coupler halves are a matched set.
Each half is stamped with the same serial number.
Make sure that grooved end of each half is
facing upward.
5. If necessary, use the manual overrides (11) to cycle
the air motor (1) and position the floating coupling
shaft (3) closer to the plunger rod (4).
6. Perform the following:
a. Center the split coupler halves (9) between the
hexagonal features of the two mating shafts.
b. Make sure that there is a 0.030−0.100 in gap
between the shaft ends as shown when the shaft
threads and the split coupler threads mate.
c. For fine adjustment of the gap, hold the split
coupler in place and use a
15
/
16
-in wrench to
rotate the floating coupling shaft (3).
NOTE: When performing the next step make sure that
the gaps between the split coupler halves are equal.
7. Apply threadlock adhesive to the threads of the split
coupler screws (8). Install the coupler screws and
tighten to 14−16 ft.-lb (10−21 Nm).
8. Perform one of the following:
STANDARD HYDRAULIC SECTIONS: Using Type-K
solvent, fill the solvent chamber to 0.75 in.
from the top.
STAINLESS STEEL HYDRAULIC SECTIONS: Using Mobil
SHC 634, fill the solvent chamber to 0.75 in. from
the top.

Rhino SD2/XD2 Pumps
25
Part 1073520-12
E 2013 Nordson Corporation
EQUAL COUPLING GAPS UNEQUAL COUPLING GAPS
GROOVED END
0.030−0.100 IN.
(0.762−2.54 MM)
6
7
8
9
1
4
10
2
3
5
9
11
Figure 14 Assembling the Pump

Rhino SD2/XD2 Pumps
26
E 2013 Nordson Corporation
Part 1073520-12
Parts
Table 2 lists the air motor and hydraulic section sizes
along with the part numbers for the applicable pump
ratio. Refer to the Air Motor and Hydraulic Sections parts
lists for detailed ordering information.
To order parts, call the Nordson Customer Service
Center or your local Nordson representative.
Table 2 Air Motor and Hydraulic Section Sizes
Pump
Ratio
Air Motor Size
(Part Number)
Hydraulic Section Size
(Part Number)
48:1 SD2
10-Inch
NPT Port
(1077362)
8.1 cu. in.
(1081133)
48:1 SD2
Temp. Cond.
8.1 cu. in.
(1085369)
48:1 XD2
8.1 cu. in.
(1081132)
48:1 XD2
Stainless Steel
8.1 cu. in.
(1058351)
48:1 XD2
Temp. Cond.
8.1 cu. in.
(1085368)
65:1 SD2
5.8 cu. in.
(1081130)
65:1 SD2
Temp. Cond.
5.8 cu. in.
(1085367)
65:1 XD2
5.8 cu. in.
(1081131)
65:1 XD2
Temp. Cond.
5.8 cu. in.
(1084888)
Common Parts
See Figure 15 and the following parts list.
1
5
7
6
3
4
2
8
9
Figure 15 Common Parts