Nordson_EFD_Rhino_SD2_XD2_Operating Manual - 第31页
Rhino SD2/XD2 Pumps 27 Part 1073520-12 E 2013 Nordson Corporation Item Part Description Qty Note — 1073854 Pump, air motor assembly , 48:1, 8.1 cubic inch, SD2 1 — 1073857 Pump, air motor assembly , 48:1, 8.1 cubic inch,…

Rhino SD2/XD2 Pumps
26
E 2013 Nordson Corporation
Part 1073520-12
Parts
Table 2 lists the air motor and hydraulic section sizes
along with the part numbers for the applicable pump
ratio. Refer to the Air Motor and Hydraulic Sections parts
lists for detailed ordering information.
To order parts, call the Nordson Customer Service
Center or your local Nordson representative.
Table 2 Air Motor and Hydraulic Section Sizes
Pump
Ratio
Air Motor Size
(Part Number)
Hydraulic Section Size
(Part Number)
48:1 SD2
10-Inch
NPT Port
(1077362)
8.1 cu. in.
(1081133)
48:1 SD2
Temp. Cond.
8.1 cu. in.
(1085369)
48:1 XD2
8.1 cu. in.
(1081132)
48:1 XD2
Stainless Steel
8.1 cu. in.
(1058351)
48:1 XD2
Temp. Cond.
8.1 cu. in.
(1085368)
65:1 SD2
5.8 cu. in.
(1081130)
65:1 SD2
Temp. Cond.
5.8 cu. in.
(1085367)
65:1 XD2
5.8 cu. in.
(1081131)
65:1 XD2
Temp. Cond.
5.8 cu. in.
(1084888)
Common Parts
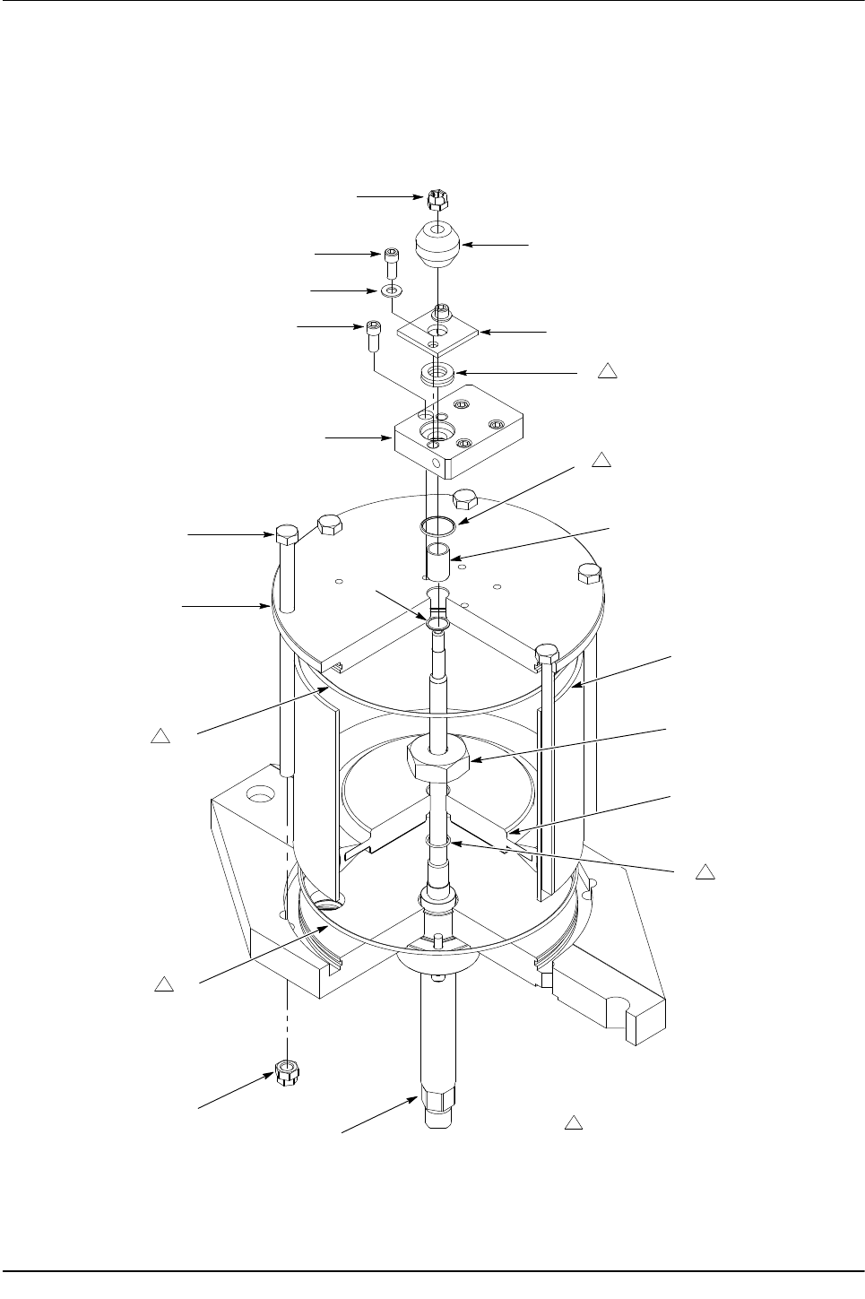
See Figure 15 and the following parts list.
1
5
7
6
3
4
2
8
9
Figure 15 Common Parts

Rhino SD2/XD2 Pumps
27
Part 1073520-12
E 2013 Nordson Corporation
Item Part Description Qty Note
— 1073854 Pump, air motor assembly, 48:1, 8.1 cubic inch, SD2 1
— 1073857 Pump, air motor assembly, 48:1, 8.1 cubic inch, XD2 1
— 1085363 Pump, air motor assembly, 48:1, 8.1 cubic inch, SD2, T/C 1
— 1085364 Pump, air motor assembly, 48:1, 8.1 cubic inch, XD2, T/C 1
— 1073855
Pump, air motor assembly,
48:1, 8.1 cubic inch, XD2, stainless steel ARW
1
— 1073853 Pump, air motor assembly, 65:1, 5.8 cubic inch, SD2 1
— 1073856 Pump, air motor assembly, 65:1, 5.8 cubic inch, XD2 1
— 1085365 Pump, air motor assembly, 65:1, 5.8 cubic inch, SD2, T/C 1
— 1085366 Pump, air motor assembly, 65:1, 5.8 cubic inch, XD2, T/C 1
1 249144
S Muffler,
1
/
4
NPT
2
2 - - - - - -
S Air motor
1 A
3 1090926
S Rod, connecting
4
4 1024870
S Coupling shaft
1
5 1024875
S Coupler, split
1
6 984172
S Nut, hex, lock,
1
/
2
-13 UNC-2B
4
7 - - - - - -
S Hydraulic section
1 B
8 900464
S Adhesive, threadlocking
AR
9 900481
S Adhesive, pipe sealant
AR
NS 900256
S Fluid, Type-K, pump chamber, 1 gallon
AR
NOTE A: Refer to the Air Motor parts list for detailed parts information.
B: Refer to the applicable Hydraulic Section parts list for detailed parts information.
AR: As Required
NS: Not Shown
