00196712-02_SM_SX4DX4_Kunde_de - 第156页
Servicearbeiten Schneidgerät 3.9.4 Kurzhubzylinder tauschen [03038587-xx] 156 Serviceanleitung SIPLACE SX4/DX4 3.9.4 3 . 9 . 4 K u r z h u b z y lin d e r t a u s c h e n [ 0 3 0 3 8 5 8 7 - x x ] Kurzhubzylinder ta usch…

Servicearbeiten
3.9.3 Gelenk am Kurzhubzylinder tauschen [03000518-xx] Schneidgerät
Serviceanleitung SIPLACE SX4/DX4 155
Einbau
► Schrauben Sie das Gelenk am beweglichen Messer fest. Ziehen Sie die Schrauben mit einem Dreh-
moment von 6 Nm an.
► Verfahren Sie für den weiteren Einbau in umgekehrter Reihenfolge. Beachten Sie dabei folgende
Hinweise:
Sehen Sie dazu auch...
3.10.1 BE-Einzug komplett tauschen [03080552-xx] [ ➙ 167]
► Drehen Sie das Gelenk mit einem Drehmoment von
22 Nm in den Kurzhubzylinder. Achten Sie dabei da-
rauf, dass das Gelenk (1) waagerecht steht, so dass
es in die Aussparung am beweglichen Messer passt.
Sichern Sie die Schraube mit Loctite 243.
VORSICHT!
Das Gelenk muss waagerecht sein. Ansonsten kann das
Messer verkanten, was zum Bruch des Gelenks führt.
VORSICHT
Einbauhinweise
► Fetten Sie die Gelenke leicht mit Klüber.
► Sichern Sie alle Schrauben mit Loctite.
► Setzen Sie die neuen Schraubenabdeckungen ein. Entfernen Sie überstehende Kunststoff-
reste mit einem Messer.
► Schließen Sie die Pneumatikschläuche in der richtigen Zuordnung am Zylinder an.
► Prüfen Sie den Spalt zwischen der Abstreifer-Vorderkante und dem "Leergurtleitblech in-
nen".
HINWEIS
Falls Leergurte nicht richtig geschnitten werden.
Sollten die Leergurte nicht richtig geschnitten werden, obwohl die Schaltpunkte richtig einge-
stellt und der Kurzhubzylinder inkl. Drosselrückschlagventil ersetzt wurde, so können folgende
Ursachen vorliegen:
► Falscher Druckluftwert
► Undichter Pneumatikanschluss oder undichte Y-Steckverschraubung

Servicearbeiten
Schneidgerät 3.9.4 Kurzhubzylinder tauschen [03038587-xx]
156 Serviceanleitung SIPLACE SX4/DX4
3.9.4
3.9.4 Kurzhubzylinder tauschen [03038587-xx]
Kurzhubzylinder tauschen [03038587-xx]
Teile, Hilfsmittel und Werkzeug
▪ Kurzhubzylinder 50x40 ECDQ2B50-0040-CEJ00119 [03038587-xx]
▪ Loctite 241 [02101037-xx]
Ausbau
► Bauen Sie das Schneidgerät aus der Maschine aus (siehe "3.9.1 Schneidgerät am BE-Einzug tau-
schen [03066690-xx]" [ ➙ 150]).
Einbau
► Bauen Sie das Gelenk (5) aus (siehe "3.9.3 Gelenk
am Kurzhubzylinder tauschen [03000518-xx]"
[ ➙ 154]).
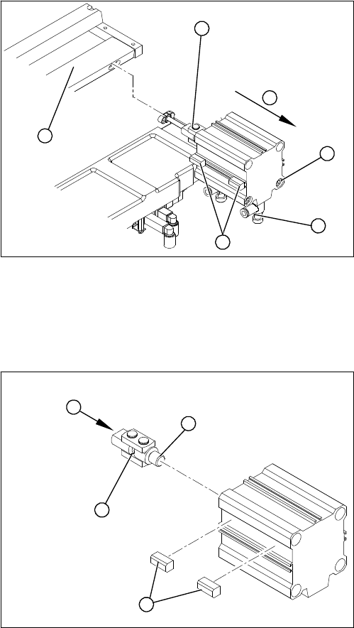
► Kennzeichnen Sie mit einem Folienstift die exakte
Montageposition der Näherungsschalter (1) zum
Kurzhubzylinder.
► Lösen Sie die Befestigung der beiden induktiven
Näherungsschalter (1) am Kurzhubzylinder.
► Entfernen Sie die pneumatischen Anschlüsse (2) am
Kurzhubzylinder. Markieren Sie sich ggf. deren Posi-
tion, um diese später wieder eindeutig zuordnen zu
können.
► Entfernen Sie die beiden Befestigungsschrauben (3)
des Kurzhubzylinders.
► Nehmen Sie den Kurzhubzylinder (4) vom
Schneidgerät ab.
1
6
5
4
3
2
► Geben Sie eine geringe Menge Loctite 241 auf das
Gewinde (2) des neuen Gelenkes.
► Schrauben Sie das Gelenkstück (1) in den Kurzhub-
zylinder ein.
► Drehen Sie das Gelenk in die Einbauposition (3).
Das Gelenk wird nach Einbau des Zylinders durch
das Langloch im beweglichen Messer gegen Verdre-
hung gesichert.
► Übertragen Sie die exakte Montageposition der
Näherungsschalter (4) auf den neuen Kurzhubzylin-
der (z. B. mit Schieblehre und feinem Folienstift).
1
4
3
2

Servicearbeiten
3.9.5 Magnetventile tauschen [03000630-xx] Schneidgerät
Serviceanleitung SIPLACE SX4/DX4 157
► Schließen Sie die Pneumatikschläuche in der richtigen Zuordnung am Zylinder an.
► Der weitere Einbau erfolgt in umgekehrter Reichenfolge. Beachten Sie dazu auch den Abschnitt
"3.9.3 Gelenk am Kurzhubzylinder tauschen [03000518-xx]" [ ➙ 154].
3.9.5
3.9.5 Magnetventile tauschen [03000630-xx]
Magnetventile tauschen [03000630-xx]
Teile, Hilfsmittel und Werkzeug
▪ Magnetventil [03000630-xx]
Übersicht
Aus-/Einbau
► Lösen Sie die Druckluftanschlüsse am Magnetventil.
► Lösen Sie die Steckverbindung des Anschlusskabels am Magnetventil.
► Lösen Sie die Befestigungsschrauben des Magnetventils und entnehmen Sie das Magnetventil.
► Montieren Sie das neue Magnetventil und stellen Sie die Steckverbindung am Magnetventil her.
Bringen Sie ggf. Kabelbinder an (Zugentlastung).
► Montieren Sie die Näherungsschalter (1) exakt in der
mit Folienstift am Kurzhubzylinder gekennzeichneten
Position.
► Setzen Sie den so vorbereiteten Zylinder in richtiger
Drehlage des Gelenkes (2) am Schneidgerät ein.
► Befestigen Sie den Zylinder in dieser Position mit den
je zwei Befestigungsschrauben (3) (Loctite 241).
1
3
2
Schneidgerät (am Beispiel X-Serie)
1. Lage der Magnetventile