00196712-02_SM_SX4DX4_Kunde_de - 第29页
Modul-Übersicht 2.9.4 Breitenverstellung BE-Wagen X-Serie Serviceanleitung SIPLACE SX4/DX4 29 2.11 2 . 1 1 B E - W a g e n X - S e r ie BE-Wagen X-Serie Sehen Sie dazu auch... 3.11 BE -Wagen X-Serie [ ➙ 180] 2.12 2 .…

Modul-Übersicht
BE-Einzug SX4 2.9.4 Breitenverstellung
28 Serviceanleitung SIPLACE SX4/DX4
2.9.4
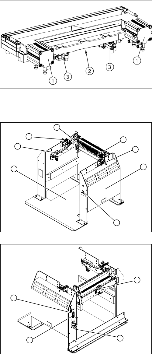
2.9.4 Breitenverstellung
Breitenverstellung
Funktionsbeschreibung
Die Breitenverstellung erfolgt motorisch über Programmvorgabe. Beim Doppeltransport sind dabei un-
terschiedliche Breiten für die beiden Transportspuren möglich. Die Breitenverstellung erfolgt mittels ei-
nes Motors mit eigenem Messsystem, so dass die Einstellung der neuen LP-Breite unabhängig von
anderen Maschinenkomponenten (z. B. Y-Portal) erfolgen kann.
Die Verstellung der LP-Breite erfolgt über die Verstelleinheiten. Diese werden durch Kugelrollspindeln
und einen Zahnriemen vom Antriebsmotor synchron hin- und herbewegt.
Durch Ausfahren von Fixierstiften wird die Klemmung der Seitenwange gelöst. Dabei wird gleichzeitig
die Seitenwange auf den Verstelleinheiten fixiert. Nach dem Erreichen der neuen LP-Breite fahren die
Fixierstifte wieder ein. Die Seitenwange ist danach wieder geklemmt.
2.10
2.10 BE-Einzug SX4
BE-Einzug SX4
1. Verstelleinheit
2. Zahnriemen der Breitenverstellung
3. Antriebseinheit der Breitenverstellung
Der BE-Einzug ist standardmäßig an der SX4 eingebaut.
An der DX4 ist er optional.
HINWEIS!
Bitte beachten Sie, dass die FCU und die Feederentrie-
gelung sich bei SX4 und DX4 unterscheiden. Bei der DX4
wird nur jede zweite Fördererspur unterstützt.
1. Sicherheitsschalter für den BE-Wagen
2. Leergurtleitkanal
3. Montagepositionen für die Pipettenwechsler
4. Schneidgerät
5. Feeder-Control-Unit (FCU)
6. Gurtabfallrutsche
7. Einzugsteuerung
8. Feederentriegelung

Modul-Übersicht
2.9.4 Breitenverstellung BE-Wagen X-Serie
Serviceanleitung SIPLACE SX4/DX4 29
2.11
2.11 BE-Wagen X-Serie
BE-Wagen X-Serie
Sehen Sie dazu auch...
3.11 BE-Wagen X-Serie [ ➙ 180]
2.12
2.12 Manueller Tisch DX4
Manueller Tisch DX4
Sehen Sie dazu auch...
3.11 BE-Wagen X-Serie [ ➙ 180]
1. Lenkrolle
2. Bockrolle
3. Verriegelungsleiste
4. Auflageblock
1
4
3
2
1. Oberteil
2. Unterteil
3. Abfallbehälter

Modul-Übersicht
Schneidgerät 2.9.4 Breitenverstellung
30 Serviceanleitung SIPLACE SX4/DX4
2.13
2.13 Schneidgerät
Schneidgerät
2.14
2.14 Docking-Station für BE-Wagen X-Serie
Docking-Station für BE-Wagen X-Serie
1. Kurzhubzylinder
2. Elektrischer Anschluss
3. Magnetventile
1. Docking-Station – komplett [00116933-xx]
2. Drucktaster für Entriegelung [00334095-xx]
3. Abdeckung (dahinter Netzteil [03025938-xx] und
Druckregelventil für Verriegelungszylinder)
4. Waagrechtspanner [03025104-xx]
5. Förderer-Entriegelung 40-fach [03011582-xx]
6. Feeder Control Unit (FCU)
Vor FS04: [03020068-xx]
Ab FS04: [03066685-xx]
7. Kurzhubzylinder der Sperreinheit [03034831-xx]
1. Steuerventil [03003489-xx]
2. Ein/Aus-Schalter
3. Feinsicherung [03033387-xx]
4. Druckregelventil für Bulkcase-Feeder und Hauptan-
schluss (5,5 bar)
3
4
1
7
6
5
4
2
1
4
3
2