NPM-D3A 电路图 - 第89页
Left Side Transportation Opening Sensor (Projection) Left Side Transportation Opening Sensor (Receive) Right Side Transportation Opening Sensor (Projection) Right Side Transportation Opening Sensor (Receive) -B1021T E3ZS…

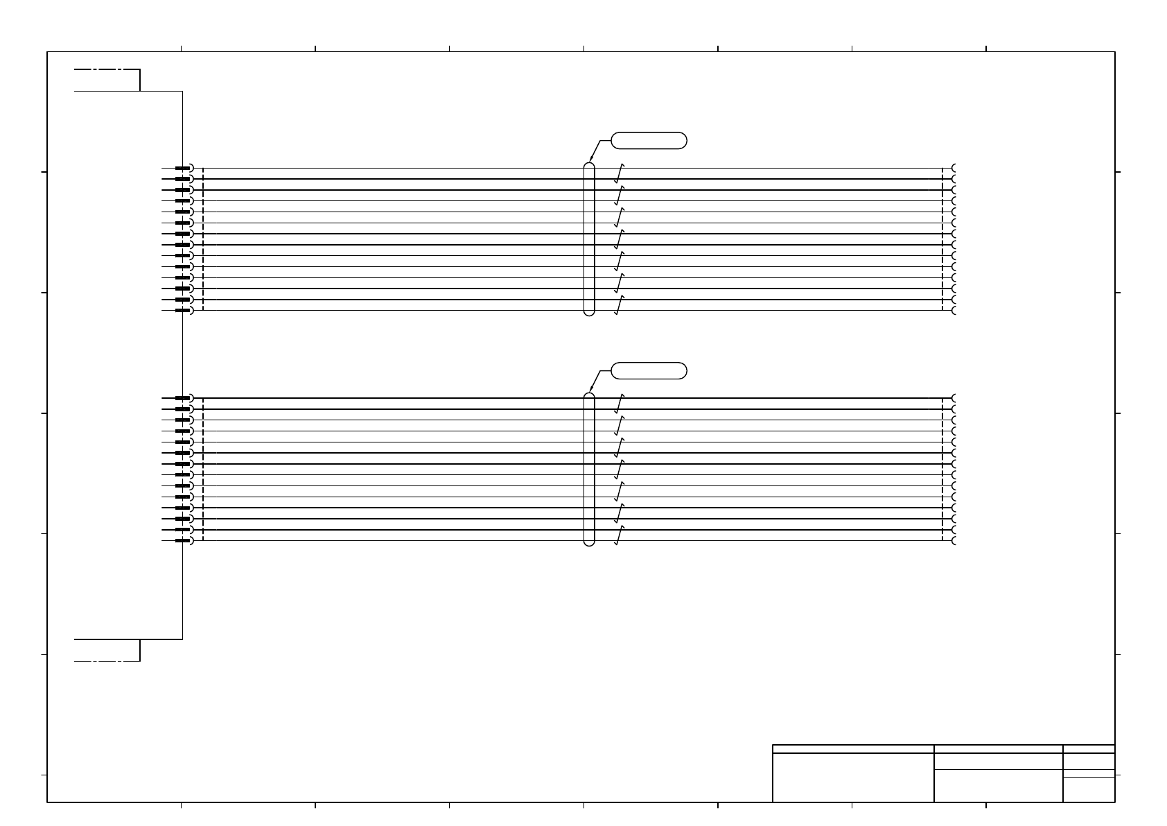
-K322
PNF0B3
I/O Board
CNIOA
1
2
3
4
5
6
7
8
9
10
11
12
13
14
15
16
24VOUT
IN230
IN231
IN237
IN242
IN243
NC
24GND
24VOUT
IN232
IN213
OT214
OT215
OT216
OT217
24GND
BK/WH
BK
RD/WH
RD
UL2464 (SPV840) 2P×24AWG(11/0.16TA) LF BK
BK/WH
BK
RD/WH
RD
UL2464 (SPV840) 2P×24AWG(11/0.16TA) LF BK
BK/WH
BK
RD/WH
RD
UL2464 (SPV840) 2P×24AWG(11/0.16TA) LF BK
IN230
P039-7B
IN231
P039-7B
IN237
P039-7C
G24EXL
P039-7C
IN242
P040-6D
IN243
P040-6D
IN237
P040-6D
G24EXR
P040-6D
MOLEX
EXL-P
5559-04P-210
4
3
2
1
MOLEX
EXL-R
5557-04R-210
4
3
2
1
MOLEX
CNIOA
5557-16R-210
1
2
3
4
5
6
7
8
9
10
11
12
13
14
15
16
2464C(BPF)VVP AWG#24×2P-B
2464C(BPF)VVP AWG#24×2P-B
2464C(BPF)VVP AWG#24×2P-B
2464-1061/ⅡA(PF) LF 2P×24AWG 2464-1061/ⅡA(PF) LF 2P×24AWG
2464-1061/ⅡA(PF) LF 2P×24AWG
Panasonic Smart Factory Solutions Co.,Ltd. パナソニック スマートファクトリーソリューションズ株式会社
Name
Drawing No.
Loc. No.
F4K1020-05A
1
2 3 4 5 6 7 8
A
B
C
D
E
F
1 2 3 4 5 6 7 8
A
B
C
D
E
F
Page. No.
Main Body Wiring : NPM-D3
(Identification Signal)
N610159580+041AC
P041

Left Side
Transportation Opening
Sensor (Projection)
Left Side
Transportation Opening
Sensor (Receive)
Right Side
Transportation Opening
Sensor (Projection)
Right Side
Transportation Opening
Sensor (Receive)
-B1021T
E3ZS-T81A-1
BN
PK
BU
OMRON
-B1021
E3ZS-T81A-1
BN
PK
BK
BU
OMRON
-B1020T
E3ZS-T81A-2
BN
PK
BU
OMRON
-B1020
E3ZS-T81A-2
BN
PK
BK
BU
OMRON
To
CNEXR
To
CNEXL
UL#24 80/300-0.2mm2 BU
UL#24 80/300-0.2mm2 BU
UL#24 80/300-0.2mm2 BU
UL#24 80/300-0.2mm2 BU
UL2464 (SPV840) 1P×24AWG(11/0.16TA) LF OR
BK
BK/WH
BK/WH
BK
RD/WH
RD
UL2464 (SPV840) 2P×24AWG(11/0.16TA) LF OR
UL2464 (SPV840) 1P×24AWG(11/0.16TA) LF OR
BK
BK/WH
BK/WH
BK
RD/WH
RD
UL2464 (SPV840) 2P×24AWG(11/0.16TA) LF OR
P24XLP
P039-7C
G24XLP
P039-7C
P24XLR
P039-7C
G24XLR
P039-7C
OPENXL
P039-7D
P24XRP
P040-6E
G24XRP
P040-6E
P24XRR
P040-6E
G24XRR
P040-6E
OPENXR
P040-6E
AMP
B1020TP
177908-1
4
3
2
1
AMP
B1020TR
177900-1
4
3
2
1
AMP
B1020P
177908-1
4
3
2
1
AMP
B1020R
177900-1
4
3
2
1
AMP
B1021TP
177908-1
4
3
2
1
AMP
B1021TR
177900-1
4
3
2
1
AMP
B1021P
177908-1
4
3
2
1
AMP
B1021R
177900-1
4
3
2
1
1
1
2464C(BPF)VVP AWG#24×1P-OR
3
2464C(BPF)VVP AWG#24×2P-OR
3
2464C(BPF)VVP AWG#24×1P-OR
3
2464C(BPF)VVP AWG#24×2P-OR
3
2464-1061/ⅡA(PF) ダイダイ LF 1P×24AWG
2
2464-1061/ⅡA(PF) ダイダイ LF 2P×24AWG
2
2464-1061/ⅡA(PF) ダイダイ LF 1P×24AWG
2
2464-1061/ⅡA(PF) ダイダイ LF 2P×24AWG
2
Panasonic Smart Factory Solutions Co.,Ltd. パナソニック スマートファクトリーソリューションズ株式会社
Name
Drawing No.
Loc. No.
F4K1020-05A
1
2 3 4 5 6 7 8
A
B
C
D
E
F
1 2 3 4 5 6 7 8
A
B
C
D
E
F
Page. No.
Main Body Wiring : NPM-D3
(Transportation Opening Sensor Left/Right)
N610159580+042AD
P042

-A02
Power Unit 1
-K321
PNF0B4
ILK Board #1
For
Before process
BK/WH
BK
RD/WH
RD
GN/WH
GN
YE/WH
YE
N610159595AD
14
13
12
11
10
9
8
7
6
5
4
JST
CN00K321
PAP-14V-S
3
2
1
1
2
3
AMP
-XP
206043-1
4
5
6
7
8
9
10
11
12
13
14
CN00
1
2
3
4
5
6
7
8
9
10
11
12
13
14
M.FOK
M.FOKCO
MBAIN
MBAINCO
OT124+
OT125+
24GND
COM00
SFOK
SFOKCO
SBAIN
SBAINCO
LN004
LN005
UL2464 (SPV840) 7P×24AWG(11/0.16TA) LF BK
BN
BN/WH
BU
BU/WH
GY/WH
GY
For
Next process
BK/WH
BK
RD/WH
RD
GN/WH
GN
YE/WH
YE
N610159596AE
14
13
12
11
10
9
8
7
6
5
4
JST
CN01K321
PAP-14V-S
3
2
1
1
2
3
AMP
-XS
206043-1
4
5
6
7
8
9
10
11
12
13
14
CN01
1
2
3
4
5
6
7
8
9
10
11
12
13
14
M.RDY
24GND
M.BAOT
M.BAOTCO
LN006
LN007
COM01
24GND
S.RDY
24GND
S.BAOT
S.BAOTCO
OT126+
OT127+
UL2464 (SPV840) 7P×24AWG(11/0.16TA) LF BK
BN
BN/WH
BU
BU/WH
GY
GY/WH
M.RDY
24GND
M.BAOT
M.BAOTCO
LN006
LN007
COM01
24GND
S.RDY
24GND
S.BAOT
S.BAOTCO
OT126+
OT127+
M.FOK
M.FOKCO
MBAIN
MBAINCO
OT124+
OT125+
24GND
COM00
SFOK
SFOKCO
SBAIN
SBAINCO
LN004
LN005
2
2464C(BPF)VVP AWG#24×7P-B
4
3
2464C(BPF)VVP AWG#24×7P-B
4
2 3
4
4
2464-1061/ⅡA(PF) LF 7P×24AWG
2
2464-1061/ⅡA(PF) LF 7P×24AWG
2
Panasonic Smart Factory Solutions Co.,Ltd. パナソニック スマートファクトリーソリューションズ株式会社
Name
Drawing No.
Loc. No.
F4K1020-05A
1
2 3 4 5 6 7 8
A
B
C
D
E
F
1 2 3 4 5 6 7 8
A
B
C
D
E
F
Page. No.
Main Body Wiring : NPM-D3
(Line Signal Left)
N610159580+043AE
P043