yv100xtg_e - 第24页
PA G E 22 YV100XTg (KGC) Con fi dential & Proprietary KGC-000-CN5 Cli FES20 feeder structure

PAGE
21
YV100XTg (KGC)
Confi dential & Proprietary
KGC-000-CN5
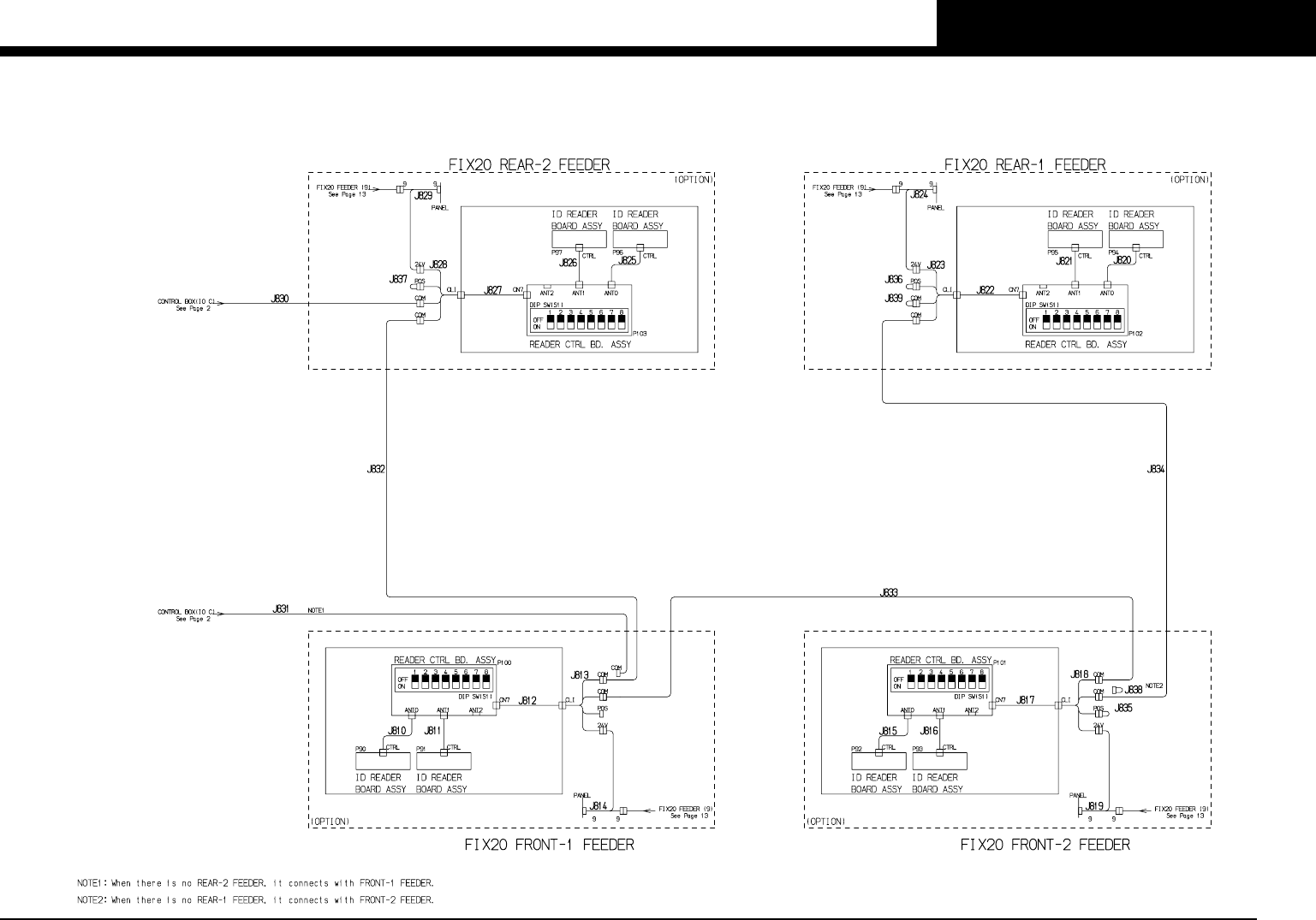
Cli FIX20 feeder structure

PAGE
22
YV100XTg (KGC)
Confi dential & Proprietary
KGC-000-CN5
Cli FES20 feeder structure

PAGE
23
YV100XTg (KGC)
Confi dential & Proprietary
KGC-000-CN5
Air circuit (YV100XTg-F)
600V-04
KM23
8(ORANGE)
KM-11
040M12AJ 1 to 7 A040
-4E1-PLL 8 to 12 BP
F600-04
-BG-A
R600-03
SL12-04
GS1-50
-DL-41W
TL4-02
TSH4-M5
UEDW10-8
NDA 6X30
SSU-4
SC4-M5A
SC4-M5A
NDA6X30-CS11TA1
PBSA 10X5
PBDA 10X30 or
YMDA 16X35
SL4-M5
SL4-M5
MANUHOLD
KM0-M1141-000
MANUHOLD
KM0-M1141-000
TSS4-01
TSH8-01
PLUG
K40-M8598-000
BF4
BF4
TL8-01TT8-01
stn.20stn.1 stn.2 stn.3
KM-06
KM-06
20123
TSS4-01
TSH8-01 PLUG
K40-M8598-000
BF4
BF4
TL8-01TT8-01
stn.120
stn.101
stn.102 stn.103
KM-06
KM-06
120101 102 103
8(ORANGE)
4(BLACK)
4 (ORANGE)
4
(BLACK)
UY8
8(ORANGE)
SL8-01
UP8
SLH6-M5
UYD8-6
KM-05
6(ORANGE)
USD8-6
6(ORANGE)
8(ORANGE)
UC4
USD10-8
SLH8-01
KM-05
SLH6-01
8(ORANGE)
6(ORANGE)
UY4
UP8
HI-CAPPLER
PLUG 30PM
AIR SOURCE
12
(ORANGE)
4
(ORANGE)
10(ORANGE)
4(BLACK)
8(ORANGE)
8(ORANGE)
SL4-M5
M-5ALU-4
SL4-M5
4(ORANGE)
10 2(ORANGE)
10 2(ORANGE)
USD10-8
NDA 10-30
YMDA 16X35
M-5ALU-4
KM-05
SLH6-01
SLH8-01
US10
UED8-4
UP8
UP4
10 2(ORANGE)
UYD10-8
UY12
KM5-M8531-000
UYD
12-10
SL12-03
TS12-04
TS12-04
SL12-03
USD12-10
SCO
A010E1-44W
A010E1-37W
VALVE ASSY 20-L
KGA-M3410-400
VALVE ASSY 20-L
KGA-M3410-400
VALVE ASSY 20-R
KGA-M3410-200
VALVE ASSY 20-R
KGA-M3410-200
4(BLACK)
103102121 140
KM-06 KM-06
stn.123stn.122
stn.121
stn.140
TT8-01 TL8-01
BF4
BF4
232221 40
KM-06 KM-06
stn.23stn.22stn.21 stn.40
TT8-01 TL8-01
BF4
BF4
UY8
UY8
LIGHTLIGHT
LIGHTLIGHT
UP8
UP8
LIGHT
YMDAS 10X20-ZE135A2
4(BLACK)
4(ORANGE)
LIGHTLIGHT
4(ORANGE)
LIGHT
No. PART NO. PART NAME Q'TY REMARKS
1
2
4
5
6
1
7
8
9
10
11
12
13
17
15
16
2
21
22
23
24
25
26
27
28
29
30
1
2
1
1
1
1
2
2
2
2
1
1
4
2
1
1
1
14
3
1
18
1
19
1
20
2
KG2-M8512-000
KG2-M8513-000
KG2-M8501-000
KG2-M8503-000
KG2-M8502-000
KH1-M8501-000
KM5-M8531-000
KG2-M8504-002
KG7-M8596-002
KM0-M8582-000
KM0-M1141-000
K40-M8598-000
KGA-M3410-200
KG2-M8582-400
KH4-M9166-000
KV4-M9167-400
KV7-M9237-000
KV7-M9229-000
KV8-M922E-000
KV7-M9283-000
KV8-M7162-000
KGB-M7163-000
KV8-M71VA-000
JOINT
JOINT
AIR FILTER
MODULE ADAPTER
MIST FILTER
EXHAUST VALVE
ACCUMLATOR
REGULATOR
PRESURE GAUGE
VALVE
MANUFOLD
PLUG 1 (R 1/8)
VALVE ASSY 20-R
VALVE(SPARE)
CYL.MAIN STOP
CYLINDER ASSY
CYLINDER PBSA10X5
CYLINDER
CYLINDER
CYL.,YMDA16X35
SOLENOID VALVE
MICRO EJECTOR
VALVE CLUTCH
40PM
1/2" M-F ELBOW
F600-04-BG-A
8-60D4
MF600-04-A
600V-04
R600-03
GS1-50-DL-41W
R300-03
NDA 6X30
NDA 6X30
PBSA 10X5
PBDA 10X30
NDA 10X30
YDA 16X35
TUBE(CKD) KV1-M8501-000
JOINT(CKD) KV1-M8502-000
JOINT
JOINT
4m
UP9102-20-F1
8
PTN2-M5
4
2
SPEED CONT.
2
2
VALVE ASSY 20-L KGA-M3410-400
2
CYLINDER ASSY. KV8-M7522-010
KV8-M7535-010 VALVE
31
2
YMDAS 10X20
29
4
8-60D4
20
12
29
11
27
27
10
26
25
19
1
M-F ELBOW3/8"
2
3
5
6
8
9
12
11
16
20
18
17
15
VALVE KIT (for spare)
KU0-M3410-410
22
21
23
7
21
22
24
23
28
MF600-04-A
13
13
30
31
UEF4BU-M3
US4
BF4BU-M3
KM-03
SC4-M5A
SC4-M5A