4OM-1050-002 - 第22页
Fig. 4A7 Front View of Machine Fig. 4A8 Rear View of Machine 1.3 Maintenance Spots 01 10-003 1-9 AFO01ETRP (15) Nozzle Change Section (5) Component Receiving Box (14) Placement Change Correction Section (21) Placement Up…

1.3 Maintenance Spots
1.3.1 General View
Refer to "1.3.2 Inspection, Cleaning, and Lubrication Spots" and after
for details.
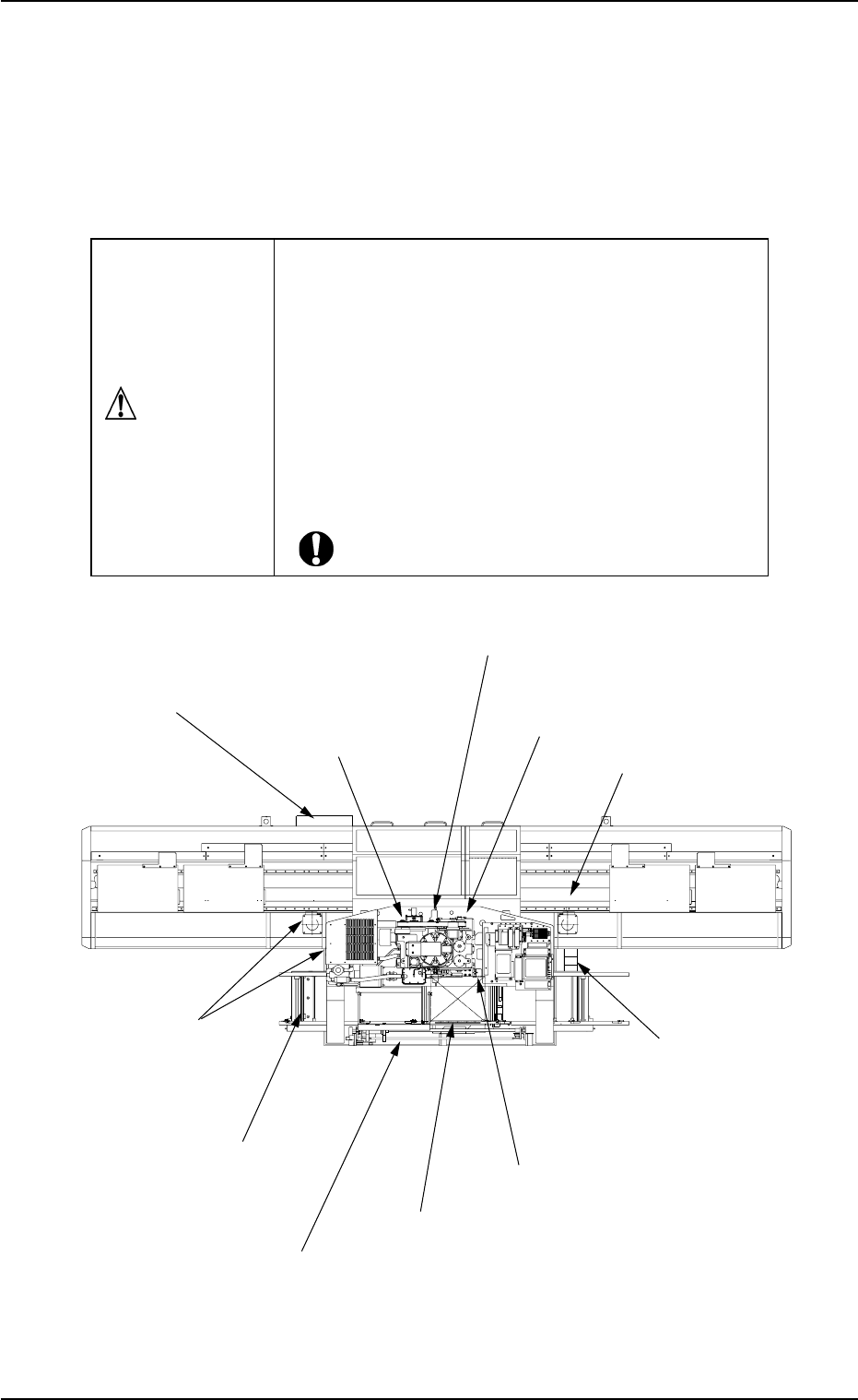
Fig. 4A5 Top View of Machine
1.3 Maintenance Spots
0210-004 1-8 AFO01ETRP
(17) P.C.B. Transfer Section
(8) Light Source Device for
Component Recognition
(27) L/R Conveyor Sections
(26) Filters and
Fans in Each Section
(2) Vacuum System
(3) Dust Collector and
Waste Tape Box
(7) X/Y Table Section
(20) Placement Height Correction Section
(13) Feeder Carriage
Section
(22) Tape Feed Unit Section
(5) Intermediate Base
(18) Pick-Up Height
Correction Section
• Before performing maintenance work, turn off the
power and air sources and lock the power breaker
using the padlock.
• Designate a person who can have charge of the
padlock key.
• The cover of the machine must be detached for the
maintenance work.
After the maintenance work, be sure to attach the
cover.
CAUTION

Fig. 4A7 Front View of Machine
Fig. 4A8 Rear View of Machine
1.3 Maintenance Spots
01 10-003 1-9 AFO01ETRP
(15) Nozzle Change
Section
(5) Component
Receiving Box
(14) Placement Change
Correction Section
(21) Placement
Up/Down Section
(11) Main Body
Driving Section
(9) Head Section
(23) Nozzle Guide Section
(4) Component Recognition Section
(25) Control Box Section
(24) Head Up/Down Section
(1) Air Source
(10) Linear Measure
Detection Section
(6) Cutter Section
Com
p
onent Dro
p
Prevantion Cover
(12) Cutter Section
(19) Pick-Up
Up/Down Section
(16) Nozzle
Change/Return
Section

1.3.2 Understanding of Maintenance Items on Each Section
Clarified in this session are each individual spots of the machine to be
maintained.
Refer to "1.5 Checklist for Maintenance" for periodic maintenance.
View of Inspection, Cleaning, and Lubrication Spots
(Example of Identification)
Fig. 4A9
*1: Maintenance Spot
*2: Cycle and Contents of Maintenance
*3: Details of Maintenance
*4: Maintenance Spot No.
These are used in "1.5 Maintenance Check List".
Display 1D2
Number (0, 1, 2 …)
Cycle of Maintenance
1D : Daily
1W : Every Week
1M : Every Month
3M : Every 3 Months
6M : Every 6 Months
1Y : Every Year
1.3 Maintenance Spots
01 1 1-004 1-10 AFO01ETRP