4OM-1050-002 - 第24页
1.3.3 Inspection, Cleaning, and Lubrication Spots (1) Air Source 1.3 Maintenance Spots 0207-004 1-1 1 AFO01ETRP Fig. 4A10

1.3.2 Understanding of Maintenance Items on Each Section
Clarified in this session are each individual spots of the machine to be
maintained.
Refer to "1.5 Checklist for Maintenance" for periodic maintenance.
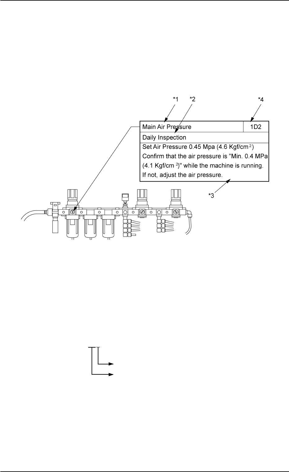
View of Inspection, Cleaning, and Lubrication Spots
(Example of Identification)
Fig. 4A9
*1: Maintenance Spot
*2: Cycle and Contents of Maintenance
*3: Details of Maintenance
*4: Maintenance Spot No.
These are used in "1.5 Maintenance Check List".
Display 1D2
Number (0, 1, 2 …)
Cycle of Maintenance
1D : Daily
1W : Every Week
1M : Every Month
3M : Every 3 Months
6M : Every 6 Months
1Y : Every Year
1.3 Maintenance Spots
01 1 1-004 1-10 AFO01ETRP

1.3.3 Inspection, Cleaning, and Lubrication Spots
(1) Air Source
1.3 Maintenance Spots
0207-004 1-11 AFO01ETRP
Fig. 4A10

(2) Vacuum System
0307-004 1-12 AFO01ETRP
1.3 Maintenance Spots
Fig. 4A11