4OM-1050-002 - 第334页
(2) Machine-Based Factors When a component has no problem, check the main body of the ma- chine. A failure can be tracked by checking if it occurs on a specific vacuum nozzle or feeder slot No. (2-1) When a failure occur…

5.2 Troubleshooting on Pick-Up Errors
5.2.1 Cause and Remedy of Pick-Up Errors
(1) Component-Based Factors
When the cause of a failure lies in specific components or lots, the
components must be examined first of all.
Shown below are the cases of failures whose factors lie in compo-
nents.
[Factors of Pick-Up Errors on Component Side]
See Fig. 4B31.
(1-1) A component adheres to the bottom tape.
(1-2) The shape of a tape cavity is defective.
(1-3) The shape of a component is defective.
(1-4) A component turns sideways because the tape cavity is too large.
(1-5) The flatness of the cavity bottom is defective.
(1-6) Oil or mold lubricant adheres to the bottom of a component.
The failures described in “(1-1) through (1-4)” have a tendency to occur
easily due to the components packaged in a paper tape and the failures
described in “(1-4) through (1-6)” due to the components packaged in a
plastic tape.
Special caution should be paid to minute components such as 0603
and 1005 types because such components are directly affected by how
they are packaged in the tape.
To determine whether or not the taped components are packaged in
good condition with the top cover tape peeled off, turn the tape upside
down and check to see how the components fall down from the cavi-
ties. If the components fall down freely, it means that they were pack-
aged in good condition.
The specifications of taping are established in “JIS-C0806”. However,
as the detailed regulations on the above-described “(1-1) through (1-6)”
are not provided, it is required to ask the component maker about the
details when the components are purchased.
Fig. 4B31 Exemplification of Troubled Taped Components
0110-003 2-197 AFO01ETRP
5.2 Troubleshooting on Pick-Up Errors

(2) Machine-Based Factors
When a component has no problem, check the main body of the ma-
chine.
A failure can be tracked by checking if it occurs on a specific vacuum
nozzle or feeder slot No.
(2-1) When a failure occurs on a specific vacuum nozzle, check the
following items concerning the pertinent vacuum nozzle.
• Check if the nozzle is abnormal.
• Check if the vacuum line is abnormal.
• Check if the vacuum ON/OFF valve is abnormal.
When a factory is dusty or a lot of components packaged in paper tapes
are used, the vacuum nozzles and their filters get dirty easily. There-
fore, it becomes important to clean the vacuum nozzles and filters pe-
riodically.
Refer to “(1) Frequent Failures on Specific Vacuum Nozzle” in “5.2.2”
for the troubleshooting.
(2-2) When a failure occurs on a specific feeder slot No. (feeder No.),
check the following items concerning the pertinent feeder slot No.
(tape feeder).
1. Check if the tape feeder is loaded correctly with components.
2. Check if the top cover tape is peeled off normally.
3. Check if the data related to the component picks is normal.
Refer to “(2) Frequent Pick-Up Errors on Specific Feeder Slot No.” in
“5.2.2” for the troubleshooting.
0307-004 2-198
AFO01ETRP
5.2 Troubleshooting on Pick-Up Errors

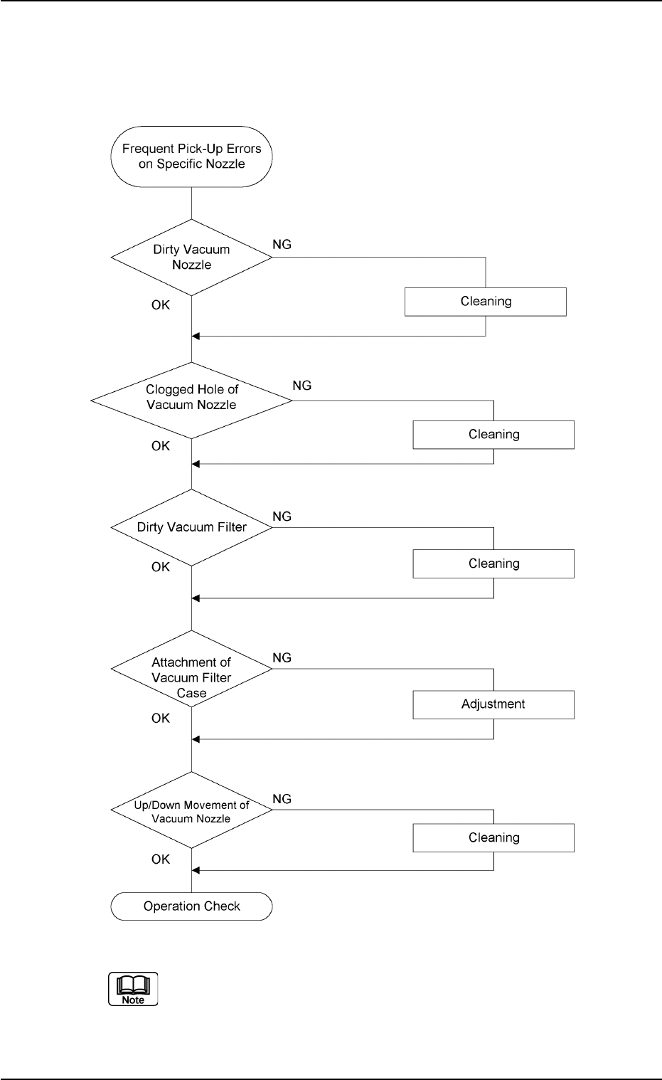
5.2.2 Symptom-Based Troubleshooting
(1) Frequent Failures on Specific Vacuum Nozzle
0110-003 2-199
AFO01ETRP
Fig. 4B32
Refer to “1. Periodic Maintenance” in “Section 1” for the clean-
ing.
5.2 Troubleshooting on Pick-Up Errors