4OM-1050-002 - 第53页
A B A B Cam Follower 3M20 Every 3 Months Lubrication (DAPHNE EPONEX GREASE No. 1) Apply grease with a dispense gun. * Use No. 14 (olive) nozzle. Linear Guide (Horizontal Plane) 3M21 Every 3 Months Lubrication (DAPHNE EPO…

1.3 Maintenance Spots
0207-004 1-38 AFO01ETRP
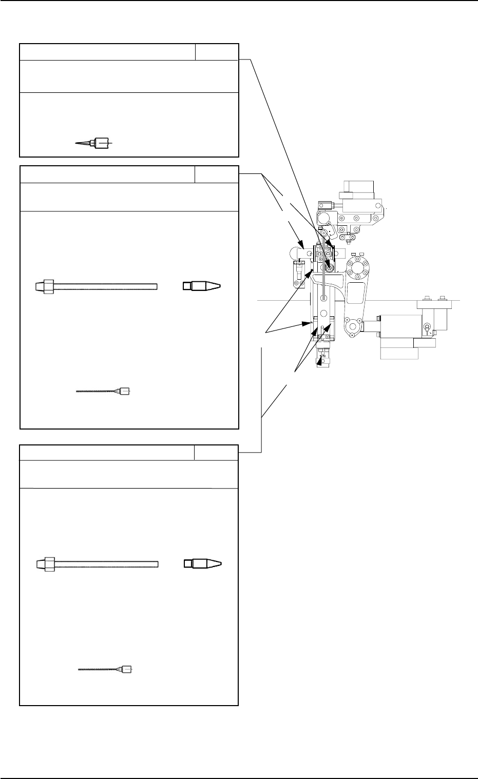
Cylinder Fulcrum 1M34
Every Month Lubrication
(NEW MOLYNOC GREASE No. 1)
Inject grease from the grease nipple with a
grease gun.
* Use the U- and N-type attachments.
U-Type N-Type
Lever Surface 1M36
Every Month Lubrication
(NEW MOLYNOC GREASE No. 1)
Apply the grease by hand or using a brush.
Outer Circumference of Bearing 1M37
Every Month Lubrication
(NEW MOLYNOC GREASE No. 1)
Apply grease with a dispense gun.
* Use No. 19 (brown) nozzle.
No.19
Outer Circumference of Cam Follower 1M35
Every Month Lubrication
(NEW MOLYNOC GREASE No. 1)
Apply the grease by hand or using a brush.
Roller Rests 3M23
Every 3 Months Lubrication
(DAPHNE EPONEX GREASE No. 3)
Apply grease with a dispense gun.
* Use the PR-type nozzle.
Cylinder Fulcrum 3M23-1
Every 3 Months Lubrication
(DAPHNE EPONEX GREASE No. 1)
Apply grease with a grease gun.
* Use the SPK-3C attachment.
Grease should be applied every 3 months
after the initial month.
Fig. 4A44 Front View of Machine
(21) Placement Up/Down Section

A
B
A
B
Cam Follower 3M20
Every 3 Months Lubrication
(DAPHNE EPONEX GREASE No. 1)
Apply grease with a dispense gun.
* Use No. 14 (olive) nozzle.
Linear Guide (Horizontal Plane) 3M21
Every 3 Months Lubrication
(DAPHNE EPONEX GREASE No. 1)
A. Oil Inlets
Inject grease into the oil inlet with a grease
gun.
* Use the U- and P-type attachments.
B. Ball Surfaces
Wipe off old grease with a rag and apply
new one to the ball surfaces with a dispense
gun.
* Use No. 19 (brown) nozzle.
Grease should be applied every 3 months after
the initial month.
Linear Guide (Vertical Plane) 3M22
Every 3 Months Lubrication
(DAPHNE EPONEX GREASE No. 1)
A. Oil Inlets
Inject grease into the oil inlet with a grease
gun.
* Use the U- and P-type attachments.
B. Ball Surfaces
Wipe off old grease with a rag and apply
new one to the ball surfaces with a dispense
gun.
* Use No. 19 (brown) nozzle.
Grease should be applied every 3 months after
the initial month.
U Type
P Type
U Type
P Type
Fig. 4A45
Placement Up/Down Section
1.3 Maintenance Spots
0207-004 1-39 AFO01ETRP

(22) Tape Feed Unit Section
1.3 Maintenance Spots
0207-004 1-40 AFO01ETRP
Fig. 4A46