4OM-1050-002 - 第61页
1.4 Maintenance Method 1.4.1 Air Source (1) Purging Place a container , etc., under a filter case and press the button lo- cated at the lower section of the filter case to drain the wastewater (dirty water , sometimes mi…

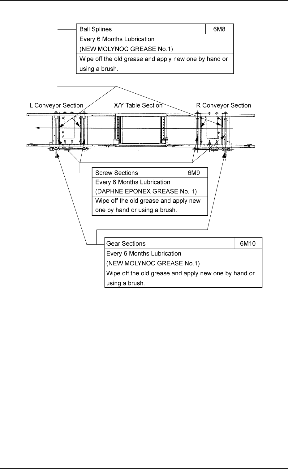
(27) L/R Conveyor Sections
1.3 Maintenance Spots
0207-004 1-46 AFO01ETRP
Fig. 4A58

1.4 Maintenance Method
1.4.1 Air Source
(1) Purging
Place a container, etc., under a filter case and press the button lo-
cated at the lower section of the filter case to drain the wastewater
(dirty water, sometimes mixed with oil) from the case.
Fig. 4A60
(2) Filter Detachment and Attachment
Turn the knob until the upturned equilateral triangles match each
other as shown in the figure above and pull down the case. The
case can easily be detached. The case can also be locked by match-
ing the upturned and downturned equilateral triangles.
To detach the filter, remove the outer case and turn the inner filter
counterclockwise.
Follow the reverse procedure to attach the filter.
(3) Filter Cleaning
Use an air gun to clean the filters once in three months or whenever
they get dirty.
0207-004 1-47
AFO01ETRP
1.4 Maintenance Method

1.4.2 Filter Replacement of Head Section
(1) Detachment of Filter Holder
Pull out the filter holder forward.
Fig. 4A61
(2) Replacement of Filters
Detach two filters sideways and replace them with new ones.
Fig. 4A62
(3) Attachment of Filter Holder
Direct Cut-Off Side D upward and insert the filter holder fully until it
stops.
Cut-Off Side D
Filter Holder
Filters
0307-005 1-48 AFO01ETRP
1.4 Maintenance Method