_ built in from SN 10_20211123_070516 - 第4页
~ built in from SN 10 Page 4 / 4 23.11.2021 Pos. Item no. Description Part marking 1 00375503-02 POWER SUPPLY S25HM/S27HM/F5HM 2 00368782-01 MAIN SWITCH FOR POWER UNIT S4/F4/S23/S25 SPARE PART 3 00372773-01 TRANSFORMER (…

~ built in from SN 10
Page 2 / 4 23.11.2021

~ built in from SN 10
Page 3 / 4 23.11.2021

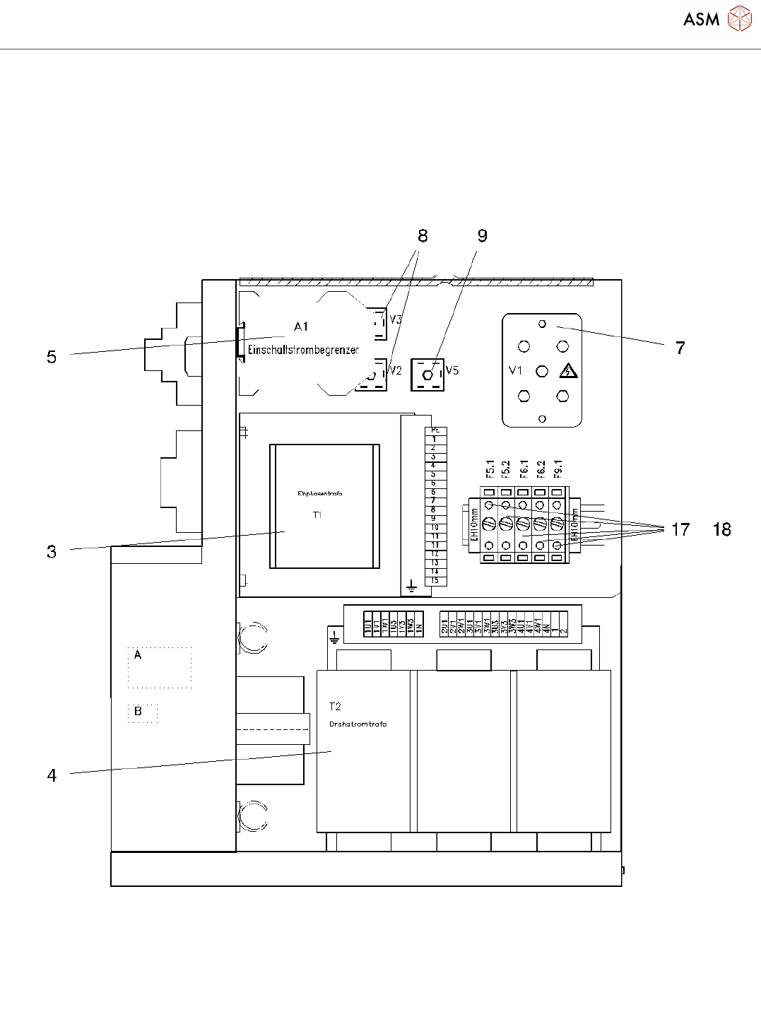
~ built in from SN 10
Page 4 / 4 23.11.2021
Pos. Item no. Description Part marking
1 00375503-02 POWER SUPPLY
S25HM/S27HM/F5HM
2 00368782-01 MAIN SWITCH FOR POWER UNIT
S4/F4/S23/S25
SPARE PART
3 00372773-01 TRANSFORMER (ONE PHASE ) TYPE
4AM5296..
4 00362672-01 3-PHASE TRANSFORMER S25HM
4AP2796-0EA20-6YA0
5 00342988-01 INRUSH CURRENT LIMITER ESB-S20 SPARE PART
6 00343013-01 CONTACTOR 3RT1016-1KB42
7 00323854-01 RECTIFIER BRW4TT40004-14 200V
36A
Spare Part
8 03089024-01 RECTIFIER BRIDGE 800V 35A SPARE PART
9 00321450-01 RECTIFIER SPARE
10 00307159S01 AUTOMATIC BREAKER 5SX2 / 3POL/
16A-AC
Spare Part
11 00307163-01 CIRCUIT BREAKER 5SX2/1PIN/10A-
AC
SPARE PART
12 00305019-01 AUTOMATIC CIRCUIT-BREAKER
5SX5 / 1POLE / 20A-ACDC
13 00375475-01 AUTOMATIC CIRCUIT BREAKER
5SX2 / 2-POLE / 25A-D-AC
14 00362661-01 AUTOMATIC BREAKER 5SX5 / 1POL /
20A-ACDC
15 00304324-01 AUTOMATIC BREAKER 1-POL 10A Spare Part
16 00302818-01 AUTOMATIC CIRCUIT BREAKER 6A
1POL 5SX2
SPARE
17 00372781-01 FUSE CLAMP-10A (6,3X32) 282-128 SPARE PART
18 00375476-01 MICRO-FUSE 6.3*32 / T 20A
19 00377464-01 SAFETY CONTACTOR COMBINATION
3TK28 25
SPARE PART
20 00375508-01 CONTACTOR 3RT10 /24VAC / SIZE
S00
SPARE PART
21 00377552-01 CONTACTOR 3RT10 /24VAC / SIZE
S00
SPARE PART
22 00305027S01 CONTACTOR 3TH2/30VDC/KE=22E SPARE PART
23 00321106-03 BASE UNIT POWER SUPPLY S4
Powered by TCPDF (www.tcpdf.org)