FX-3RA-Rev05 - 第157页
- 150 - NOTE( 注記 ) #01....FOR FRONT 手前用 #02.... FOR REAR 奥用 #03....FOR REAR(XL) 奥(XL)用 #04....TYPE XL XL 仕様 REF.NO NOTE P ART NO D E S C R I P T I O N 品 名 Qty 1 #01 401-18147 EPV XY F RONT ASSY EPV XY フロント組 1 2 400-46586…

- 149 -
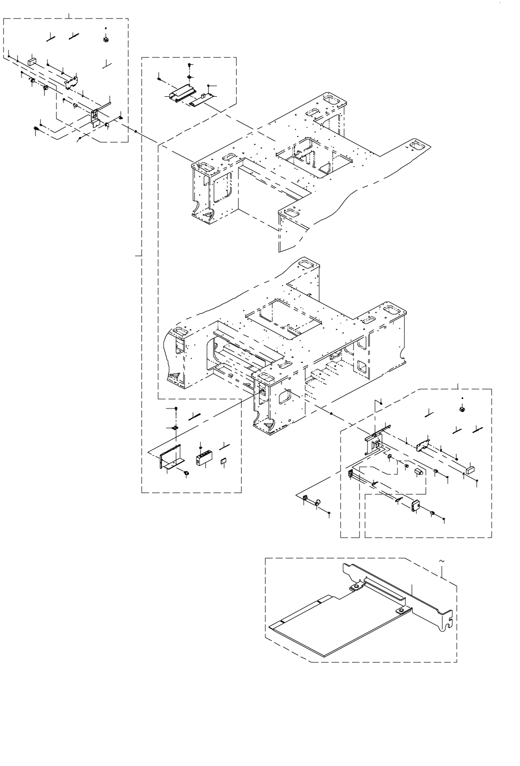
75.PLACEMENT MONITOR COMPONENTS(2)
プレースメントモニタ関係(2)
20
19
13
12
23
25
21
15
29
30
22
18
17
24 26
28
27
11
8
1
2
5
3
4
7
6
8
14 16
37
33
32
32
31
39
36
35
35
34
9
10
38
40
41

- 150 -
NOTE( 注記 ) #01....FOR FRONT 手前用
#02....FOR REAR 奥用
#03....FOR REAR(XL) 奥(XL)用
#04....TYPE XL XL 仕様
REF.NO NOTE PART NO D E S C R I P T I O N
品 名
Qty
1
#01
401-18147 EPV XY FRONT ASSY
EPV XY フロント組
1
2 400-46586 REPEATER BRACKET
リピータブラケット
(2)
3 SL-4040691-SC SCREW M4 L=6
座金付きなべ小ねじ M 4 L =6
(8)
4 400-48078 IEEE1394 REPEATER BOARD
IEEE 1394リピータボード
(2)
5 SL-4030891-SC SCREW M3 L=8
座金付きなべ小ねじ M 3 L =8
(4)
6 HN-0021000-00 CORES
フェライトクランプ
(4)
7 401-13077 CABLE CLAMP SIDE PM
ケーブルクランプサイド PM
(1)
8 HX-0009600-0A GROMMET
エッジングブッシュ
(0.166)
9 HX-0029400-00 FIXED BASE
固定ベース
(2)
10 SM-4040601-SC SCREW M4X0.7 L=6
なべ小ねじ M 4 X 0.7 L =6
(2)
11
#02
401-18148 EPV XY REAR ASSY
EPV XY リア組
1
12 400-48078 IEEE1394 REPEATER BOARD
IEEE 1394リピータボード
(2)
13 SL-4030891-SC SCREW M3 L=8
座金付きなべ小ねじ M 3 L =8
(4)
14 HN-0021000-00 CORES
フェライトクランプ
(4)
15 401-13076 CABLE CLAMP B PM
ケーブルクランプ B PM
(1)
16 HX-0009600-0A GROMMET
エッジングブッシュ
(0.38)
17 HX-0029400-00 FIXED BASE
固定ベース
(2)
18 SL-4030691-SC SCREW M3 L=6
座金付きなべ小ねじ M 3 L =6
(2)
19 400-46586 REPEATER BRACKET
リピータブラケット
(2)
20 SL-4040691-SC SCREW M4 L=6
座金付きなべ小ねじ M 4 L =6
(8)
21
#03
401-18149 EPV XY REAR XL ASSY
EPV XY リア XL 組
1
22 400-48078 IEEE1394 REPEATER BOARD
IEEE 1394リピータボード
(2)
23 SL-4030891-SC SCREW M3 L=8
座金付きなべ小ねじ M 3 L =8
(4)
24 HN-0021000-00 CORES
フェライトクランプ
(4)
25 401-18001 CABLE CLAMP B XL PM
ケーブルクランプ B XL PM
(1)
26 HX-0009600-0A GROMMET
エッジングブッシュ
(0.62)
27 HX-0029400-00 FIXED BASE
固定ベース
(3)
28 SL-4030691-SC SCREW M3 L=6
座金付きなべ小ねじ M 3 L =6
(3)
29 400-46586 REPEATER BRACKET
リピータブラケット
(2)
30 SL-4040691-SC SCREW M4 L=6
座金付きなべ小ねじ M 4 L =6
(8)
31
#04
401-21748 PWB GUIDE S XL
基板ガイド S XL
3
32
#04
401-21749 PWB GUIDE PLATE S-A XL
基板ガイドプレート S − A XL
2
33
#04
401-21750 PWB GUIDE PLATE S-B XL
基板ガイドプレート S − B XL
1
34
#04
401-21748 PWB GUIDE S XL
基板ガイド S XL
3
35
#04
401-21749 PWB GUIDE PLATE S-A XL
基板ガイドプレート S − A XL
2
36
#04
401-21750 PWB GUIDE PLATE S-B XL
基板ガイドプレート S − B XL
1
37 SM-1030501-SC SCREW M3 L=5
皿小ねじ M 3 L =5
2
38
#04
400-40565 Z01 LOWHEAD M3-6
低頭ねじ M 3−06
9
39
#04
SL-6030642-TN SCREW M3 L=6
座金付き六角穴ボルト M 3 L =6
9
40
#04
400-40565 Z01 LOWHEAD M3-6
低頭ねじ M 3−06
9
41
#04
SL-6030642-TN SCREW M3 L=6
座金付き六角穴ボルト M 3 L =6
9

- 151 -
76.PLACEMENT MONITOR COMPONENTS(3)
プレースメントモニタ関係(3)
9
39
40
2
42
18
7
4
3
6
18
43
18
19
1
5
12
27
8
26
28
30
34
20
46
44
45
41
4
13
22
23
23
32
59
62
60
61
50
47
56
5552
51
49
48
54
53
66
63
65
16 17
24 25
26
27
37
67
35
36
11
10
14
15
38
21
31
33
29
57 58