X3_X4_Series machine - 第196页
4 Setting up and commissioning User manual SIPLACE X-Series 4.4 Setting up the placement machine Software Version SR.601.xx 11/2005 US E dition 196 Æ Screw t he thread of the midd le machi ne foot int o the ho le on t he…

User manual SIPLACE X-Series 4 Setting up and commissioning
Software Version SR.601.xx 11/2005 US Edition 4.4 Setting up the placement machine
195
4.4.4.1 Presetting the height of the middle machine feet
The middle machine feet are preset first. The spacer must be bolted to the underside in the correct
position for the machine height.
Setting the PCB transport height to 830 mm 4
You will not need a spacer for a PCB transport height of 830 mm.
Æ Screw the middle machine foot as far as possible into the thread provided (see point 5 in
Fig. 4.4 - 3
).
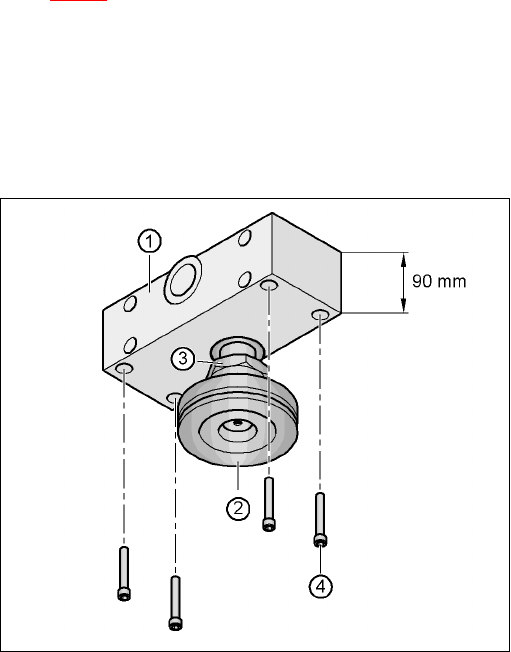
Setting the PCB transport height to 900 mm 4
You will need the spacer for a PCB transport height of 900 mm.
Æ Align the spacer so that the 90 mm side is vertical and the hole for the middle machine foot
points downwards.
4
4
4
4
4
4
4
4
4
4
4
4
Fig. 4.4 - 4 Alignment of the spacer for a transport height of 900 mm
4
(1) Spacer height 90 mm
(2) Middle machine foot
(3) M24 lock nut
(4) Hexagon socket head screw M12x80, 4x

4 Setting up and commissioning User manual SIPLACE X-Series
4.4 Setting up the placement machine Software Version SR.601.xx 11/2005 US Edition
196
Æ Screw the thread of the middle machine foot into the hole on the underside of the spacer.
Æ Align the two spacers on the underside of the machine as follows:
– The opening in the spacer on the pneumatic unit side points in the direction of PCB trans-
port (see point 4 in Fig. 4.4 - 3
on page 194).
– The opening in the spacer on the power supply side points against the direction of PCB
transport (see point 3 in Fig. 4.4 - 3
on page 194).
Æ Fix each spacer using four hexagon socket head screws M12x80 (see point 4 in Fig. 4.4 - 4)
using the size 10 mm screwdriver bit.
Setting the PCB transport height to 930 mm and 950 mm 4
You will also need the spacer for PCB transport heights of 930 mm and 950 mm.
Æ Align the spacer so that the 122.5 mm side is vertical and the hole for the middle machine foot
points downwards.
4
Fig. 4.4 - 5 Alignment of the spacer for transport heights of 930 and 950 mm
4
(1) Spacer height 122.5 mm
(2) Machine foot
(3) M24 lock nut
(4) Hexagon socket head screw M12x80, 4x
122.5 mm

User manual SIPLACE X-Series 4 Setting up and commissioning
Software Version SR.601.xx 11/2005 US Edition 4.4 Setting up the placement machine
197
Æ Screw the thread of the middle machine foot into the hole on the underside of the spacer.
Æ Align the two spacers as follows:
– The opening in the spacer on the pneumatic unit side points in the direction of PCB trans-
port (see point 4 in Fig. 4.4 - 3
on page 194).
– The opening in the spacer on the power supply side points against the direction of PCB
transport (see point 3 in Fig. 4.4 - 3
on page 194).
Æ Fix each spacer using four hexagon socket head screws M12x80 (see point 4 in Fig. 4.4 - 5)
using the size 10 mm screwdriver bit.
4.4.4.2 Presetting the height of the outer machine feet
4
Fig. 4.4 - 6 Presetting the height of the outer machine feet
(1) Machine foot - 2 versions
(2) M24x90 hexagon socket head screw
(3) M24x2x120 adjusting screw