X3_X4_Series machine - 第407页
User manual SIPLAC E X-Series 7 Station extensions Software Vers ion SR.601.xx 11/ 2005 US Ed ition 7.1 Nozzle changer 407 7.1.4.3 T echnical dat a 7 7.1.4.4 Assembly The nozzl e change r is fixed to the com ponent tro l…

7 Station extensions User manual SIPLACE X-Series
7.1 Nozzle changer Software Version SR.601.xx 11/2005 US Edition
406
7.1.4.2 Position of the nozzle changers for the TwinHead on the X2 machine
A nozzle changer for the TwinHead may be installed at locations 1, 2, 3 and 4 (item 1 in Fig. 7.1
- 30). This gives a total capacity of 4 nozzle changers with 48 magazines and a total of 96 nozzle
holders.
7
Fig. 7.1 - 30 Position of the nozzle changers for the TwinHead on the X2 machine
(1) Nozzle changer
(2) Standard magazine
(3) Magazine for special nozzles or grippers
(4) Component reject bin
7
7

User manual SIPLACE X-Series 7 Station extensions
Software Version SR.601.xx 11/2005 US Edition 7.1 Nozzle changer
407
7.1.4.3 Technical data
7
7.1.4.4 Assembly
The nozzle changer is fixed to the component trolley docking unit.
7
Fig. 7.1 - 31 Assembly position
(1) Marking hole
(2) Operator side
(3) Arrow pointing toward the PCB conveyor
7
Nozzle changers for the SIPLACE TwinHead
Dimensions (length x width x height) 448 x 68 x 49 mm³
Number of nozzle holders 16 for standard nozzles
4 for special nozzles or grippers
Nozzle types 5xx, standard
4 xx with adapter
9 xx with adapter
Nozzle changeover time < 2 s

7 Station extensions User manual SIPLACE X-Series
7.1 Nozzle changer Software Version SR.601.xx 11/2005 US Edition
408
Æ Align the nozzle changer so that the marking hole (item 1) is on the left, as viewed by the op-
erator.
7.1.4.5 Description of the functions
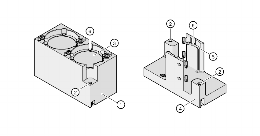
The magazine for standard nozzles has 1 positioning fiducial for position detection, while the mag-
azine for special nozzles/grippers has two. The nozzles are fixed by balls in the holder. They are
then either clamped or released for removal, depending on the direction of rotation of the DP axis.
7
Fig. 7.1 - 32 Magazine for standard and special nozzles
(1) Standard magazine
(2) Positioning fiducial
(3) Nozzle holder
(4) Magazine for special nozzles and grippers
(5) Nozzle holder
(6) Balls for fixing the nozzles