3OM-1434-003_w.pdf - 第124页
3 - 41 0710 - 001 1.5 贴装数据 (D02_06) Z[ ° ] 设定元件贴装角度。 根据带式送料器上元件的包装来决定贴装角度。 例 : 0゜ 270゜ 180゜ 90゜ 0° 45° 90° 135° 180° 225° 270° 315° Fig.3C31 Z ( 角度 ) 送料器安装台 1 时 送料器安装台 2 时 包装 包装 料带的 流动方向 料带的 流动方向 装置背面 送料器上元件的包装 带式送料器 带式送…

3-400710-001
1.5 贴装数据
(D02_04)
P-No.
表示贴装数据 (P) 的步骤编号。
在该步骤编号行设定元件的贴装坐标和贴装角度等数据。
(D02_05)
X、Y[mm]
设定元件的贴装坐标数据 X 和 Y。
设定对应贴装坐标基准 (No) 的坐标。
Y2
Y1
X1
X2
Y
X
Fig.3C30
贴装坐标基准 (No)

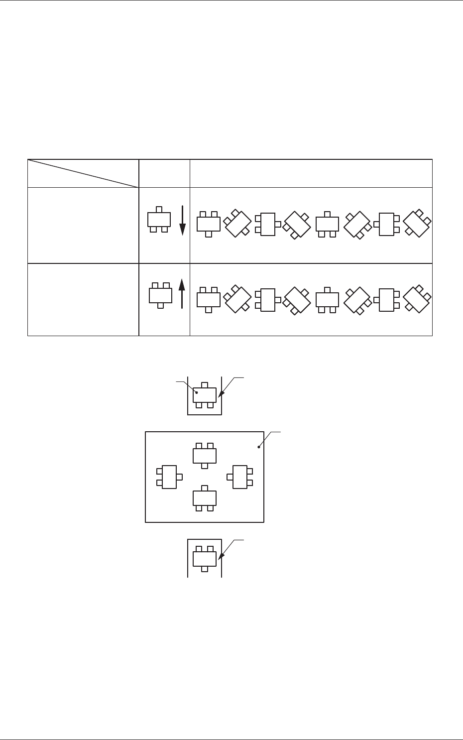
3-410710-001
1.5 贴装数据
(D02_06)
Z[
°
]
设定元件贴装角度。
根据带式送料器上元件的包装来决定贴装角度。
例 :
0゜
270゜
180゜
90゜
0° 45° 90° 135° 180° 225° 270° 315°
Fig.3C31
Z
( 角度 )
送料器安装台 1 时
送料器安装台 2 时
包装
包装
料带的
流动方向
料带的
流动方向
装置背面
送料器上元件的包装
带式送料器
带式送料器
线路板
装置正面

3-420710-001
1.5 贴装数据
(D02_07)
H[mm]
可补正元件的贴装高度。
H
Fig.3C32
Note
在步骤编号的最终行,C( 控制指令 ) 被设定为 E 时,即使设定 H 数
据也无效。
(D02_08)
Fdr No.
设定元件配置的传送器编号。
Note
在此设定的 Fdr No. 必须用元件配置数据设定。
(D02_09)
V
从以下选择线路板识别方法
“
各个识别
”
的数据。
00: 不进行各个识别。
01: 进行各个识别 (1 点识别 )。
02: 进行各个识别 (2 点识别 )。
Note
(a) 将操作数据 (A02_02) 线路板识别方法
“
各个识别
”
设定为
“
识别
”
后,请设定此 V 数据。
(b) 关于
“
各个识别
”
的坐标和标记 No. 的设定,请参照 (D02_12)、
(D02_13)、(D02_14)。
元件
线路板
基准面