xp243 系统手册 - 第262页
4. 机器生产程序 SYS-XP243-2.2S 250 XP-242E/243E 系统手册 Tray First Pickup Posi tion X 请输入从料盘原点 ( 已装载的状态下从 Side1 视角观察在料盘的右下角 ) 吸取第 1 个元件的 坐标 X 方向 的长度。(-250.00mm ~ 0.00mm) Tray First Pickup Posi tion Y 请输入从料盘原点 ( 已装载的状态下从 Side1 视角观…

SYS-XP243-2.2S 4. 机器生产程序
XP-242E/243E 系统手册 249
项目说明
Packaging Name
指定 Packaging Name。最大为不得超过 30 个字符的字符串。
注意 ) 有定位点名不能使用的字符。详细请参考 「第 4 部 第 1 章 1.3 禁止输入字符」。
Packaging Type
单击这个字段显示以下窗口。请单击 [ ▼ ]、从下拉式菜单中选择元件供应的使用项目。
Packaging Type 为料盘以外时请同时指定 Feed Count( 送料次数 )。
Tape Width
料带宽度 (0mm ~ 255mm)
Feed Pitch
设定输送料带的距离。(2mm ~ 100mm)
Tray Type
从以下各项中选择要使用的料盘的类型。
[6]、[7] 不被正式支持 ( 不能编辑 )。但是,设定为 [6]、[7] 的 Packaging 被读入时分别
与 2、4 进行相同的动作。
Tray Length
请输入在安装使用料盘方向上从 Side1 视角观察时的 X 方向的长度。(0.00mm ~ 350.00mm)
Tray Width
请输入在安装使用料盘方向上从 Side1 视角观察时的 Y 方向的长度。(0.00mm ~ 350.00mm)
Tray Thickness
进行料盘自动排出时请输入料盘厚度 (4mm 以上 )。
(0.00mm ~ 25.4mm)
0:Matrix-Dump: 空的状态下重量小于 240g,可用吸取器吸取的料盘。有元件吸取错
误发生时,作为补件动作在同一吸取位置重复吸取动作。进行完指
定的补件次数依然不能吸取时,机器停止运转。
2:No Matrix-
Dump:
空的状态下重量小于 240g,可用吸取器吸取的料盘。有元件吸取错
误发生时,作为补件动作在同一吸取位置重复吸取动作。进行完指
定的补件次数依然不能吸取时,移至下一个吸取位置继续吸取动
作。
4:No Matrix: 空的状态下因重量大于 240g 而不能自动排出的料盘以及吸取器不能
吸取的料盘。发生吸取错误时的补件动作与上述的 No Matrix-Dump
同样。

4. 机器生产程序 SYS-XP243-2.2S
250 XP-242E/243E 系统手册
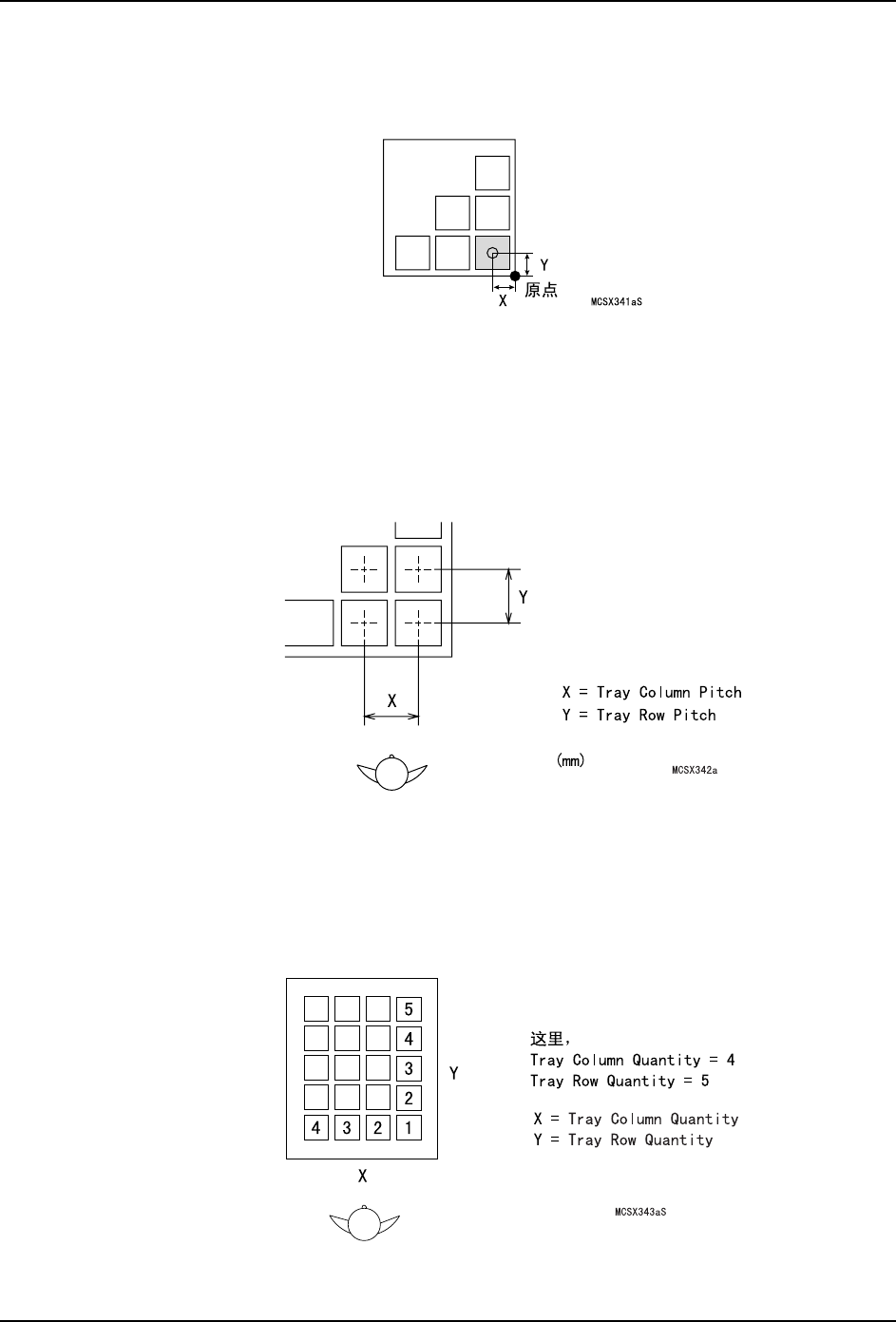
Tray First Pickup Position X
请输入从料盘原点 ( 已装载的状态下从 Side1 视角观察在料盘的右下角 ) 吸取第 1 个元件的
坐标 X 方向的长度。(-250.00mm ~ 0.00mm)
Tray First Pickup Position Y
请输入从料盘原点 ( 已装载的状态下从 Side1 视角观察在料盘的右下角 ) 吸取第 1 个元件的
坐标 Y 方向的长度。(0.00mm ~ 350.00)
Tray Column Pitch
请输入已装载的状态下从 Side1 视角观察到的料盘在 X 方向的孔之间的间距。(0.00 ~
250.00)
Tray Row Pitch
请输入已装载的状态下从 Side1 视角观察到的料盘在 Y 方向的孔之间的间距。(0.00 ~
350.00)
Tray Column Quantity
请输入已装载状态下从 Side1 视角观察到的料盘 X 方向的孔数。(0 ~ 64)

SYS-XP243-2.2S 4. 机器生产程序
XP-242E/243E 系统手册 251
Tray Row Quality
请输入已装载状态下从 Side1 视角观察到的料盘 Y 方向的孔数。
(0 ~ 64)
Tray Dump Pick Position X
请输入排出料盘时吸取坐标的料盘原点到 X 方向的尺寸。
(-250.00mm ~ 0.00mm)
Tray Dump Pick Position Y
请输入排除料盘时吸取坐标的料盘原点到 Y 方向的尺寸。
(0.00mm ~ 350.00mm)
Tray Dump Pick Position Z
请根据需要设定排出空料盘时 Z 方向的修正值。
(-12.8mm ~ 12.7mm)