00197466-01_SM_DLM3-4_Kunde_de - 第56页
Servicearbeiten Stern tauschen 3.17.3 Silikonschläuche am Stern tauschen [003411 83S01] 56 Serviceanleitung SIPLACE Bestückköpfe DLM3/DLM4 ▪ Achten Sie bei der M ontage des Sterns dar auf, dass die Silikon schläuche nich…

Servicearbeiten
3.17.3 Silikonschläuche am Stern tauschen [00341183S01] Stern tauschen
Serviceanleitung SIPLACE Bestückköpfe DLM3/DLM4 55
3.17.3
3.17.3 Silikonschläuche am Stern tauschen [00341183S01]
Silikonschläuche am Stern tauschen [00341183S01]
Ausbau
Einbau
► Der Einbau erfolgt in umgekehrter Reihenfolge. Beachten Sie dabei folgende Punkte:
▪ Kontrollieren Sie den festen Sitz der weißen Anschlussstücke an den Segmenten. Sind diese locker,
dann muss der gesamte Stern getauscht werden.
▪ Achten Sie auf einen gleichmäßigen Abstand zwischen den Schläuchen:
► Bauen Sie den Stern vom Kopf ab.
► Entnehmen Sie die Pinole aus dem Segment des de
-
fekten Schlauches.
► Lösen Sie die Befestigungsschrauben der
Blasluftzuführung (1) und nehmen Sie diese ab.
► Lösen Sie den Schlauch (3) vom Segment (1).
► Ziehen Sie nun das Ventil (2) aus dem Stern heraus.
VORSICHT!
O-Ring
Hinter dem Ventil befindet sich ein O-Ring. Achten Sie
darauf diesen nicht zu verlieren und beim Einbau wieder
anzubringen!
► Lösen Sie den Schlauch vom Ventil.

Servicearbeiten
Stern tauschen 3.17.3 Silikonschläuche am Stern tauschen [00341183S01]
56 Serviceanleitung SIPLACE Bestückköpfe DLM3/DLM4
▪ Achten Sie bei der Montage des Sterns darauf, dass die Silikonschläuche nicht eingeklemmt und
oder beschädigt werden.
VORSICHT!
Werden die Verbindungssilikonschläuche zwischen Ven
-
til und Segment getauscht, so muss unbedingt darauf ge
-
achtet werden, dass sie sich nicht durch gegenseitiges
Berühren (2) vorzeitig zerstören.
Dazu müssen die auf exakte Länge vorbereiteten
Silikonschläuche auf die jeweiligen Anschlussstücke bis
zum Anschlag aufgesteckt werden.
Achten Sie darauf, dass sich die Schläuche nicht
berühren (1). Kontrollieren Sie den Abstand während Sie
alle Segmente ganz nach innen schieben. Im Idealfall
sind die Abstände überall identisch.

Servicearbeiten
3.17.3 Silikonschläuche am Stern tauschen [00341183S01] Sternantrieb tauschen
Serviceanleitung SIPLACE Bestückköpfe DLM3/DLM4 57
3.18
3.18 Sternantrieb tauschen
Sternantrieb tauschen
Teile, Hilfsmittel und Werkzeug
▪ Sternmotor komplett DLM1, DLM2 [03020626-xx]
▪ Sternmotor komplett DLM3, DLM4 [03031187-xx]
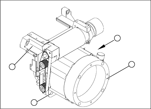
Übersicht
Vorbereitung
► Bauen Sie den Kopf aus der Maschine aus. Für den Aus- und Einbau des Bestückkopfes lesen Sie
die Serviceanleitung Ihrer Maschine.
Ausbau
► Demontieren Sie den Zwischenverteiler (siehe "3.4 Zwischenverteiler tauschen" [ ➙ 24]).
► Demontieren Sie das Kopf-Vorderteil (siehe "3.2 Kopf-Vorderteil Aus-/Einbau" [ ➙ 19]).
► Demontieren Sie den Stern (siehe "3.17 Stern tauschen" [ ➙ 52]).
► Lösen Sie die vier Innensechskantschrauben M5x16 (2).
► Heben Sie den Sternantrieb vom Kopf-Vorderteil ab.
Einbau
► Setzen Sie den Sternmotor so auf das Kopf-Vorderteil, dass das Anschlusskabel des Sternantriebs
auf die mit (A) bezeichnete Position zeigt.
► Befestigen Sie den Sternantrieb mit den vier Innensechskantschrauben M5x16 (2).
► Montieren und justieren Sie den Stern (siehe Nullpunktkorrektur).
► Sollte sich die Nullpunktkorrektur nicht korrekt einstellen lassen, lockern Sie die vier Stern-Motor
-
schrauben und verdrehen Sie den Sternmotor in die entsprechende Richtung innerhalb der Befesti
-
gungstoleranz.
► Montieren Sie das Kopf-Vorderteil.
► Der weitere Einbau erfolgt in umgekehrter Reihenfolge.
1. Sternantrieb digital (DLM3, DLM4)
2. Innensechskantschraube M5x16 (4x)
3. Kopf-Vorderteil
(A) Anschlusskabel des Sternantriebs
A
1
3
2