00197466-01_SM_DLM3-4_Kunde_de - 第57页
Servicearbeiten 3.17.3 Silikonschläuche am Stern tauschen [00341183S01] Sternant rieb tauschen Serviceanleitung SIPLACE Bestückköpfe DLM3/DLM4 57 3.18 3 . 1 8 S t e r n a n t r ie b t a u s c h e n Sternantrieb tauschen …

Servicearbeiten
Stern tauschen 3.17.3 Silikonschläuche am Stern tauschen [00341183S01]
56 Serviceanleitung SIPLACE Bestückköpfe DLM3/DLM4
▪ Achten Sie bei der Montage des Sterns darauf, dass die Silikonschläuche nicht eingeklemmt und
oder beschädigt werden.
VORSICHT!
Werden die Verbindungssilikonschläuche zwischen Ven
-
til und Segment getauscht, so muss unbedingt darauf ge
-
achtet werden, dass sie sich nicht durch gegenseitiges
Berühren (2) vorzeitig zerstören.
Dazu müssen die auf exakte Länge vorbereiteten
Silikonschläuche auf die jeweiligen Anschlussstücke bis
zum Anschlag aufgesteckt werden.
Achten Sie darauf, dass sich die Schläuche nicht
berühren (1). Kontrollieren Sie den Abstand während Sie
alle Segmente ganz nach innen schieben. Im Idealfall
sind die Abstände überall identisch.

Servicearbeiten
3.17.3 Silikonschläuche am Stern tauschen [00341183S01] Sternantrieb tauschen
Serviceanleitung SIPLACE Bestückköpfe DLM3/DLM4 57
3.18
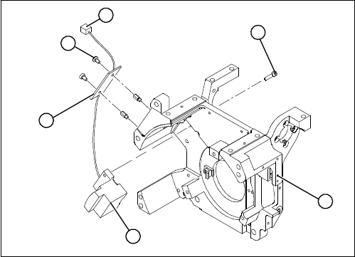
3.18 Sternantrieb tauschen
Sternantrieb tauschen
Teile, Hilfsmittel und Werkzeug
▪ Sternmotor komplett DLM1, DLM2 [03020626-xx]
▪ Sternmotor komplett DLM3, DLM4 [03031187-xx]
Übersicht
Vorbereitung
► Bauen Sie den Kopf aus der Maschine aus. Für den Aus- und Einbau des Bestückkopfes lesen Sie
die Serviceanleitung Ihrer Maschine.
Ausbau
► Demontieren Sie den Zwischenverteiler (siehe "3.4 Zwischenverteiler tauschen" [ ➙ 24]).
► Demontieren Sie das Kopf-Vorderteil (siehe "3.2 Kopf-Vorderteil Aus-/Einbau" [ ➙ 19]).
► Demontieren Sie den Stern (siehe "3.17 Stern tauschen" [ ➙ 52]).
► Lösen Sie die vier Innensechskantschrauben M5x16 (2).
► Heben Sie den Sternantrieb vom Kopf-Vorderteil ab.
Einbau
► Setzen Sie den Sternmotor so auf das Kopf-Vorderteil, dass das Anschlusskabel des Sternantriebs
auf die mit (A) bezeichnete Position zeigt.
► Befestigen Sie den Sternantrieb mit den vier Innensechskantschrauben M5x16 (2).
► Montieren und justieren Sie den Stern (siehe Nullpunktkorrektur).
► Sollte sich die Nullpunktkorrektur nicht korrekt einstellen lassen, lockern Sie die vier Stern-Motor
-
schrauben und verdrehen Sie den Sternmotor in die entsprechende Richtung innerhalb der Befesti
-
gungstoleranz.
► Montieren Sie das Kopf-Vorderteil.
► Der weitere Einbau erfolgt in umgekehrter Reihenfolge.
1. Sternantrieb digital (DLM3, DLM4)
2. Innensechskantschraube M5x16 (4x)
3. Kopf-Vorderteil
(A) Anschlusskabel des Sternantriebs
A
1
3
2

Servicearbeiten
RSF digitalen Drehgeber tauschen (DP-Achse) [00335990-xx] 3.17.3 Silikonschläuche am Stern tauschen [00341183S01]
58 Serviceanleitung SIPLACE Bestückköpfe DLM3/DLM4
3.19
3.19 RSF digitalen Drehgeber tauschen (DP-Achse) [00335990-xx]
RSF digitalen Drehgeber tauschen (DP-Achse) [00335990-xx]
Teile, Hilfsmittel und Werkzeug
▪ Digitaler Drehgeber C&P12/DLM[00335990-xx]
Übersicht
Vorbereitung
► Bauen Sie den Kopf aus der Maschine aus. Für den Aus- und Einbau des Bestückkopfes lesen Sie
die Serviceanleitung Ihrer Maschine.
Ausbau
► Demontieren Sie das Kopf-Vorderteil (siehe "3.2 Kopf-Vorderteil Aus-/Einbau" [ ➙ 19]).
► Entfernen Sie die schwarze Abdeckkappe über der RSF-Platine (4).
► Ziehen Sie den Stecker (6) vom Steckplatz des Zwischenverteilers ab.
► Lösen Sie die beiden Innensechskantschrauben M2,5x4 (5) zur Befestigung der RSF-Platine.
► Demontieren Sie den Griff des Kopfes.
► Lösen Sie die beiden Innensechskantschrauben M2,5x8 (3) und entnehmen Sie den digitalen Dreh
-
geber.
Einbau
► Setzen Sie den neuen Drehgeber ein und befestigen Sie ihn zunächst nur lose mit den beiden In
-
nensechskantschrauben M2,5x8 (3).
► Montieren Sie den Griff des Kopfes.
► Setzen Sie eine Pinole in den Stern ein und drehen Sie den Stern mit der Pinole bis zum Drehgeber.
► Fixieren Sie den Stern in dieser Position mit der Lehre für den Stern.
1. Kopf-Vorderteil
2. RSF digitaler Drehgeber 12/DLM3
3. Innensechskantschraube M2,5x8 (2x)
4. Platine RSF, Typ 950
5. Innensechskantschraube M2,5x4 (2x)
6. Stecker auf den Steckplatz des Zwischenverteilers
1
6
5
4
3
2